LEMON Manuals: Even more car manuals for everyone
Home >> BMW >> 2003 >> M3 2D Convertible >> Repair and Diagnosis >> Accessories & Equipment >> Memory Modules >> General Electrical System - Repair >> Plug Connections, Terminals >> 61 13 ... Relay Carrier

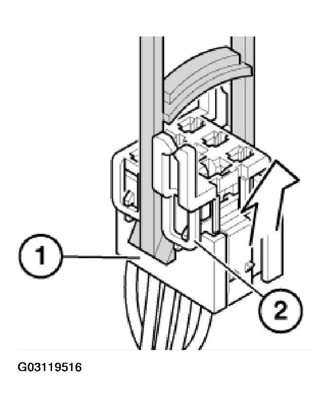
61 13 ... Relay Carrier

Place special tool 61 1 153 on relay carrier (1) and carefully pull in direction of arrow until retaining lugs (2) on relay carrier are raised.

Fig 1: Raising Retaining Lugs On Relay Carrier
G03119516Courtesy of BMW OF NORTH AMERICA, INC.

Pull relay carrier (2) in direction of arrow into first catch (3).

Fig 2: Pulling Relay Carrier Into First Catch
G03119517Courtesy of BMW OF NORTH AMERICA, INC.

Press down arrester hook (4) of appropriate contact and pull out cable with contact.

Fig 3: Pressing Down Arrester Hook
G03119518Courtesy of BMW OF NORTH AMERICA, INC.

Press out double flat spring contact with special tool 61 1 136 or 61 1 137 (ejector).