LEMON Manuals: Even more car manuals for everyone
Home >> BMW >> 2003 >> 745Li >> Repair and Diagnosis (Single Page) >> Electrical >> Charging Systems >> General Electrical System - Repair Instructions >> Plug Connection, Terminals >> 61 13... Relay carrier

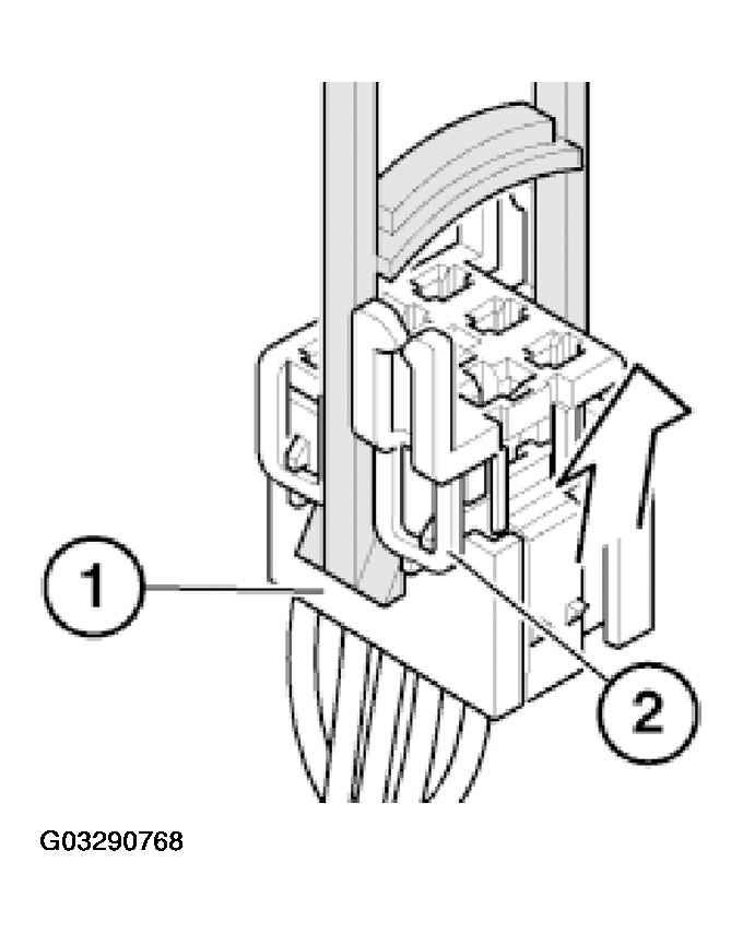
61 13... Relay carrier

Place special tool 61 1 153 on relay carrier (1) and carefully pull in direction of arrow until retaining lugs (2) on relay carrier are raised.

Fig 1: Raising Retaining Lugs
G03290768Courtesy of BMW OF NORTH AMERICA, INC.

Pull relay carrier (2) in direction of arrow into first catch (3).

Fig 2: Pulling Relay Into First Catch
G03290769Courtesy of BMW OF NORTH AMERICA, INC.

Press down arrester hook (4) of appropriate contact and pull out cable with contact.

Press out double flat spring contact with special tool 61 1 136 or 61 1 137 (ejector).

Fig 3: Removing Cable
G03290770Courtesy of BMW OF NORTH AMERICA, INC.