LEMON Manuals: Even more car manuals for everyone
Home >> BMW >> 2000 >> X5 >> Repair and Diagnosis >> Engine Performance >> System >> Ms42/Ms43 - Overview >> Ms42/Ms43 >> Fuel Management >> Notes

Fuel Management: Notes

Fig 1: Identifying Fuel Management
G03394337

Fuel Tank:  The fuel tank is made of high density polyethylene (reduced weight) which is manufactured to meet safety requirements.

A mid-chassis mounted "saddle" type tank is used (E46, E39, E53) which provides a tunnel for the driveshaft but creates two separate low spots in the tank.

A Siphon jet is required with this type of tank to transfer fuel from the left side, linked to the fuel return line.

As fuel moves through the return, the siphon jet creates a low pressure (suction) to pick up fuel from the left side of the tank and transfer it to the right side at the fuel pick up.

The Z3 uses a conventional type fuel tank that is mounted between the seats and the luggage compartment. The Z3 has a single sending unit that (with the fuel pump) is accessed from behind the passenger seat.

Fig 2: Identifying Fuel Tank & Components
G03394338

Fuel Pump:  The electric fuel pump supplies constant fuel volume to the injection system. This system uses a single submersible (in the fuel tank) pump. The inlet is protected by a mesh screen.

When the fuel pump is powered, the armature will rotate the impeller disc creating low pressure at the inlet. The fuel will be drawn into the inlet and passed through the fuel pump housing (around the armature). The fuel lubricates and cools the internals of the pump motor.

The fuel will exit through a non-return check valve to supply the injection system. The non-return check valve is opened by fuel exiting the pump and will close when the pump is deactivated. This maintains a "prime" of fuel in the filter, lines, hoses and fuel rail.

The pump contains an internal overpressure relief valve that will open (reducing roller cell pressure) if there is a restriction in the fuel supply hardware.

Fuel Supply Components:  The fuel is transferred from the fuel pump to the fuel filter. The fuel filter "traps" contaminants before they reach the fuel injectors and should be replaced at the specified interval. The arrow on the filter denotes the installation direction (under the driver side floor). The large filter size also serves as a volume reservoir for pressurized fuel (dampening fuel pump pulsations).

Fig 3: Identifying Fuel Filter Arrow
G03394340

MS42 Running Losses  refers to the fuel vapors that can escape to the atmosphere during vehicle operation. The fuel pump delivers more volume than the injection system requires. The unused fuel is routed through a return line to the tank at the fuel pressure regulator integrated in the Running Losses 3/2 Way Valve under the driver side floor. The fuel is constantly circulated in this manner.

Using the by-pass type regulator reduces the returned fuel temperature to the tank.

Fig 4: Identifying Three Way Valve Assembly
G03394341

MS42 Running Losses Fuel Supply:  The ECM controls the operation of the Running Losses Fuel Circuit by activating the by-pass solenoid. The solenoid is energized for 20 seconds on engine start up to supply full fuel volume to the fuel rail. After 20 seconds, the solenoid is deactivated and sprung closed (the by-pass is opened). This reduces the amount of fuel circulating through the fuel rail and diverts the excess to return through the fuel pressure regulator.

The fuel injectors are provided with regulated fuel for injection but the returned fuel by-passes the engine compartment fuel rail thus lowering the temperature and amount of vaporization that takes place in the fuel tank.

The solenoid is also activated momentarily if an engine misfire is detected. This function provides full fuel flow through the fuel rail to determine if the misfire was caused by a lean fuel condition. The solenoid is monitored by the ECM for faults.

Fig 5: Identifying MS42 Running Losses Fuel Supply
G03394342

MS43 Fuel Supply:  The fuel is supplied through a Non Return Fuel Rail System. This system meets Running Loss compliance without the use of the 3/2 Way Valve.

The fuel supply pressure is controlled by the 3.5 Bar fuel pressure regulator integrated in the fuel filter assembly. The regulator is influenced by internal fuel pressure and not intake manifold vacuum. The fuel exits the fuel pressure regulator supplying the fuel rail and the injectors. The fuel filter assembly is located under the left front floor area (next to the frame rail).

The fuel return line is located on the filter/regulator assembly which directs the unused fuel back to the fuel tank. The fuel tank hydrocarbons are reduced by returning the fuel from this point (lower temperatures) instead of from the fuel rail.

Fig 6: Identifying MS43 Fuel Supply
G03394343

The fuel rail distributes an even supply of fuel to all of the injectors, and also serves as a volume reservoir. The fuel rail is secured by bolts to the intake manifold.

Fuel Pressure Regulator:  The Fuel Pressure Regulator maintains a constant pressure for the fuel injectors. The fuel pressure is set to 3.5 bar (+/- 0.2) by internal spring tension on the restriction valve. The attached fuel pressure regulator is not influenced by vacuum.

The ECM determines the fuel quantity compensation for manifold vacuum changes. This is based on throttle position, HFM and load for precise compensation.

A small hose is routed to the crankcase cyclone separator (in case of regulator diaphragm leakage). When the restriction valve opens, unused fuel returns from the regulator/filter assembly back to the fuel tank.

Fig 7: Identifying Fuel Pressure Regulator
G03394344

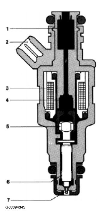
Siemens Fuel Injectors:  The Fuel Injectors are electronically controlled solenoid valves that provide precise metered and atomized fuel into the engine intake ports. The Fuel Injector Valve consists of:

  1. Fuel Strainer 
  2. Electrical Connector 
  3. Solenoid Winding 
  4. Closing Spring 
  5. Solenoid Armature 
  6. Needle Valve 
  7. Pintle 
  8. Fig 8: Identifying Siemens Fuel Injector Components
    G03394345

Fuel is supplied from the fuel rail to the injector body. The fuel is channeled through the injector body to the needle valve and seat at the tip of the injector. Without electrical current, the needle valve is sprung closed against the seat.

The Fuel Injectors receive voltage from the ECM Relay. The ECM activates current flow through the injector solenoid creating a magnetic field that pulls the needle "up" off of its seat. The pressurized fuel flows through the tip of the injector that is fitted with a directional angle "plate" with dual outlets. This "fans out" the spray into an angled patterns which helps to atomize the fuel. When the ECM deactivates current flow, the needle valve is sprung closed against the seat and fuel flow through the injector is stopped. The lower portion of the injector body is jacketed in metal.

The length of time that the ECM activates the Fuel Injectors is very brief, the duration is in milli-seconds (ms). This affects the mount of fuel volume flowing through the Fuel Injectors. The ECM will vary the length of time (ms) to regulate the air/fuel ratio (mixture).

Fig 9: Identifying Lower Portion Of Injectors
G03394346

A Fuel Injector is faulty (mechanical or electrical), it can produce the following complaints:

Crankshaft Position/RPM Sensor (Hall Effect):  This sensor provides the crankshaft position and engine speed (RPM) signal to the ECM for fuel pump and Injector operation.

A Hall sensor is mounted on the left side at the rear of the engine block. The impulse wheel is mounted on the crankshaft inside the crankcase, at the rear main bearing support. The impulse wheel contains 58 teeth with a gap of two missing teeth.

The Hall sensor is supplied with voltage from the ECM. A digital square wave signal is produced by the sensor as the teeth of the impulse wheel pass by. The "gap" allows the ECM to establish crankshaft position.

Fig 10: Identifying Crankshaft Position/RPM Sensor (Hall Effect)
G03394347

The crankshaft position sensor is monitored as part of OBD II requirements for Misfire Detection. If this input is faulty, the ECM will operate the engine (limited driveability) from the Camshaft Sensor input. A fault with this input will produce the following complaints:

Camshaft Sensors - Intake and Exhaust Camshafts 

The "static" Hall sensors are used so that the camshaft positions are recognized once ignition is on (KL15) before the engine is started. The function of the intake cam sensor is:

Fig 11: Identifying Camshaft Sensors - Intake And Exhaust Camshafts
G03394348

The exhaust cam sensor is used for VANOS position control of the exhaust cam. If these sensors fail there are no substitute values, the system will operate in the failsafe mode with no VANOS adjustment. The engine will still operate, but torque reduction will be noticeable.

NOTE: Use caution on repairs as not to bend the impulse wheels.

Engine Coolant Temperature:  The Engine Coolant Temperature is provided to the ECM from an NTC type sensor located in the coolant jacket of the cylinder head (left rear). The sensor contains two NTC elements, the other sensor is used for the instrument cluster temperature gauge.

The ECM determines the correct air/fuel mixture required for the engine temperature by monitoring an applied voltage to the sensor (5v). This voltage will vary (0-5v) as coolant temperature changes the resistance value.

Fig 12: Identifying Engine Coolant Temperature
G03394349

If the Coolant Temperature Sensor input is faulty, a fault code will be set the ECM will assume a substitute value (80° C) to maintain engine operation.

Throttle Position:  As the throttle is opened, the ECM will increase the volume of fuel injected into the engine. As the throttle plate is closed, the ECM activates fuel shut off if the RPM is above idle speed (coasting).

Hot-Film Air Mass Meter (HFM):  The air volume input signal is used by the ECM to determine the amount of fuel to be injected for correct air/fuel ratio.

Air Temperature:  This signal allows the ECM to make a calculation of air density.

The varying voltage input from the NTC sensor indicates the larger proportion of oxygen found in cold air, as compared to less oxygen found in warmer air. The ECM will adjust the amount of injected fuel because the quality of combustion depends on oxygen sensing ratio.