LEMON Manuals: Even more car manuals for everyone
Home >> BMW >> 2000 >> X5 >> Repair and Diagnosis (Single Page) >> Accessories & Equipment >> Memory Modules >> General Electrical System - Repair Instructions - X5 (4.4L) >> Plug Connections Terminals >> 61 13 ... Repairing Ribbon Cables

61 13 ... Repairing Ribbon Cables

Special tools required: 

Place ribbon cables (1) in connector housing (2) and close cover (3).

Fig 1: Placing Ribbon Cables In Connector Housing
G03253577Courtesy of BMW OF NORTH AMERICA, INC.

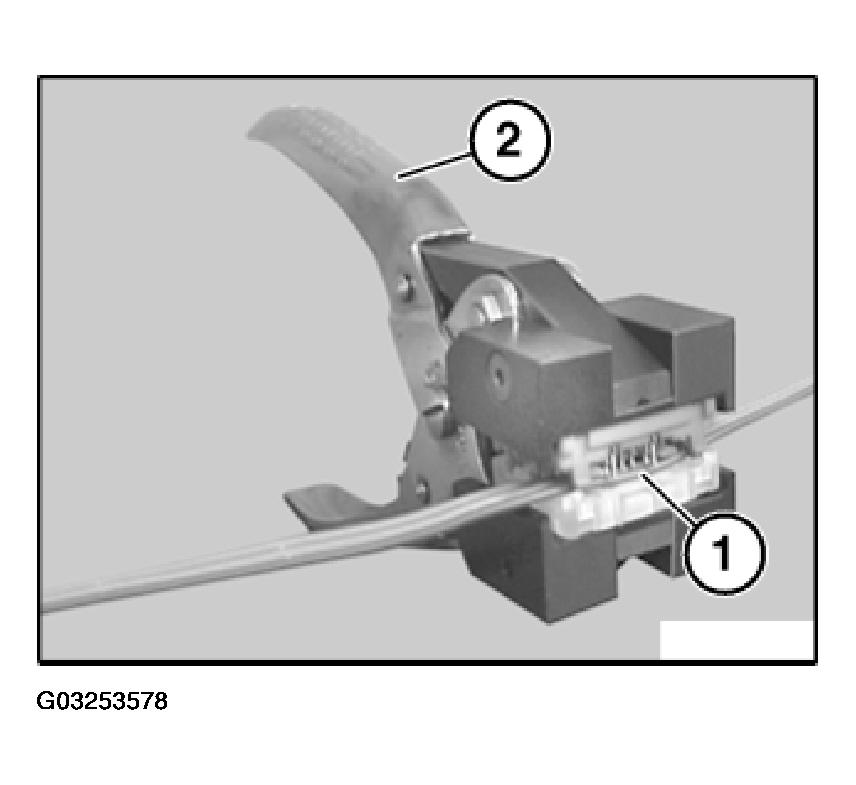
Place connector housing (1) in pliers (2) 61 1 190.

Fig 2: Placing Connector Housing In Pliers
G03253578Courtesy of BMW OF NORTH AMERICA, INC.

Close pliers (2).