LEMON Manuals: Even more car manuals for everyone
Home >> BMW >> 2000 >> X5 >> Repair and Diagnosis (Single Page) >> Accessories & Equipment >> Memory Modules >> General Electrical System - Repair Instructions - X5 (4.4L) >> Plug Connections Terminals >> 61 13 ... Relay Carrier

61 13 ... Relay Carrier

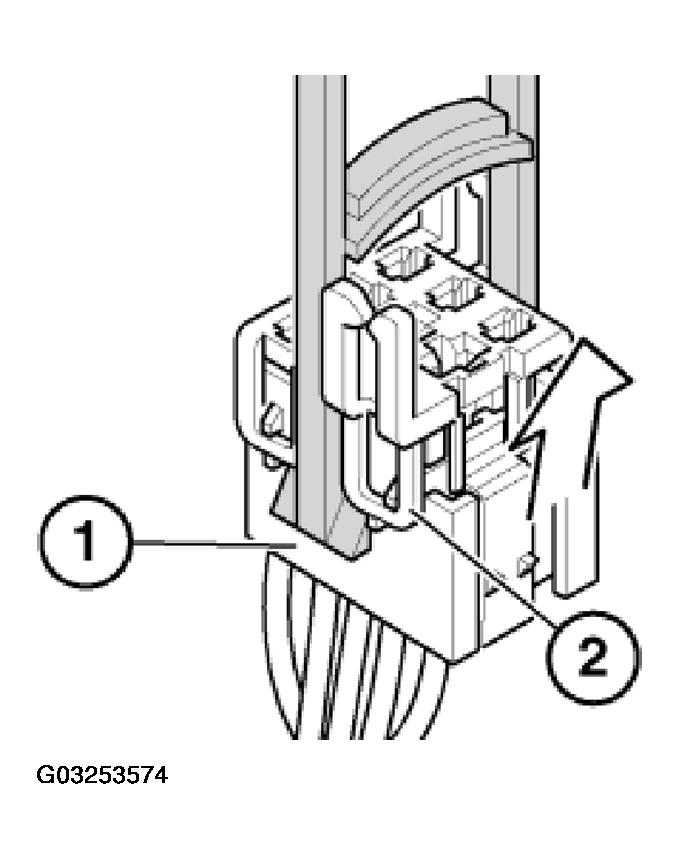
Place special tool 61 1 153 on relay carrier (1) and carefully pull in direction of arrow until retaining lugs (2) on relay carrier are raised.

Fig 1: Placing Special Tool On Relay Carrier
G03253574Courtesy of BMW OF NORTH AMERICA, INC.

Pull relay carrier (2) in direction of arrow into first catch (3).

Fig 2: Pulling Relay Carrier
G03253575Courtesy of BMW OF NORTH AMERICA, INC.

Press down arrester hook (4) of appropriate contact and pull out cable with contact.

Fig 3: Removing Cable
G03253576Courtesy of BMW OF NORTH AMERICA, INC.

Press out double flat spring contact with special tool 61 1 136 or 61 1 137 (ejector).