LEMON Manuals: Even more car manuals for everyone
Home >> BMW >> 2000 >> 740i >> Repair and Diagnosis (Single Page) >> Steering >> Manual Steering >> Steering And Wheel Alignment - Repair >> Electronic Chassis >> 32 00... General information and definitions >> Wheel offset

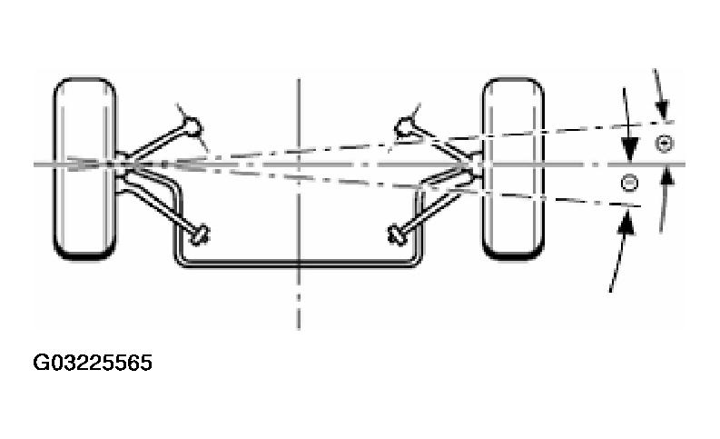
Wheel offset

Angle by which one front wheel is displaced more towards front or rear than the other front wheel.

Fig 1: Identifying Wheel Offset Angle
G03225565Courtesy of BMW OF NORTH AMERICA, INC.