LEMON Manuals: Even more car manuals for everyone
Home >> BMW >> 1997 >> 328is Standard >> Repair and Diagnosis >> Engine Performance >> Remove, Overhaul & Install >> Engine Controls - Remove/Install/Overhaul >> Fuel System >> Fuel Pump >> Installation

Fuel Pump: Installation

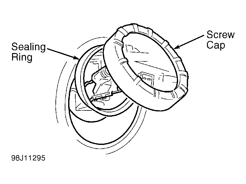
Ensure height sensor is pressed onto inside face of fuel baffle. Rotate screen and float into fuel tank. Ensure marker rib on fuel pump unit aligns with mark on fuel tank. Install new sealing ring. Tighten screw cap. To complete installation, reverse removal procedure.

Fig 1: Removing Screw Cap & Sealing Ring
G98J11295Courtesy of BMW OF NORTH AMERICA, INC.


  1. To prevent torsional stress, align spiral hose and cable between fuel level sensor and fuel pump. See Figure. Install unit in fuel tank, ensuring both retaining hooks are aligned.
  2. Ensure "O" ring is correctly aligned on intake neck. Tighten screw cap until notch can be heard and felt to engage in toothed section on tank. To complete installation, reverse removal procedure.