LEMON Manuals: Even more car manuals for everyone
Home >> BMW >> 1996 >> M3 >> Repair and Diagnosis >> Engine Performance >> System >> Engine Control - Overview >> Ms41.1/Ms41.2 >> Ignition Management >> Notes

Ignition Management: Notes

Fig 1: Identifying Ignition Management
G03394177

Ignition Coils:  The high voltage supply required to ignite the mixture in the combustion chambers is determined by the stored energy in the ignition coils. The stored energy contributes to the ignition duration, ignition current and rate of high voltage increase. The Coil circuit including primary and secondary components consists of:

  1. Coil Assembly 
    • Primary Winding 
    • Secondary Winding 
  2. Resistor (Boot Connector) 
  3. Spark Plug 
  4. ECM Final Stage Transistor 
  5. Secondary Coil Ground with 235 ohm resistor 
Fig 2: Identifying Coil Assembly
G03394178

The Coil Assembly contains two copper windings insulated from each other. One winding is the primary winding, formed by a few turns of thick wire. The secondary winding is formed by a great many turns of thin wire.

The primary winding receives battery voltage from the ignition switch (KL 15), or Ignition Coil Power Relay (>9/97 activated by the ignition switch KL15). The ECM provides a ground path for the primary coil (Terminal 1) by activating a Final Stage transistor. The length of time that current flows through the primary winding is the "dwell" which allows the coil to "saturate" or build up a magnetic field. After this storage process, the ECM will interrupt the primary circuit at the point of ignition by deactivating the Final Stage transistor. The magnetic field built up within the primary winding collapses and induces the ignition voltage in the secondary winding.

The voltage generated in the secondary winding is capable of 50,000 volts (50 KV). The high voltage is discharged (Terminal 4) through the secondary ignition spark plug connector (boot) to the spark plug.

The primary and secondary windings are uncoupled, therefore, the secondary winding requies a ground supply (Terminal 4a).

The secondary grounds through a "shunt resistor" (approximately 235 ohms). The secondary ground is also supplied to the ECM which allows monitoring of secondary ignition. The resistor is located in the wiring tray on top of the cylinder head cover.

Fig 3: Testing Coil Assembly
G03394179

As the secondary magnetic field collapses, a voltage spike is induced in the windings. The ECM monitors the voltage drop across the resistor as an indication of coil firing. After the ECM activates the primary ignition, this feedback signal (Terminal 4a Signal)  is confirmation that secondary ignition took place. The ECM measures the duration of time it takes the voltage drop for each ignition coil to dissipate below two volts. The time scale constantly changes based on engine RPM.

If the signal is missing, an ignition coil fault will be set for that cylinder. If multiple signals are missing, a feedback circuit fault will be set. If the ground circuit is defective, a ground fault will be set.

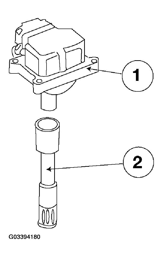
There is an individual ignition circuit and coil for each cylinder on the MS41.X system.

The six individual ignition coils (1) are coupled to spark plug connectors (2) which contain a resistor. The assemblies are mounted on top of the cylinder head cover.

There are two manufacturers of ignition coils: Bremi and Bosch.

Fig 4: Identifying Spark Plug Connectors
G03394180

Spark Plugs:  The spark plugs introduce the ignition energy into the combustion chamber. The high voltage "arcs" across the air gap in the spark plug from the positive electrode to the negative electrode. This creates a spark which ignites the combustible air/fuel mixture.

The spark plugs are located in the center of the combustion area (on the top of the cylinder head) which is the most suitable point for igniting the compressed air/fuel mixture.

Fig 5: Identifying Spark Plugs
G03394181

The correct spark plugs for this system are:

NOTE: The High Performance Platinum Spark Plugs are also approved for use.
Fig 6: Identifying Platinum Spark Plugs
G03394182

Faults with the Ignition Output Components  are monitored by the ECM. If there are faults with the ignition coil(s) output and/or spark plugs, the following complaints could be encountered:

The ignition is monitored by the ECM via the secondary ignition feedback circuit and Crankshaft Position/RPM Sensor. If a Misfire fault is present, the "CHECK ENGINE" Light will illuminate when the OBD II criteria is achieved and the ECM will deactivate the corresponding fuel injector for that cylinder. Engine operation will still be possible.

Knock Sensors:  are required to prevent detonation (pinging) from damaging the engine. The Knock Sensor is a piezoelectric conductor-sound microphone. The ECM will retard the ignition timing (cylinder selective) based on the input of these sensors. Detonation can occur due to:

The Knock Sensor consists of:

  1. Shielded Wire 
  2. Cup Spring 
  3. Seismic Mass 
  4. Housing 
  5. Inner Sleeve 
  6. Piezo-Ceramic Element 
Fig 7: Identifying Knock Sensor Components
G03394183

A piezo-ceramic ring is clamped between a seismic mass and the sensor body. When the seismic mass senses vibration (flexing), it exerts a force on the peizo-ceramic element. Opposed electrical charges build up on the upper and lower ceramic surfaces which generates a voltage signal. The acoustic vibrations are converted into electrical signals. These low voltage signals are transmitted to the ECM for processing.

There are two Knock Sensors bolted to the engine block on the intake manifold side, (1) between cylinders 1 - 3 and (2) between cylinders 4 - 6. If the signal value exceeds the threshold, the ECM identifies the "knock" and retards the ignition timing for that cylinder.

If a fault is detected with the sensor(s), the ECM deactivates Knock Control. The "CHECK ENGINE" Light will be illuminated when the OBD II criteria is achieved, the ignition timing will be set to a conservative basic setting and a fault will be stored.

Crankshaft Position/RPM Sensor:  This sensor provides the crankshaft position and engine speed (RPM) signal to the ECM for ignition activation and correct timing. This input is also monitored for Misfire Detection. For details about the sensor, refer to the FUEL MANAGEMENT  section.

A fault with this input will produce the following complaints:

Fig 8: Testing Crankshaft Position/RPM Sensor
G03394185

Camshaft Position Sensor (Cylinder Identification):  The cylinder ID sensor input allows the ECM to determine camshaft position in relation to crankshaft position. It is used by the ECM to establish the "working cycle" of the engine for precise ignition timing. For details about the sensor, refer to the FUEL MANAGEMENT  section.

If the ECM detects a fault with the Cylinder ID Sensor, the "CHECK ENGINE" Light will be illuminated when the OBD II criteria is achieved and the system will still operate precise single ignition  based on the Crankshaft Position/RPM Sensor.

If the signal is impaired during a restart, the ECM will activate "double ignition".  The ignition coils will be activated on both the compression and exhaust strokes to maintain engine operation.

Fig 9: Testing Camshaft Position Sensor (Cylinder Identification)
G03394186

Engine Coolant Temperature:  The ECM determines the correct ignition timing required for the engine temperature. For details about the sensor, refer to the FUEL MANAGEMENT  section. This sensor is located in the coolant jacket of the cylinder head.

If the Coolant Temperature Sensor input is faulty, the "CHECK ENGINE" Light will be illuminated when the OBD II criteria is achieved and the ECM will assume a substitute value (80°C) to maintain engine operation. The ignition timing will be set to a conservative basic setting.

Fig 10: Testing Engine Coolant Temperature
G03394187

Throttle Position Sensor:  This sensor provides the ECM with throttle angle position and rate of movement. As the throttle is opened the ECM will advance the ignition timing. The "full throttle" position indicates maximum acceleration to the ECM, the ignition will be advanced for maximum torque. For details about the sensor, refer to the AIR MANAGEMENT  section.

If the Throttle Position input is defective, a fault code will be set and the "Check Engine" Light will illuminate when the OBD II criteria is achieved. The ECM will maintain engine operation based on the HFM and the Engine Speed Sensor, and the ignition timing will be set to a conservative basic setting.

Fig 11: Testing Throttle Position Sensor
G03394188

Hot-Film Air Mass Meter:  This input is used by the ECM to determine the amount of ignition timing advance based on the amount of intake air volume. For details about the sensor, refer to the AIR MANAGEMENT  section.

If this input is defective, a fault code will be set and the "CHECK ENGINE" Light will illuminate when the OBD II criteria is achieved. The ECM will maintain engine operation based on the Throttle Position Sensor and Engine Speed Sensor, and the ignition timing will be set to a conservative basic setting.

Fig 12: Testing Hot-Film Air Mass Meter
G03394189

Air Temperature:  This signal allows the ECM to make a calculation of air density. The sensor is located in the intake manifold behind the throttle housing. For details about the sensor, refer to the AIR MANAGEMENT  section.

The ECM will adjust the ignition timing based on air temperature. If the intake air is hot the ECM retards the ignition timing to reduce the risk of detonation. If the intake air is cooler, the ignition timing will be advanced.

If this input is defective, a fault code will be set and the "Check Engine" Light will illuminate when the OBD II criteria is achieved. The ignition timing will be set to a conservative basic setting.

Fig 13: Testing Air Temperature
G03394190