LEMON Manuals: Even more car manuals for everyone
Home >> Audi >> 2021 >> S4 Premium Plus >> Repair and Diagnosis >> External Pages >> Different car >> Section 84 (Engine Assembly 2.0L (DPAA)) >> 10 Engine Assembly >> Assembly Mounts >> Transmission Mount, Removing And Installing >> Rear Transmission Mount, Removing And Installing, Version 2

Rear Transmission Mount, Removing And Installing, Version 2

WARNING: This page is about a different car, the 2022 Audi A4 Quattro and 2021 Audi A4 Quattro. However, it is still accessible from the selected car via links, so may be relevant.

Transmission Support, Removing with Transmission Mount 

GWWA10-12253Courtesy of AUDI OF AMERICA, LLC

-- Remove the tunnel crossmember. Refer to OVERVIEW - ASSEMBLY MOUNTS .

-- Remove the bolts -arrows- and remove the transmission support with the transmission mount from the transmission (example image).

Transmission Mount, Removing 

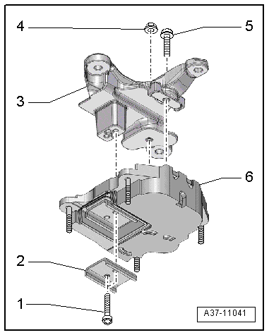
Fig 1: Identifying Bolts, Nut, Transmission Mount And Transmission Support
GWWA37-11041Courtesy of AUDI OF AMERICA, LLC

-- Remove the bolts -1- and remove the stop -2- for the transmission mount.

-- Remove the nut -4- and the bolt -5-, and remove the transmission mount -6- from the transmission support -3- (example image).

Installing 

Install in the reverse order of removal while noting the following:

-- First tighten the nut -4- and bolt -5- hand-tight.

-- Tighten the bolts -1- for the stop -2-.

-- Then tighten the nut -4- and bolt -5-.

Tightening Specifications