LEMON Manuals: Even more car manuals for everyone
Home >> Audi >> 2014 >> RS 5 Base >> Repair and Diagnosis (Single Page) >> Accessories & Equipment >> Warning Systems >> Communication (Telephone - Internet Access) (Coupe) >> 91 Communication >> Connection For External Multimedia Devices >> External Audio Source Connection -R199-, Removing And Installing >> External Audio Source Connection -R199-, Removing And Installing, Ami >> Removing

External Audio Source Connection -R199-, Removing And Installing, Ami: Removing

-- Open the glove compartment.

-- Insert the two clips of the Radio Removal Tool:T10057  into the slits on the External Audio Source Connection -R199- until they engage. Points on the grip eyelets of tool face outward.

Fig 1: Insert Two Clips Of Radio Removal Tool Into Release Slits On External Audio Source Connection Until They Engage
GWWA91-10955Courtesy of AUDI OF AMERICA, LLC

-- Pull External Audio Source Connection -R199- out of mounting frame.

-- Release and disconnect all the connectors from the External Audio Source Connection -R199-.

Versions With MOST Bus 

-- Insert the Fiber-Optic Repair Set - Connector Protective Caps:VAS6223/9  -1- onto the MOST Bus connector -2-.

Fig 2: Fiber-Optic Cable Harness Connector And Protective Cap For Cable Connector VAS 6223/9
GWWA97-0760Courtesy of AUDI OF AMERICA, LLC

All 

-- Remove the Radio Removal Tool:T10057  , push locking tabs on External Audio Source Connection -R199- to do so.

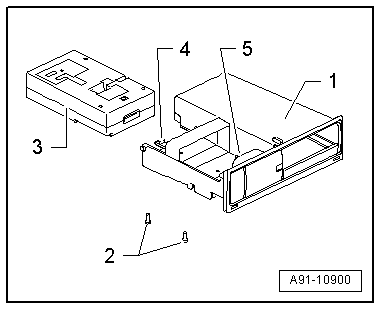
Remove The Internal Control Unit 

-- Remove the screw -2- on back side (2 Nm).

Fig 3: Identifying Screws On Back Side, Removal
GWWA91-10900Courtesy of AUDI OF AMERICA, LLC

-- Press the tabs -4- and -5- down then up and remove the control unit from the frame -1-.