LEMON Manuals: Even more car manuals for everyone
Home >> Audi >> 2014 >> RS 5 Base >> Repair and Diagnosis (Single Page) >> Accessories & Equipment >> Infotainment >> Communication (Telephone - Internet Access) (Coupe) >> 91 Communication >> Connection For External Multimedia Devices >> External Audio Source Connection -R199-, Removing And Installing >> External Audio Source Connection -R199-, Removing And Installing, Aux In >> Removing

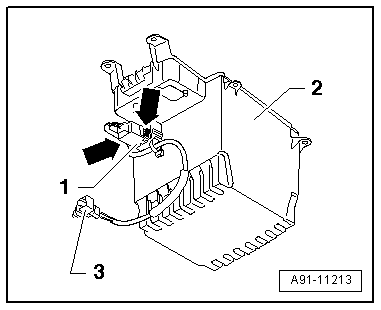
External Audio Source Connection -R199-, Removing And Installing, Aux In: Removing

-- Remove The Center Console Storage Compartment, Refer To CENTER CONSOLE, REMOVING AND INSTALLING .

-- Release and disconnect the connector -3- from the External Audio Source Connection -R199- -1-.

Fig 1: Disconnecting Connector From External Audio Source Connection
GWWA91-11213Courtesy of AUDI OF AMERICA, LLC

-- Squeeze together the retaining tabs -arrow- on the External Audio Source Connection -R199- -1- and slide the External Audio Source Connection -R199- -1- into the storage compartment -2-.