LEMON Manuals: Even more car manuals for everyone
Home >> Audi >> 2014 >> A4 Base >> Repair and Diagnosis >> External Pages >> Different car >> Section 452 (Navigation System (Diagnostics - Introduction)) >> Navigation System >> Operation Check [08/2013 - ] >> Operation Check [08/2013 - ]

Operation Check [08/2013 - ]

WARNING: This page is about a different car, the 2014 Lexus ES 300h. However, it is still accessible from the selected car via links, so may be relevant.
  1. CHECK NAVIGATION SYSTEM NORMAL CONDITION 
    1. If the symptom is applicable to any of the following, it is intended behavior, and not a malfunction.
      Symptom Answer
      A longer route than expected is chosen. Depending on the road conditions, the multi-media module receiver assembly may determine that a longer route is quicker.
      Even when distance priority is high, the shortest route is not shown. Some routes may not be advised due to safety concerns.
      When the vehicle is put into motion immediately after the hybrid system starts, the navigation system deviates from the correct position. If the vehicle starts before the navigation system activates, the system may not react.
      When driving on certain types of roads, especially new roads, the vehicle position deviates from the correct position. When the vehicle is driving on new roads not available on the hard disk drive, the system attempts to match it to another nearby road, causing the position mark to deviate.
    2. The following symptoms are not malfunctions, but are caused by errors inherent in the GPS, gyro sensor, speed sensor or multi-media module receiver assembly.
      Fig 1: Symptoms - Current Position Mark May Be Displayed On Nearby Parallel Road
      GTY108749Courtesy of © TOYOTA, LICENSE AGREEMENT TMS1002
      1. The current position mark may be displayed on a nearby parallel road.
      2. Immediately after a fork in the road, the current vehicle position mark may be displayed on the wrong road.
        Fig 2: Symptoms - Immediately After Fork In Road
        GTY100315Courtesy of © TOYOTA, LICENSE AGREEMENT TMS1002
      3. When the vehicle turns right or left at an intersection, the current vehicle position mark may be displayed on a nearby parallel road.
        Fig 3: Symptoms - When Vehicle Turns Right Or Left At An Intersection
        GTY108750Courtesy of © TOYOTA, LICENSE AGREEMENT TMS1002
      4. When the vehicle is carried, such as on a ferry, and the vehicle itself is not driving, the current vehicle position mark may be displayed in the position where the vehicle was until a measurement can be performed by the GPS.
        Fig 4: Symptoms - When Vehicle Is Carried, Such As On Ferry, And Vehicle Itself Is Not Running
        GTY108751Courtesy of © TOYOTA, LICENSE AGREEMENT TMS1002
      5. When the vehicle travels on a steep hill, the current vehicle position mark may deviate from the correct position.
        Fig 5: Symptoms - When Vehicle Runs On Steep Hill
        GTY100324Courtesy of © TOYOTA, LICENSE AGREEMENT TMS1002
      6. When the vehicle makes a continuous turn (e.g. 360, 720, 1080 degrees), the current vehicle position mark may deviate from the correct position.
        Fig 6: Symptoms - Vehicle Position Mark On Continuous Turn
        GTY108752Courtesy of © TOYOTA, LICENSE AGREEMENT TMS1002
      7. When the vehicle moves erratically, such as constant lane changes, the current vehicle position mark may deviate from the correct position.
        Fig 7: Symptoms - Vehicle Position Mark On Erratic Movement
        GTY100321Courtesy of © TOYOTA, LICENSE AGREEMENT TMS1002
      8. When the power switch is turned on (ACC or IG) and the vehicle is turned on a turntable before parking, the current vehicle position mark may not indicate the correct direction. The same will occur when the vehicle comes out of the parking garage.
        Fig 8: Symptom - Current Position Mark Deviates From Correct Direction
        GTY150098Courtesy of © TOYOTA, LICENSE AGREEMENT TMS1002
      9. When the vehicle travels on a snowy road or a mountain path with tire chains installed or using a spare tire, the current vehicle position mark may deviate from the correct position.
        Fig 9: Symptoms - When Vehicle Runs On Snowy Road Or Mountain Path
        GTY108753Courtesy of © TOYOTA, LICENSE AGREEMENT TMS1002
      10. When the tires are changed, the current vehicle position mark may deviate from the correct position.
        Fig 10: Symptoms - When Tire Is Changed
        GTY108754Courtesy of © TOYOTA, LICENSE AGREEMENT TMS1002

        HINT: 

        • A change in tire diameter may cause a speed sensor error.
        • Performing "tire change" in calibration mode will allow the system to correct the current vehicle position faster.
  2. REMOTE TOUCH INITIAL CHECK 
    NOTE:
    • Before performing the initial check, check that there is no foreign matter that will interfere with remote touch switch knob operation and that the knob is not stuck.
    • To avoid interruption of remote touch switch knob operation, do not touch the knob during the initial check.

    HINT: 

    The remote touch performs initialization of its knob position at the time the vehicle is started and turned off.

    1. Move the remote touch switch knob to a position other than the center and turn the power switch on (ACC).
    2. Check that the remote touch switch knob moves automatically to the center of the movable area.

      HINT: 

      • Initialization of the remote touch switch knob position is complete when the knob moves to the center of the movable area.
      • If remote touch switch knob position initialization fails, remote touch switch knob operation and pointer movement on the screen will not match.
      • If the remote touch switch knob does not move to the center of the movable area within 10 seconds because of foreign matter or the knob being stuck, the remote touch will stop operating.
      • When the foreign matter is removed or the remote touch switch knob is freed, and the knob position changes, the knob moves to the center of the movable area and completes its initialization.
      • The remote touch will repeatedly try to initialize itself until initialization has been completed, except when a built-in motor has a malfunction.
    3. Move the remote touch switch knob to a position other than the center and turn the power switch off.
    4. Check that the remote touch switch knob automatically moves to the center of the movable area.

      HINT: 

      • Initialization of the remote touch switch knob position is complete when the knob moves to the center of the movable area.
      • If the remote touch switch knob does not move to the center of the movable area within 3 seconds because of foreign matter or the knob being stuck, the remote touch will stop operating. In this case, initialization of the knob position will not complete.
  3. REMOTE TOUCH SELF CHECK 
    NOTE:
    • Before performing the remote touch self check, check that there is no foreign matter that would interfere with remote touch switch knob operation and that the knob is not stuck.
    • To avoid interruption of remote touch switch knob operation, do not touch the knob unless instructed in the steps.

    HINT: 

    The following checks can be done via the self check:

    • DTC check for the remote touch
    • Switch illumination check
    • Remote touch switch knob position recognition check
    • Switch operation check
    • Remote touch switch knob feedback force check
    1. Activate Self Check Mode
      Fig 11: Activating Self Check Mode
      GTY403899Courtesy of © TOYOTA, LICENSE AGREEMENT TMS1002
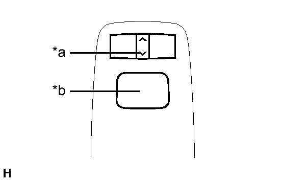
      1. Turn the light control switch in tail position.
      2. Turn the power switch on (ACC) with the switch knob and down seesaw switch pressed to activate self check mode.
        TEXT IN ILLUSTRATION

        *a Seesaw Switch "Down"
        *b Switch Knob
    2. Switch Illumination Check and DTC Check
      1. Check that the remote touch switch knob automatically moves to the center of the movable area and that the "MAP/VOICE" and "MENU" switch illumination blinks.
        Fig 12: Switch Illumination
        GTY410834Courtesy of © TOYOTA, LICENSE AGREEMENT TMS1002

        HINT: 

        • When DTCs are stored as present DTCs during self check, the "MAP/VOICE" and "MENU" switch illumination blinks at 0.5-second intervals. The illumination will continue to blink until the self check is completed.
        • The switch illumination stops blinking only when the factor that caused the remote touch switch knob malfunction disappears, allowing the knob to automatically move to the center of the movable area.
        TEXT IN ILLUSTRATION

        *a Switch Illumination
        *b Switch Knob
    3. Remote Touch Switch Knob Position Recognition Check
      Fig 13: Remote Touch Switch Knob Position Recognition
      GTY402871Courtesy of © TOYOTA, LICENSE AGREEMENT TMS1002
      1. Move the remote touch switch knob up, down, right and left to check that the brightness of the "MAP/VOICE" and "MENU" switch illumination changes.

        HINT: 

        • If the brightness changes according to remote touch switch knob operation, the knob position is being recognized normally.
        • The brightness of the switch illumination changes between 0 and 100% according to the coordinates of the remote touch switch knob.
        • The coordinates of the remote touch switch knob change between 0 and 255 for both the lateral and longitudinal axes.
        • When the coordinates of both the lateral and longitudinal axes of the remote touch switch knob are 0, the brightness of the switch illumination becomes 0% (the lights will be off), and when the coordinates of both axes of the knob are 255, the brightness of the switch illumination becomes 100% (the switch lights will be on at full brightness).
        TEXT IN ILLUSTRATION

        *a Switch Knob
        *b Longitudinal Axis
        *c Lateral Axis
    4. Switch Operation Check
      1. With the remote touch switch knob in the lower left position, check that pressing each switch on the remote touch turns on the "MAP/VOICE" and "MENU" switch illumination at 100% brightness.

        HINT: 

        If the "MAP/VOICE" and "MENU" switch illumination turn on at 100% brightness when a switch is pressed, the switch being pressed is operating normally.

    5. Remote Touch Switch Knob Feedback Force Check
      Fig 14: Remote Touch Switch Knob Feedback Force
      GTY396342Courtesy of © TOYOTA, LICENSE AGREEMENT TMS1002
      1. Move the remote touch switch knob up, down, right and left to check that feedback force is generated.

        HINT: 

        The motors built into the remote touch generate feedback force according to the direction in which the remote touch switch knob is moved.

        TEXT IN ILLUSTRATION

        *a Switch Knob
        *b Movement Direction
        *c Feedback Force
      2. Move the pointer on the screen by operating the remote touch switch knob and check that the feedback force of the knob changes according to the screen being displayed and the pointer position.
        Fig 15: Identifying Feedback Force Image
        GTY396885Courtesy of © TOYOTA, LICENSE AGREEMENT TMS1002
        TEXT IN ILLUSTRATION

        *a Default Feedback Force Image
        *b Frame Area
        *c Icon Area

        HINT: 

        • Refer to Remote Touch Outline for further information on remote touch switch knob feedback force generated according to the screen being displayed and the pointer position. Refer to SYSTEM DESCRIPTION [08/2013 - ] .
        • When the feedback force of the remote touch switch knob changes according to the screen being displayed and the pointer position, it means that the remote touch is receiving feedback force request signals from the multi-media module receiver assembly.
        • When the remote touch cannot receive feedback force request signals from the multi-media module receiver assembly, the remote touch generates feedback force according to the default feedback force image recorded in the remote touch (remote operation board).
    6. Finish Self Check Mode
      1. Turn the power switch off to finish self check mode.
  4. CHECK HARD DISK DRIVE 

    HINT: 

    • Check the hard disk drive (HDD) built into the multi-media module receiver assembly.
    • Illustrations may differ from the actual vehicle screen depending on the device settings and options. Therefore, some detailed areas may not be shown exactly the same as on the actual vehicle screen.
    1. Enter diagnostic mode. Refer to DTC CHECK / CLEAR [08/2013 - ] .
    2. Select "Failure Diagnosis" from the "Service Menu" screen.
      Fig 16: Screen Display - Service Menu
      GTY320256Courtesy of © TOYOTA, LICENSE AGREEMENT TMS1002
    3. Select "HDD Check" from the "Failure Diagnosis" screen.
      Fig 17: Screen Display - HDD Check
      GTY319832Courtesy of © TOYOTA, LICENSE AGREEMENT TMS1002
    4. HDD Check
      Fig 18: Screen Display - HDD Check
      GTY322845Courtesy of © TOYOTA, LICENSE AGREEMENT TMS1002
      1. Select "HDD Check" to start the HDD check.
      2. Check that the result is displayed when the HDD check is completed.
        SCREEN DESCRIPTION

        Display (Result) Description
        Checking Check is in progress
        OK Hard disk drive is normal
        NG Hard disk drive is malfunctioning
        TEXT IN ILLUSTRATION

        *a Result

        HINT: 

        • After selecting "HDD Check", it may take a while until the result is displayed.
        • If the cabin temperature is -20°C (-4°F) or lower, or 65°C (149°F) or higher, the HDD may not operate normally, and "NG" may be shown on the display. Make sure to perform the inspection with the cabin at an appropriate temperature.
        • If "NG" is displayed even when the cabin temperature is appropriate, replace the HDD with a new one.
  5. CHECK PANEL & STEERING SWITCH 

    HINT: 

    • The multi-media module receiver assembly panel switches and steering switches are checked in the following procedure.
    • Illustrations may differ from the actual vehicle screen depending on the device settings and options. Therefore, some detailed areas may not be shown exactly the same as on the actual vehicle screen.
    1. Enter diagnostic mode. Refer to DTC CHECK / CLEAR [08/2013 - ] .
    2. Select "Function Check/Setting" from the "Service Menu" screen.
      Fig 19: Screen Display - Function Check/Setting
      GTY318658Courtesy of © TOYOTA, LICENSE AGREEMENT TMS1002
    3. Select "Panel&Steering Switch" from the "Function Check/Setting I" screen.
      Fig 20: Screen Display - Panel & Steering Switch
      GTY401821Courtesy of © TOYOTA, LICENSE AGREEMENT TMS1002
    4. Panel & Steering Switch Check Mode
      Fig 21: Screen Display - Panel & Steering Switch Check Mode
      GTY320716Courtesy of © TOYOTA, LICENSE AGREEMENT TMS1002
      SCREEN DESCRIPTION

      Display Content
      *a: Switch condition "Pushed" is displayed when any switch is pushed.
      *b: Number of switches pushed
      • Number of switches pushed at once is displayed
      • If 3 switches are pushed at once, "3" or "More than 3" is displayed
      • If 4 or more switches are pushed at once, "More than 3" is displayed
      *c: Rotary switch direction Direction of rotary switch is displayed
      1. Operate each switch and check that the switch conditions are correctly displayed.
        NOTE:

        When the "MAP/VOICE" switch is pressed and held for 3 seconds or more, diagnostic mode will be canceled.

  6. CHECK REMOTE TOUCH SWITCH 

    HINT: 

    • The remote touch switch knob is checked in the following procedure.
    • Illustrations may differ from the actual vehicle screen depending on the device settings and options. Therefore, some detailed areas may not be shown exactly the same as on the actual vehicle screen.
    1. Enter diagnostic mode. Refer to DTC CHECK / CLEAR [08/2013 - ] .
    2. Select "Function Check/Setting" from the "Service Menu" screen.
      Fig 22: Screen Display - Function Check/Setting
      GTY318658Courtesy of © TOYOTA, LICENSE AGREEMENT TMS1002
    3. Select "Remote Touch Switch" from the "Function Check/Setting I" screen.
      Fig 23: Screen Display - Remote Touch Switch
      GTY401822Courtesy of © TOYOTA, LICENSE AGREEMENT TMS1002
    4. Remote Touch Switch Check
      Fig 24: Remote Touch Switch Check
      GTY396253Courtesy of © TOYOTA, LICENSE AGREEMENT TMS1002
      SCREEN DESCRIPTION

      Display Content
      *a: Pointer Displayed the location of the pointer.
      *b: Coordinates
      • Displays the coordinates of the pointer
      • "X" and "Y" indicate the lateral and longitudinal axes
      • Coordinates are displayed by numbers between 0 and 255 for each axis starting from the lower left of the screen
      *c: "+" mark Displayed at the location where the pointer is located when the switch knob on the remote touch is pressed.
      1. While "Remote Touch Switch Check" is displayed, move the pointer to any blank area of the screen using the remote touch switch knob, and press the switch knob.

        HINT: 

        • The "+" mark is displayed at the pointer position while the switch knob is pressed.
        • Even though the pointer is moved, the "+" mark will remain at the position where the pointer was when the switch knob was pressed.
      2. Move the pointer using the remote touch switch knob. When the location of the pointer is changed with the switch knob moved, check that the coordinate values "X" and "Y" change between 0 and 255.
  7. CHECK MIC & VOICE RECOGNITION 

    HINT: 

    • The microphone and microphone input level are checked in the following procedure.
    • Illustrations may differ from the actual vehicle screen depending on the device settings and options. Therefore, some detailed areas may not be shown exactly the same as on the actual vehicle screen.
    1. Enter diagnostic mode. Refer to DTC CHECK / CLEAR [08/2013 - ] .
    2. Select "Function Check/Setting" from the "Service Menu" screen.
      Fig 25: Screen Display - Function Check/Setting
      GTY318658Courtesy of © TOYOTA, LICENSE AGREEMENT TMS1002
    3. Select "Mic&Voice Recognition" from the "Function Check/Setting I" screen.
      Fig 26: Screen Display - Mic & Voice Recognition
      GTY401823Courtesy of © TOYOTA, LICENSE AGREEMENT TMS1002
    4. Microphone & Voice Recognition Check
      Fig 27: Screen Display - Microphone & Voice Recognition Check
      GTY316403Courtesy of © TOYOTA, LICENSE AGREEMENT TMS1002
      SCREEN DESCRIPTION

      Display Content
      *a: Microphone input level meter Monitors the microphone input level every 0.1 seconds and displays the results in 8 different levels.
      *b: Recording switch Starts recording.
      *c: Stop switch Stops recording and playing.
      *d: Play switch Plays the recorded voice.
      *e: Recording indicator Comes on while recording.
      1. When speaking into the microphone, check that the microphone input level meter changes according to the input level.

        HINT: 

        The microphone is active at all times when this screen is displayed.

      2. Push the recording switch and perform voice recording.

        HINT: 

        • Select the recording switch with the blower motor of the air conditioning system stopped. If an outlet of the air conditioning system is facing the microphone, noise may be recorded.
        • While recording or playing, the switches other than the stop switch cannot be pushed.
        • When no recording is present, the play switch cannot be pushed.
        • Recording will stop after 5 seconds or when the stop switch is pushed.
      3. Check that the recording indicator remains on while recording and that the recording can be played normally.
  8. CHECK COLOR BAR 

    HINT: 

    • The display color on the screen is checked in the following procedure.
    • Illustrations may differ from the actual vehicle screen depending on the device settings and options. Therefore, some detailed areas may not be shown exactly the same as on the actual vehicle screen.
    1. Enter diagnostic mode. Refer to DTC CHECK / CLEAR [08/2013 - ] .
    2. Select "Function Check/Setting" from the "Service Menu" screen.
      Fig 28: Screen Display - Function Check/Setting
      GTY318658Courtesy of © TOYOTA, LICENSE AGREEMENT TMS1002
    3. Select "Color Bar" from the "Function Check/Setting I" screen.
      Fig 29: Screen Display - Color Bar
      GTY415339Courtesy of © TOYOTA, LICENSE AGREEMENT TMS1002
    4. Color Bar Check Mode
      Fig 30: View Of Color Bar Check Mode Screen
      GTY320543Courtesy of © TOYOTA, LICENSE AGREEMENT TMS1002
      1. Select a color bar from the "Color Bar Check Mode" screen.
      2. Check the display color.

        HINT: 

        • The entire screen turns to the color or stripe selected.
        • Touching the display will return to the "Color Bar Check Mode" screen.
  9. CHECK GPS & VEHICLE SENSORS 

    HINT: 

    • GPS information, vehicle signals and sensor signals are checked in the following procedure.
    • Illustrations may differ from the actual vehicle screen depending on the device settings and options. Therefore, some detailed areas may not be shown exactly the same as on the actual vehicle screen.
    1. Enter diagnostic mode. Refer to DTC CHECK / CLEAR [08/2013 - ] .
    2. Select "Function Check/Setting" from the "Service Menu" screen.
      Fig 31: Screen Display - Function Check/Setting
      GTY318658Courtesy of © TOYOTA, LICENSE AGREEMENT TMS1002
    3. Select "GPS&Vehicle Sensors" from the "Function Check/Setting I" screen.
      Fig 32: Screen Display - GPS & Vehicle Sensors
      GTY415348Courtesy of © TOYOTA, LICENSE AGREEMENT TMS1002
    4. GPS Information
      Fig 33: Screen Display - GPS Information
      GTY315815Courtesy of © TOYOTA, LICENSE AGREEMENT TMS1002
      *A: SATELLITE INFORMATION DESCRIPTION

      Display Content
      No. Number of the target GPS satellite
      Elv Elevation angle of the target GPS satellite
      Azm Direction of the target GPS satellite
      LVL The GPS signal level
      *B: RECEIVING CONDITION DESCRIPTION

      Display Content
      P The system is using the GPS signal for location.
      T The system is tracking the GPS signal for location.
      U The system is receiving a GPS signal, but is not using it for location.
      - The system cannot receive a GPS signal. (Searching a GPS signal)
      *C: MEASUREMENT STATUS DESCRIPTION

      Display Content
      OK (H3D) High accuracy 3-dimensional location method is being used.
      OK (H2D) High accuracy 2-dimensional location method is being used.
      OK (3D) 3-dimensional location method is being used.
      OK (2D) 2-dimensional location method is being used.
      NG Location data cannot be used.
      error Reception error has occurred.
      - Any other state.
      *D: POSITION INFORMATION DESCRIPTION

      Display Content
      Position Latitude and longitude information on the current position is displayed.
      *E: DATE INFORMATION DESCRIPTION

      Display Content
      Date The date/time information obtained from GPS signals is displayed in Greenwich Mean Time (GMT).
      1. When the "GPS Information" screen is displayed, check the GPS conditions.
    5. Select "Sensors Check" from the "GPS Information" screen.
    6. Vehicle Sensors
      Fig 34: Screen Display - Vehicle Sensors
      GTY322480Courtesy of © TOYOTA, LICENSE AGREEMENT TMS1002
      SCREEN DESCRIPTION

      Display Content
      *a: Vehicle signal Vehicle speed signal condition is displayed.
      *b: Sensor signal Gyro sensor output condition is displayed.

      HINT: 

      This screen is updated once per second.

      1. Check all the signals and sensors when vehicle signal information is displayed.
    7. GPS Time Setting
      Fig 35: Screen Display - GPS Time Setting
      GTY401741Courtesy of © TOYOTA, LICENSE AGREEMENT TMS1002
      SCREEN DESCRIPTION

      Display Content
      *a: Time display Displays the date and time in the device.
      *b: Time setting screen Setting is possible only when GPS signals are not being received.
      *c: Cursor movement switch Moves the cursor on the date and time setting screen to the right and left.
      *d: Adjustment switch Adjusts values of items selected by the cursor.
      *e: OK switch Selecting this switch after setting the date and time updates the date and time in the device (only when GPS signals are not received).
      1. When GPS signals are not being received, the date and time in the device can be adjusted.

        HINT: 

        Time setting is possible only when GPS signals are not being received. When the navigation system is receiving GPS signals, priority is given to displaying the time and date received via GPS.

  10. CHECK VEHICLE SIGNAL 

    HINT: 

    • Vehicle signals received by the multi-media module receiver assembly are checked in the following procedure.
    • Illustrations may differ from the actual vehicle screen depending on the device settings and options. Therefore, some detailed areas may not be shown exactly the same as on the actual vehicle screen.
    1. Enter diagnostic mode. Refer to DTC CHECK / CLEAR [08/2013 - ] .
    2. Select "Function Check/Setting" from the "Service Menu" screen.
      Fig 36: Screen Display - Function Check/Setting
      GTY318658Courtesy of © TOYOTA, LICENSE AGREEMENT TMS1002
    3. Select "Vehicle Signal" from the "Function Check/Setting I" screen.
      Fig 37: Screen Display - Vehicle Signal
      GTY415347Courtesy of © TOYOTA, LICENSE AGREEMENT TMS1002
    4. Vehicle Signal Check Mode
      Fig 38: Screen Display - Vehicle Signal Check Mode
      GTY319007Courtesy of © TOYOTA, LICENSE AGREEMENT TMS1002
      SCREEN DESCRIPTION

      Display Content
      Battery Auxiliary battery voltage is displayed.
      IG Power switch ON/OFF state is displayed.
      PKB Parking brake ON/OFF state is displayed.
      REV Reverse signal ON/OFF state is displayed.
      SPEED Vehicle speed is displayed in km/h.
      TAIL Tail signal (light control switch) ON/OFF state is displayed.
      ADIM/TCAN Brightness state DIM (with) / BRIGHT (without) is displayed.

      HINT: 

      • Only conditions having inputs are displayed.
      • This screen displays vehicle signals input to the multi-media module receiver assembly.
      1. When the "Vehicle Signal Check Mode" screen is displayed, check all the vehicle signal conditions.
  11. CHECK HANDS-FREE VOICE QUALITY AND VOLUME SETTING 
    NOTE:
    • Adjustment of the settings is required for each registered cellular phone.
    • If no cellular phone has been registered, all switches cannot be selected.

    HINT: 

    • The hands-free volume of a "Bluetooth" compatible phone can be adjusted using the following procedure.
    • Illustrations may differ from the actual vehicle screen depending on the device settings and options. Therefore, some detailed areas may not be shown exactly the same as on the actual vehicle screen.
    1. Enter diagnostic mode. Refer to DTC CHECK / CLEAR [08/2013 - ] .
    2. Select "Function Check/Setting" from the "Service Menu" screen.
      Fig 39: Screen Display - Function Check/Setting
      GTY318658Courtesy of © TOYOTA, LICENSE AGREEMENT TMS1002
    3. Select "HF Voice Quality Setting" from the "Function Check/Setting I" screen.
      Fig 40: Screen Display - HF Voice Quality Setting
      GTY415346Courtesy of © TOYOTA, LICENSE AGREEMENT TMS1002
    4. Hands-Free Voice Quality Setting (Receive/Send Voice Level adjustment)
      Fig 41: Screen Display - Hands Free Voice Quality Setting
      GTY373499Courtesy of © TOYOTA, LICENSE AGREEMENT TMS1002
      SCREEN DESCRIPTION

      Display Content
      *a: Receive voice level Setting for the voice level received from "Bluetooth" compatible phones.
      *b: Send voice level Setting for the voice level sent from "Bluetooth" compatible phones.
      NOTE:

      Sound quality may deteriorate when the receive voice or send voice level is changed more than necessary. For this reason, check that the received voice or sent voice quality is still acceptable after changing this setting.

      1. If the voice level is low, press the up button, and if the voice level is loud, press the down button.

        HINT: 

        • Settings will be applied when the up or down button is selected.
        • The receive voice level adjustment ranges from -5 to +1.
        • The send voice level adjustment ranges from -5 to +2.
        • The initial level is "0".
    5. Hands-Free Voice Quality Setting (Voice Quality Type adjustment)
      Fig 42: Screen Display - Hands-Free Voice Quality Setting
      GTY364159Courtesy of © TOYOTA, LICENSE AGREEMENT TMS1002
      SCREEN DESCRIPTION

      *a Numeric keypad
      *b Setting button
      *c Reset button
      1. If necessary, refer to the table below to adjust the voice quality type with the numeric keypad.
      2. When adjusting the settings, use the number pad on the screen to input the voice quality type according to the table.
        SETTINGS

        Parameter Target Phenomenon Voice Quality Type Positive Effect of Changing Voice Quality Negative Effect of Changing Voice Quality
        A
        (Noise)
        The change in background noise the other party hears becomes unpleasant. 1000 The change in background noise the other party hears is reduced. Background noise when not talking becomes large.
        B
        (Noise)
        The volume of the noise the other party hears temporarily becomes large. 2000 The temporary noise is reduced. The volume of voice may drop temporarily.
        C
        (Echo)
        The other party hears weak echoes. 0100 The amount of echo is reduced (low level). Sound quality of the other party deteriorates (low level).
        D
        (Echo)
        The other party hears strong echoes. 0200 The amount of echo is reduced (high level). Sound quality of the other party deteriorates (high level).
        E
        (Voice Quality)
        The other party hears harsh noises. 0010 Sound the other party hears becomes soft. Sound the other party hears becomes muffled.
        F
        (Voice Quality)
        You hear harsh noises. 0020 Sound you hear becomes soft. Sound you hear becomes muffled.
        SETTINGS (WHEN MULTIPLE PHENOMENON OCCURRED)

        Parameter Target Phenomenon Voice Quality Type Positive Effect of Changing Voice Quality Negative Effect of Changing Voice Quality
        A+C The change in background noise the other party hears becomes unpleasant and the other party hears weak echoes. 1100
        • The change in background noise the other party hears is reduced.
        • The amount of echo is reduced (low level).
        • Background noise when not talking becomes large.
        • Sound quality of the other party deteriorates (low level).
        A+D The change in background noise the other party hears becomes unpleasant and the other party hears strong echoes. 1200
        • The change in background noise the other party hears is reduced.
        • The amount of echo is reduced (high level).
        • Background noise when not talking becomes large.
        • Sound quality of the other party deteriorates (high level).
        B+C The volume of the noise the other party hears temporarily becomes large and the other party hears weak echoes. 2100
        • The temporary noise is reduced.
        • The amount of echo is reduced (low level).
        • The volume of voice may drop temporarily.
        • Sound quality of the other party deteriorates (low level).
        B+D The volume of the noise the other party hears temporarily becomes large and the other party hears strong echoes. 2200
        • The temporary noise is reduced.
        • The amount of echo is reduced (high level).
        • The volume of voice may drop temporarily.
        • Sound quality of the other party deteriorates (high level).
        C+E The other party hears weak echoes and harsh noises. 0110
        • The amount of echo is reduced (low level).
        • Sound the other party hears becomes soft.
        • Sound quality of the other party deteriorates (low level).
        • Sound the other party hears becomes muffled.
        C+F The other party hears weak echoes and you hear harsh noises. 0120
        • The amount of echo is reduced (low level).
        • Sound you hear becomes soft.
        • Sound quality of the other party deteriorates (low level).
        • Sound you hear becomes muffled.

        HINT: 

        • The default value is "0000".
        • Settings will be applied when the setting button is selected.
        • If voice quality type values that are not in the table are input, the setting will not be applied and a positive effect may not be gained.
        • If the quality of phone calls decreases due to the changed settings, return the settings to "0000" by pressing the "INIT" switch.
  12. CHECK SOFTWARE ERROR HISTORY 

    HINT: 

    This function is used to check the cause when the multi-media module receiver assembly screen is blacked out.

    1. Check software error history.
      1. Connect the Techstream to the DLC3.
      2. Turn the power switch on (READY).
      3. Turn the Techstream on.
      4. Enter the following menus: Body Electrical / Navigation System / Utility / Software Error History.
      5. When an item is stored for Software Error History, record it before repairing the multi-media module receiver assembly.
        SOFTWARE ERROR HISTORY SCREEN DESCRIPTION

        Error Description Trigger Detail
        Software Reset Navi microcomputer Hexadecimal Number
        Audio microcomputer
        CAN microcomputer
        No Video Signal Front monitor
        Rear monitor
        MOST Cold Restart Always

        HINT: 

        • Software Error History can store up to 5 history data items. If a new software error occurs when 5 data items have already been stored, the oldest data is cleared and the new data is stored.
        • If an error that is unsupported by the Techstream occurs, a "-" is displayed for the display items.
    2. Clear software error history.
      1. When DTCs are cleared using any of the following operations, Software Error History will be cleared as well. Refer to DTC CHECK / CLEAR [08/2013 - ] .
        • Cleared using the Techstream.
        • Cleared using the system check mode screen.
        • Cleared using the unit check mode screen.
  13. CHECK OPTICAL DISC ERROR HISTORY 

    HINT: 

    This function is used to check the cause of an optical disc error.

    1. Check optical disc error history.
      1. Connect the Techstream to the DLC3.
      2. Turn the power switch on (READY).
      3. Turn the Techstream on.
      4. Enter the following menus: Body Electrical / Navigation System / Utility / Optical Disc Error History.
      5. When an item is stored for Optical Disc Error History, record it before proceeding with troubleshooting.
        OPTICAL DISC ERROR HISTORY SCREEN DESCRIPTION

        Display Content
        Error Type Displays the type of error.
        Device Displays the malfunctioning device.
        Date Displays the date and time that the malfunction occurred.
        ERROR TYPE SCREEN DESCRIPTION

        Error Type Detection Condition Action
        Read Error When a disc read error occurs. Proceed to next suspected area shown in Problem Symptoms Table. Refer to PROBLEM SYMPTOMS TABLE [08/2013 - ] 
        Disc damaged/up side down/dirty When it is determined that any of the following is the cause of the disc read error:
        • The disc cannot be read.
        • The disc cannot be read because of dirt or scratches.
        • The disc cannot be read because it is inserted upside down.
        Cannot determine disc type An unsuitable disc is inserted.
        DPS error When an error occurs while decoding MP3/WMA files.
        Some files are corrupt
        • When MP3/WMA files cannot be played back because they are unsupported.
        • Even though the file extensions are MP3 or WMA, files cannot be played back because the header information cannot be read.
        Some files cannot be found
        • When a disc without music data is played back.
        • When there are no playable MP3/WMA files.
        Copy protection violation When a file with copyright protection that cannot be played back is played back.
        DEVICE SCREEN DESCRIPTION

        Device Component
        DVD-P Multi-media module receiver assembly
        CD-P Not available
        R-Seat DVD-P Not available

        HINT: 

        • Optical Disc Error History can store up to 7 history data items. If a new optical disc error occurs when 7 data items have already been stored, the oldest data is cleared and the new data is stored.
        • If an error that is unsupported by the Techstream occurs, a "-" or blank is displayed for the display items.
    2. Clear optical disc error history.
      1. When DTCs are cleared using any of the following operations, Optical Disc Error History will be cleared as well. Refer to DTC CHECK / CLEAR [08/2013 - ] .
        • Cleared using the Techstream.
        • Cleared using the system check mode screen.
        • Cleared using the unit check mode screen.
  14. MAP INFORMATION 

    HINT: 

    This function is used to check the map version of the navigation system and the end date of the map update service.

    1. Check map information.
      1. Connect the Techstream to the DLC3.
      2. Turn the power switch on (READY).
      3. Turn the Techstream on.
      4. Enter the following menus: Body Electrical / Navigation System / Utility / Map Information.
      5. Check the map version and the end date of the map update service.