LEMON Manuals: Even more car manuals for everyone
Home >> Audi >> 2014 >> A4 Base >> Repair and Diagnosis >> External Pages >> Different car >> Section 359 (Occupant Classification System (Diagnostics - Introduction)) >> Occupant Classification System >> System Diagram [08/2013 - ] >> System Diagram [08/2013 - ]

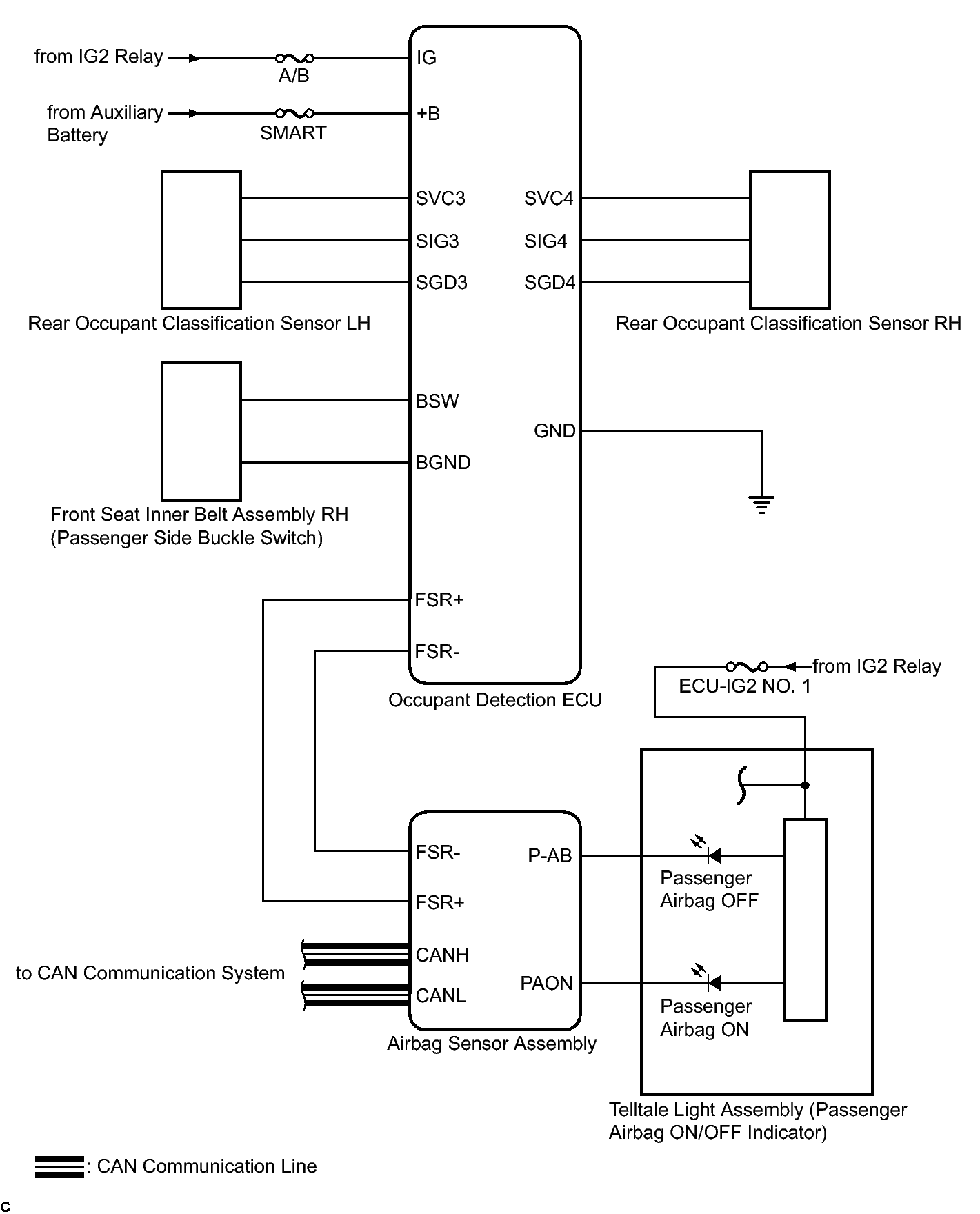
System Diagram [08/2013 - ]

WARNING: This page is about a different car, the 2014 Lexus ES 300h. However, it is still accessible from the selected car via links, so may be relevant.
Fig 1: Occupant Classification System Diagram
GTY380968Courtesy of © TOYOTA, LICENSE AGREEMENT TMS1002