LEMON Manuals: Even more car manuals for everyone
Home >> Audi >> 2014 >> A4 Base >> Repair and Diagnosis (Single Page) >> Accessories & Equipment >> Communication Devices >> Communication (Sedan) >> 91 Communication >> Voice Recognition System >> Speech Input Control Module Connector

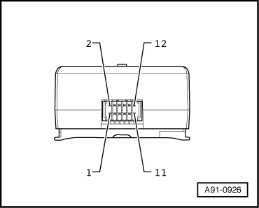
Speech Input Control Module Connector

NOTE:

Unlisted connector terminals are not assigned.

Fig 1: Identifying Speech Input Control Module J507, Multi-Pin Connector Assignments
GWWA91-0926Courtesy of AUDI OF AMERICA, LLC
  1. Not Assigned
  2. Not Assigned
  3. Status
  4. Diagnosis
  5. Terminal 30
  6. Reset signal
  7. Power good
  8. Power on
  9. Terminal 31
  10. MOST out
  11. Enabled
  12. MOST in