LEMON Manuals: Even more car manuals for everyone
Home >> Audi >> 2013 >> allroad Premium Plus >> Repair and Diagnosis >> Steering >> Steering Control Systems >> Steering System (Service Information) >> 48 Steering >> Steering Column >> Steering Intermediate Shaft, Removing And Installing >> Installing

Steering Intermediate Shaft, Removing And Installing: Installing

Installation is the reverse of removal, with special attention to the following:

-- The threaded hole for the bolts must always be cleaned (for example, using a thread tap).

Tightening specifications. Refer to OVERVIEW - STEERING COLUMN .

NOTE:

Depending on the vehicle, it may be easier to install the intermediate shaft from the top.

-- Install the steering intermediate shaft.

-- Install the steering intermediate shaft -3- on the steering column -1- as far as the stop and tighten the bolt -2-.

GWWA48-10179Courtesy of AUDI OF AMERICA, LLC

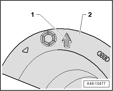
-- Install the protective boot -2- as far as possible. Make sure, that the arrow -1- points upward.

GWWA48-10477Courtesy of AUDI OF AMERICA, LLC

-- Pull the protective boot -1- through the opening.

GWWA48-10479Courtesy of AUDI OF AMERICA, LLC

-- Mount the protective boot -1-, without turning it, completely over the collar -2-.

-- Then check the installation position of the protective boot above the marking inside the passenger compartment. If necessary, loosen the protective boot and turn it to the correct installation position.

-- The mount the steering intermediate shaft -1- all the way onto the steering gear -2- and tighten the bolt -arrow-.

GWWA48-10367Courtesy of AUDI OF AMERICA, LLC

Install in reverse order of removal.