LEMON Manuals: Even more car manuals for everyone
Home >> Audi >> 2013 >> A4 Base >> Repair and Diagnosis (Single Page) >> Quick Lookups >> Wiring Diagrams >> OEM Connector End Views >> Connector End Views >> Towing Recognition Control Module Connector End View (J345, T16d, T12d)

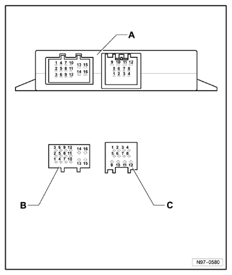
Towing Recognition Control Module Connector End View (J345, T16d, T12d)

Fig 1: Towing Recognition Control Module Connector End View (J345, T16d, T12d)
G10359929
A Towing Recognition Control Module -J345-
Pin Connectors
B 16-Pin Connector, black -T16d-
C 12-Pin Connector, red -T12d-