LEMON Manuals: Even more car manuals for everyone
Home >> Audi >> 2012 >> A8 Base >> Repair and Diagnosis >> Engine Performance >> Engine Control Systems >> 4.2L - Generic Scan Tool - Engine Code: CDRA (2 Of 2) >> St Generic Scan Tool >> Diagnosis And Testing >> Diagnostic Procedures >> Secondary Air Injection Sensor 1, Checking

Secondary Air Injection Sensor 1, Checking

NOTE:

Use only gold-plated terminals when servicing the electrical harness connector terminals of the Secondary Air Injection Sensor 1 -G609-.

Special Tools And Workshop Equipment Required 

Test requirements

Test procedure

-- Perform a preliminary check to verify the customers complaint. Refer to PRELIMINARY CHECK .

Start diagnosis

-- Remove the engine cover with air filter. Refer to appropriate service information.

Fig 1: Identifying Front Engine Cover, Electrical Connector, And Left Air Guide Hose
GWWA10-10427Courtesy of AUDI OF AMERICA, LLC

-- Disconnect the Secondary Air Injection Sensor 1 -G609- electrical harness connector -1-.

Fig 2: Identifying Air Injection Sensor & Electrical Harness Connector
GWWA26-10835Courtesy of AUDI OF AMERICA, LLC

-- Switch the ignition on.

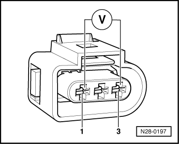
-- Using a Multimeter, Check the Secondary Air Injection Sensor 1 -G609- electrical harness connector terminals 1 to 3 for voltage.

Fig 3: Checking Camshaft Position (CMP) Sensor Electrical Harness Connector Terminals 1 To 3 For Voltage
GWWN28-0197Courtesy of AUDI OF AMERICA, LLC

Specified value: about 5.0 V

-- Switch the ignition off.

If the specification was not obtained:

Checking wiring

If the manufacturers test box is being used, perform the following step.

-- Install the test box.

If the manufacturers test box is not being used, perform the following step.

-- Remove the Motronic Engine Control Module (ECM) -J623-. Refer to appropriate service information.

-- Using a Multimeter, check the Secondary Air Injection Sensor 1 -G609- electrical harness connector to the Motronic Engine Control Module (ECM) -J623- electrical harness connector T105 for resistance.

Fig 4: 3-Pin Electrical Harness Connector & Terminals
GWWN24-1648Courtesy of AUDI OF AMERICA, LLC
Secondary Air Injection Sensor 1 -G609- electrical harness connector terminals Motronic Engine Control Module (ECM) -J623- electrical harness connector T105 terminals
1 20
2 104
3 97

Specified value: 1.5 Ω Max.

If the specified value was not obtained:

-- Check the wiring connection for an open circuit, short circuit to Battery (+) or Ground (GND).

-- Check the wiring connection for damage, corrosion, loose or broken terminals.

-- If necessary, repair the faulty wiring connection.

If no malfunction is found in the wiring and voltage supply was OK:

-- Replace Secondary Air Injection Sensor 1 -G609-. Refer to appropriate service information.

If no malfunction is found in the wiring and voltage supply was not OK:

-- Replace the Motronic Engine Control Module (ECM) -J623-. Refer to appropriate service information.

Assembly is performed in the reverse order of the removal, note the following:

Final procedures

After repair work, the following work steps must be performed in the following sequence:

  1. Check the DTC memory. Refer to DIAGNOSTIC MODE 03 - READ DTC MEMORY .
  2. If necessary, erase the DTC memory. Refer to DIAGNOSTIC MODE 04 - ERASE DTC MEMORY .
  3. If the DTC memory was erased, generate readiness code. Refer to READINESS CODE .