LEMON Manuals: Even more car manuals for everyone
Home >> Audi >> 2011 >> A8 Base >> Repair and Diagnosis (Single Page) >> Quick Lookups >> Electrical Component Locations >> Electrical Components Locations & Connector End Views -- A8 >> Comp. LOC. Control Modules Vehicle Rear >> Component Location All Wheel Drive Control Module -J492-

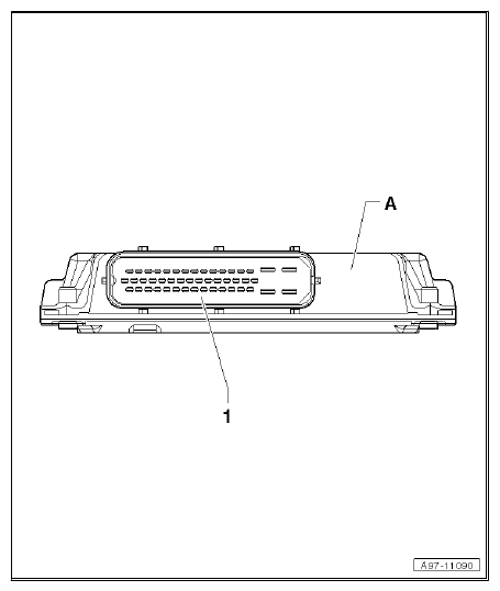
Component Location All Wheel Drive Control Module -J492-

Component Location 

In Left Luggage Compartment, In Spare Tire Well -1-. 

Connector 

G12770411Courtesy of AUDI OF AMERICA, LLC
  1. - All-Wheel Drive Control Module -J492-
  2. - 47-Pin Connector -T47A-, Black
G12770412Courtesy of AUDI OF AMERICA, LLC

Back To Overview COMP. LOC. CONTROL MODULES VEHICLE REAR  .