LEMON Manuals: Even more car manuals for everyone
Home >> Audi >> 2011 >> A8 Base >> Repair and Diagnosis (Single Page) >> Electrical >> Component Locations >> Electrical Components Locations & Connector End Views -- A8 >> Comp. LOC. Control Modules Vehicle Rear >> Component Location Windshield Defogger Control Module -J505-

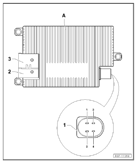
Component Location Windshield Defogger Control Module -J505-

Component Location 

In Left Luggage Compartment, In Spare Tire Well -2-. 

Pin Connectors 

G12770411Courtesy of AUDI OF AMERICA, LLC
  1. - Heated Windshield Control Module -J505-
  2. - 4-Pin Connector -T4EM-, Black
  3. - B1, Terminal 30
  4. - C1, Terminal 31
G12770414Courtesy of AUDI OF AMERICA, LLC

Back To Overview COMP. LOC. CONTROL MODULES VEHICLE REAR  .