LEMON Manuals: Even more car manuals for everyone
Home >> Audi >> 2011 >> A8 Base >> Repair and Diagnosis (Single Page) >> Electrical >> Component Locations >> Electrical Components Locations & Connector End Views -- A8 >> Comp. LOC. Control Modules Vehicle Rear >> Component Location Comfort System Central Control Module 2 -J773-, Through Model Year 2013

Component Location Comfort System Central Control Module 2 -J773-, Through Model Year 2013

Component Location 

In Luggage Compartment Right, On Rear Wall -1-. 

Pin Connectors 

G12770401Courtesy of AUDI OF AMERICA, LLC
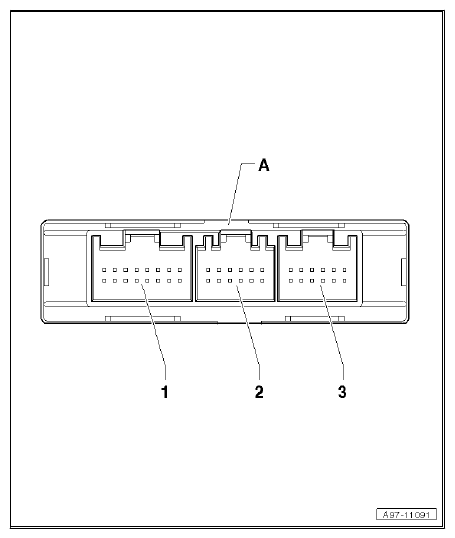
  1. - Comfort System Central Control Module 2 -J773-
  2. - 16-Pin Connector -T16O-, Brown
  3. - 12-Pin Connector -T12AG-, Brown
  4. - 12-Pin Connector -T12AH-, Black
G12770402Courtesy of AUDI OF AMERICA, LLC

Back To Overview COMP. LOC. CONTROL MODULES VEHICLE REAR  .