LEMON Manuals: Even more car manuals for everyone
Home >> Audi >> 2011 >> A8 Base >> Repair and Diagnosis (Single Page) >> Electrical >> Component Locations >> Electrical Components Locations & Connector End Views -- A8 >> Comp. LOC. Control Modules Vehicle Front >> Component Location Power Adjustable Steering Column Control Module -J866-

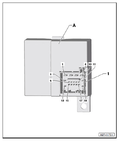
Component Location Power Adjustable Steering Column Control Module -J866-

Component Location 

On Steering Column -1-. 

Connector 

G12770350Courtesy of AUDI OF AMERICA, LLC
  1. - Power Adjustable Steering Column Control Module -J866-
  2. - 18-Pin Connector -T18A-, Black
G12770351Courtesy of AUDI OF AMERICA, LLC

Back To Overview COMP. LOC. CONTROL MODULES VEHICLE FRONT  .