LEMON Manuals: Even more car manuals for everyone
Home >> Audi >> 2007 >> S8 >> Repair and Diagnosis (Single Page) >> Quick Lookups >> Wiring Diagrams >> OEM Connector End Views >> Connector End Views >> Energy Management Control Module Connector End View (J644)

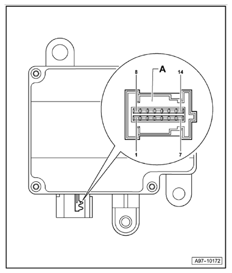
Energy Management Control Module Connector End View (J644)

Fig 1: Energy Management Control Module Connector End View (J644)
G10359771Courtesy of AUDI OF AMERICA, LLC
A 14-Pin Connector, black