LEMON Manuals: Even more car manuals for everyone
Home >> Audi >> 2007 >> S8 >> Repair and Diagnosis (Single Page) >> Quick Lookups >> Wiring Diagrams >> OEM Connector End Views >> Connector End Views >> Comfort System Central Control Module Connector End View (J393)

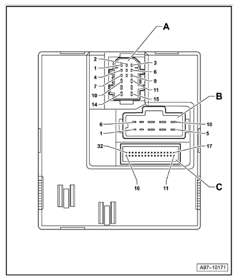
Comfort System Central Control Module Connector End View (J393)

Fig 1: Comfort System Central Control Module Connector End View (J393)
G10359772Courtesy of AUDI OF AMERICA, LLC
A 15-Pin connector -connector A-, black
B 10-Pin connector -connector C-, black
C 32-Pin connector, -connector B-, grey