LEMON Manuals: Even more car manuals for everyone
Home >> Audi >> 2007 >> S8 >> Repair and Diagnosis (Single Page) >> Electrical >> Body Electrical >> Electrical Equipment >> 94 - Lights, Switches - Exterior >> Steering Column Switch Module >> Steering Column Electronic Systems Control Module, Front Side, Connector Assignment >> Steering Column Electronic Systems Control Module, Front Side, Connector Assignment

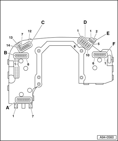
Steering Column Electronic Systems Control Module, Front Side, Connector Assignment

Fig 1: Steering Column Electronics Systems Control Module J527 , Front Multi-Pin Connector Assignments
GW00021727Courtesy of VOLKSWAGEN UNITED STATES, INC.

A - Cruise control connector

1 - Ground (GND)

2 Fix

3 Distance

4 - 12V voltage supply

5 - Resume/touch "Off"

6 Acceleration/deceleration

7 - Locked "Off"

B - Turn signal indicator connector

1 - Ground (GND)

2 Radio telephone (special-purpose vehicles)

3 Alarm (special-purpose vehicles)

4 Not used

5 Headlight flasher/light control

6 Turn signal indicators

C - Harness connector of multi-function steering wheel/Tiptronic/heated steering wheel

7 - Tip- "-"

8 - Multi-function steering wheel "+" - Voltage supply

9 Multi-function steering wheel/data

10 - Tip- "+"

11 Multi-function steering wheel/dimmer

12 - Tiptronic Ground (GND)

13 - Heated steering wheel "+"

14 - Heated steering wheel "-"

D - Steering Angle Sensor

1 Light barrier 5

3 Light barrier 1

3 Light barrier 1

4 - 12V voltage supply

5 - 5 V voltage supply

6 Light barrier 6

7 Light barrier 4

8 Light barrier 2

9 Steering Angle Sensor ground

10 Light barrier 7

E - Horn

1 Horn ground

2 Horn

F - Wiper system

1 - Ground (GND)

2 Intermittent wipe potentiometer

3 - Board computer

4 Not used

5 Wash

6 Wipe