Camshaft Adjustment Valve , Checking
This procedure is used to check the Camshaft Adjustment Valves N205, N208, N318, N319.
Special tools, testers and auxiliary items required
- Multimeter V.A.G 1526 A or equivalent.
- Voltage Tester VAG1527B or equivalent.
- Test Box 105 Pin VAG1598/42.
- Adapter Lead VAG1598/39 VAG1598/39-1.
Test requirements
- The Camshaft Adjustment Valves fuses OK.
- Ignition switched off.
- The Engine Control Module (ECM) Power Supply Relay J271 OK.
- Voltage for camshaft adjustment solenoid valves is supplied by the Engine Control Module (ECM) Power Supply Relay J271.
Test procedure
- Perform a preliminary check to verify the customers complaint. Refer to → General Diagnosis .
Start diagnosis
- Remove the front engine cover - arrows -.
- Remove the rear engine cover - arrows -.
Cylinder bank 1 (right)
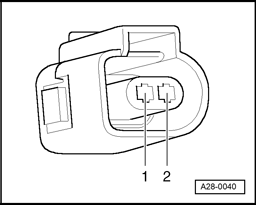
- Disconnect the Camshaft Adjustment Valve 1 (exhaust) N318 electrical harness connector or - 1 - the Camshaft Adjustment Valve 1 N205 - 2 -.
Cylinder bank 2 (left)
- Remove the screw - arrow - retaining the coolant reservoir.
- Disconnect the Engine Coolant Level (ECL) Warning Switch F66 electrical harness connector from the bottom of the coolant reservoir and set aside the coolant reservoir with the coolant hoses - 1 - and - 2 - connected.
- Disconnect the Camshaft Adjustment Valve 2 N208 electrical harness connector - 2 - or the Camshaft Adjustment Valve 2 (exhaust) N319 - 3 -.
Checking internal resistance
- Using a Multimeter , check the Camshaft Adjustment Valve for resistance.
Specified value: 5.0 to 8.0 Ω (at approx. 20°C)
If the specified value was not obtained:
- Replace the faulty Camshaft Adjustment Valve → 15 - ENGINE - CYLINDER HEAD, VALVETRAIN .
If the specified value was obtained:
Checking voltage
- Switch the ignition on.
- Using a Multimeter , Check the Camshaft Adjustment Valve electrical harness connector terminal 1 to the Engine Control Module (ECM) Power Supply Relay J271 terminal 2/87 for voltage.
- Switch the ignition off.
Specified value: battery voltage.
If the specified value was not obtained:
- Check the wiring connection for an open circuit or a short circuit Ground (GND).
- Check the wiring connection for damage, corrosion, lose or broken terminals.
- If necessary, repair the faulty wiring connection.
If the specified value was obtained:
Checking wiring
If the manufacturers test box is being used. Perform the following step.
- Install the test box. Refer to → 24 - FUEL INJECTION SYSTEM .
If the manufacturers test box is not being used. Perform the following step.
- Remove the Engine Control Module (ECM) J623. Refer to → Engine Control Module (ECM) J623 , Removing and Installing .
- Using a Multimeter , Check the Camshaft Adjustment Valve electrical harness connector terminal 2 to the Engine Control Module (ECM) J623 electrical harness connector T60 terminal for an open circuit.
| Camshaft Adjustment Valve 1 N205 electrical harness connector terminal | Engine Control Module (ECM) electrical harness connector T60 terminal or test box socket |
|---|---|
| 2 | 51 |
| Camshaft Adjustment Valve 2 N208 electrical harness connector terminal | Engine Control Module (ECM) electrical harness connector T60 terminal or test box socket |
|---|---|
| 2 | 74 |
| Camshaft Adjustment Valve 1 (exhaust) N318 electrical harness connector terminal | Engine Control Module (ECM) electrical harness connector T60 terminal or test box socket |
|---|---|
| 2 | 27 |
| Camshaft Adjustment Valve 2 (exhaust) N319 electrical harness connector terminal | Engine Control Module (ECM) electrical harness connector T60 terminal or test box socket |
| 2 | 39 |
Specified value: 1.5 Ω Max.
If the specified value was not obtained:
- Check the wiring connection for an open circuit, short circuit to Battery (+) or Ground (GND).
- Check the wiring connection for damage, corrosion, lose or broken terminals.
- If necessary, repair the faulty wiring connection.
If no malfunction is found in the wiring and voltage supply was not OK:
- Replace the Engine Control Module (ECM) J623. Refer to → Engine Control Module (ECM) J623 , Removing and Installing .
Assembly is performed in the reverse order of removal.
Final procedures
After repair work, the following work steps must be performed in the following sequence:
- Check the DTC memory.
- If necessary, erase the DTC memory. Refer to Diagnostic Mode 04: Reset/delete Diagnostic Data .
- If the DTC memory was erased, generate readiness code. Refer to Readiness Code .
- End of diagnosis.