LEMON Manuals: Even more car manuals for everyone
Home >> Audi >> 2007 >> A6 Base >> Repair and Diagnosis (Single Page) >> Quick Lookups >> Wiring Diagrams >> OEM Connector End Views >> Connector End Views >> Vehicle Electrical System Control Module Connector End View (J519, T10, T12, T32c)

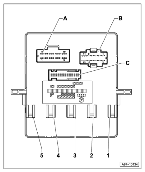
Vehicle Electrical System Control Module Connector End View (J519, T10, T12, T32c)

Fig 1: Vehicle Electrical System Control Module Connector End View (J519, T10, T12, T32c)
G10359763Courtesy of AUDI OF AMERICA, LLC
A 10-Pin Connector, black -T10-
B 12-Pin Connector, black -T12-
C 32-Pin Connector, white -T32c