LEMON Manuals: Even more car manuals for everyone
Home >> Audi >> 2007 >> A6 Base >> Repair and Diagnosis (Single Page) >> Quick Lookups >> Wiring Diagrams >> OEM Connector End Views >> Connector End Views >> Garage Door Opener Control Module Connector End View (J530)

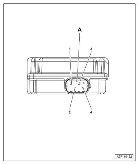
Garage Door Opener Control Module Connector End View (J530)

Fig 1: Garage Door Opener Control Module Connector End View (J530)
G10359750Courtesy of AUDI OF AMERICA, LLC
A 4-Pin Connector