LEMON Manuals: Even more car manuals for everyone
Home >> Audi >> 2007 >> A6 Base >> Repair and Diagnosis (Single Page) >> Quick Lookups >> Wiring Diagrams >> OEM Connector End Views >> Connector End Views >> Access/Start Control Module Connector End View (J518, T20h, T3q)

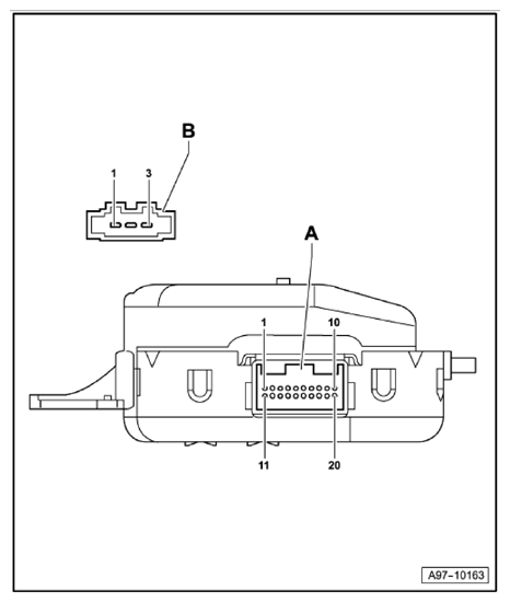
Access/Start Control Module Connector End View (J518, T20h, T3q)

Fig 1: Access/Start Control Module Connector End View (J518, T20h, T3q)
G10359762Courtesy of AUDI OF AMERICA, LLC
A 20-Pin Connector, black -T20h-
B 3-Pin Connector, black -T3q-