LEMON Manuals: Even more car manuals for everyone
Home >> Audi >> 2007 >> A6 Base >> Repair and Diagnosis (Single Page) >> Engine Performance >> System >> 3.2L V6 4V Generic Scan Tool, Engine Code(S): BKH >> 28 - Ignition/Glow Plug System >> Ignition System, Servicing >> Knock Sensor, Checking >> Knock Sensor, Checking

Knock Sensor, Checking

The following procedure is used to check Knock Sensor (KS) 1 G61 and Knock Sensor (KS) 2 G66.

NOTE:
  • Use only gold-plated terminals when servicing terminals in the electrical harness connectors of the Knock Sensor (KS) 1 G61.

Special tools, testers and auxiliary items required 

Test requirements 

Test procedure 

Fig 1: Disconnecting Electrical Harness Connectors
GW00017929Courtesy of VOLKSWAGEN UNITED STATES, INC.
NOTE:
  • The knock sensor electrical connectors can be identified by color. Knock Sensor (KS) 1 -G61- (Bank 1) is green. Knock Sensor (KS) 2 -G66- (Bank 2) is gray.

1 - Knock Sensor (KS) 1 -G61-.

2 - Knock sensor (KS) 2 -G66-.

Checking internal resistance 

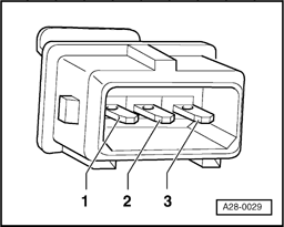
Fig 2: Identifying Knock Sensor Terminals
GW00015766Courtesy of VOLKSWAGEN UNITED STATES, INC.
Knock Sensor Terminal
1 to 2
1 to 3
2 to 3

Specified value: ∞ (Infinity).

If the specified value was not obtained:

If the specified value was obtained:

Checking wiring 

If the manufacturers test box is being used, perform the following step.

If the manufacturers test box is not being used, perform the following step.

Knock Sensor Wiring Harness Connector Terminal Engine Control Module (ECM) J623 Wiring Harness Connector Terminal or Test box Socket
1 Ground (GND) 41
2 (signal) 58
3 (shielding) 42
Knock Sensor Wiring Harness Connector Terminal Engine Control Module (ECM) J623 Wiring Harness Connector Terminal or Test box Socket
1 Ground (GND) 56
2 (signal) 57
3 (shielding) 42

Specified value: 1.5 Ω max.

If the specified value was not obtained:

If no malfunction is found in the wiring and the resistance was not OK:

If the DTC does not return:

Repair complete, Generate readiness code. Refer to → Readiness Code .

If the DTC does return and no malfunction is detected in the wiring and the voltage supply was not OK:

Final procedures 

After the repair work, the following work steps must be performed in the following sequence:

  1. Check the DTC memory.
  2. If necessary, erase the DTC memory. Refer to Diagnostic Mode 04 - Reset/Delete Diagnostic Data .
  3. If the DTC memory was erased, generate readiness code. Refer to Readiness Code .