LEMON Manuals: Even more car manuals for everyone
Home >> Audi >> 2007 >> A3 Base, Standard >> Repair and Diagnosis >> External Pages >> Different variant/trim >> Section 2 (3.2L - Generic Scan Tool - Engine Code(S): Bub) >> St Generic Scan Tool >> Description And Operation >> MOTRONIC Fuel Injection System >> Mass Air Flow Sensor, Checking >> Checking electrical circuit

Checking electrical circuit

WARNING: This page is about a different variant/trim than selected.

If the manufacturers test box is being used. Perform the following step.

-- Install the test box. Refer to Repair information.

If the manufacturers test box is not being used. Perform the following step.

-- Remove the Motronic Engine Control Module (ECM) -J220-. Refer to MOTRONIC ENGINE CONTROL MODULE, REPLACING .

-- Using a multimeter, check the Mass Air Flow (MAF) Sensor -G70- electrical harness connector terminals to the Motronic Engine Control Module (ECM) -J220- electrical harness connector T121 terminals for an open circuit.

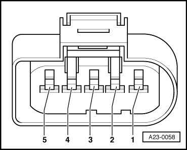
Fig 1: Identifying 5-Pin Electrical Harness Connector & Terminals
GWWA23-0058Courtesy of AUDI OF AMERICA, LLC
Mass Air Flow (MAF) Sensor -G70- electrical harness connector terminals Motronic Engine Control Module (ECM) -J220- electrical connector T121 terminals or test box socket
1 26
3 27
4 53
5 29

Specified value: 1.5 Ω max.

If the specification was not obtained:

-- Check the wiring for a short circuit to each other, Battery (+), and Ground (GND).

-- Check the electrical harness connector for damage, corrosion, lose or broken terminals.

-- If necessary, repair the faulty wiring connection.

If no malfunction is detected in the wiring and if the voltage supply was OK:

-- Replace Mass Air Flow (MAF) Sensor -G70-.

Final procedures

After repair work, the following work steps must be performed in the following sequence:

  1. Check the DTC memory. Refer to DIAGNOSTIC MODE 03 - READ DTC MEMORY .
  2. If necessary, erase the DTC memory. Refer to DIAGNOSTIC MODE 04 - ERASE DTC MEMORY .
  3. If the DTC memory was erased, generate readiness code. Refer to READINESS CODE .

-- End of diagnosis.