Exhaust System, Aligning: Notes
To avoid noise and tension in the exhaust system, install exhaust system as follows:
NOTE:
- Requirement for the installation of exhaust system is the exact alignment and tightening of front pipes and catalytic converters.
- Loosen all threaded connections of exhaust system (except exhaust manifold and flange connection, catalytic converter/intermediate pipe).
- Align exhaust system when cold.
- Following work procedure must be performed in the specified sequence.
- Dimensions provided in the illustrations are approximate.
- Vehicles without clamp between center and rear muffler
NOTE:
- Align exhaust system when cold.
- Loosen screws of front clamp between catalytic converter and main muffler.
- Slide exhaust system far enough toward front until end pipe - 1 - has distance - a - from bumper - 2 -.
- Dimension a = at least 40 mm
- Tighten screws of front clamp between catalytic converter and main muffler evenly to 40 Nm, installation position.
- For correct distance of end pipes/bumper, adjust pre-tension on rear mount for rear muffler to - a - = 7 to 11 mm.
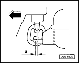
- Vehicles with clamp between center and rear muffler
NOTE:
- Only for vehicles with double clamp between center and rear mufflers, the center muffler must also be aligned.
- Loosen screws of front clamp between catalytic converter and main muffler.
- Push exhaust system far enough forward (- arrow -) that the pre-tension at the retaining loop at rear left of front muffler is - a - = 7 - 9 mm.
- Tighten screws of front clamp between catalytic converter and main muffler evenly to 40 Nm, installation position.
- Slide rear muffler far enough toward front (- arrow -), until pre-tension at rear right retaining loop on rear muffler a = 7 to 11 mm.
- Tighten screws of rear clamp between main muffler and rear muffler evenly to 40 Nm, installation position.
- Pre-tension of retaining loops is correct when distance - a - is set between end pipes - 1 - and bumper - 2 -.
- Dimension a = at least 40 mm