LEMON Manuals: Even more car manuals for everyone
Home >> Audi >> 1994 >> S4 >> Repair and Diagnosis >> Engine Performance >> System >> Engine Controls - System & Component Testing >> Modules, Motors, Relays & Solenoids >> Fuel Pump Relay

Fuel Pump Relay

NOTE: All voltage and continuity tests should be performed with a Digital Volt-Ohmmeter (DVOM) with a minimum 10-megohm input impedance, unless specifically stated differently in testing procedures. For help with diagnostic testing. See WIRING DIAGRAMS .

The fuel pump relay is located in the central electric panel under the instrument cluster, on the left side. See Figure

  1. Remove console in left front footwell. Unfasten passenger side A-pillar lower trim. Fold back carpet in right front footwell. Remove cover from electronics box.
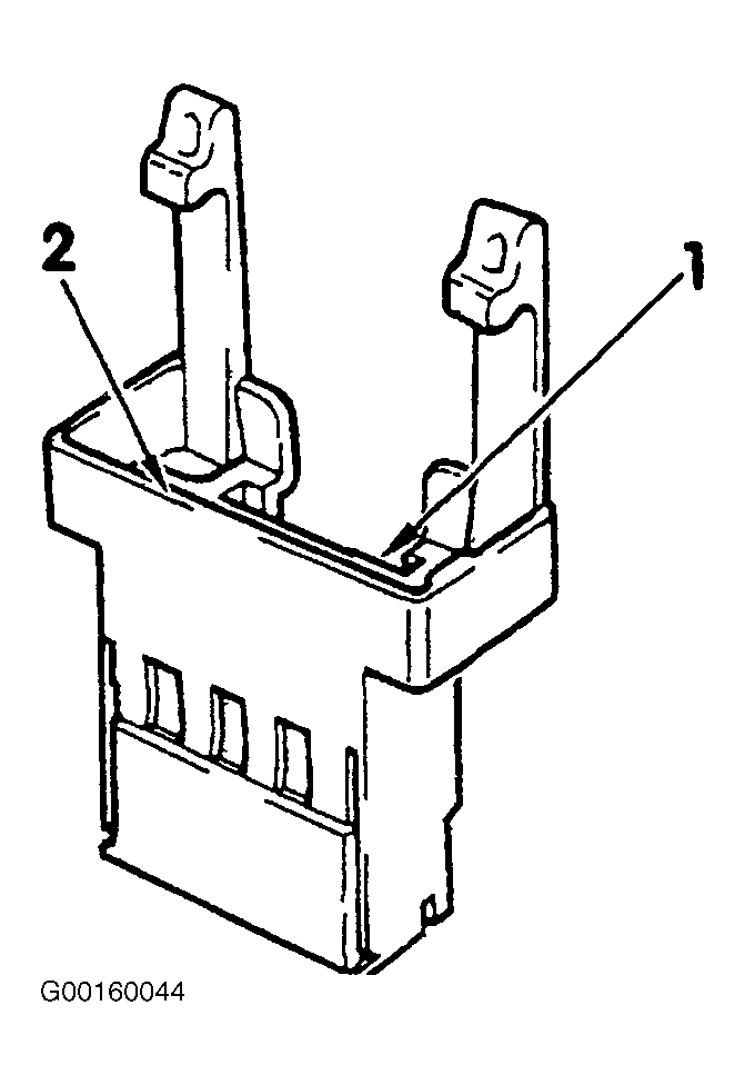
  2. Remove Heated Oxygen Sensor (HO2S) circuit breaker S73 located in Yellow holder in auxiliary relay carrier tube (on A-pillar, right side). See Figure. Remove the following:
    • Evaporative Emission (EVAP) frequency valve circuit breaker S75 (position 1, Black holder)
    • Injector valve circuit breaker S72 (position -2-, Brown holder)
    See Figure. Remove fuse No. 17 (15-Amp) from fuse holder. See Figure.
  3. Connect LED tester (US 1115) between ground and either terminal of fuse No. 17, using adapter cables from connector test kit (VW 1594).
  4. Operate starter briefly. Fuel pump must begin running. LED tester must light up.
  5. If fuel pump does NOT activate, check control signal. See FUEL PUMP RELAY CONTROL SIGNAL .
  6. If LED tester does NOT light up. Repeat test on other terminal of fuse No. 17 (15-Amp).
  7. If LED tester still does NOT light up, check continuity (according to wiring diagram) between fuse No. 17, and terminal No. 30 (of central electric panel relay position 6). See Figure. Repair or replace wiring, as necessary. See WIRING DIAGRAMS .
  8. Connect LED tester between and terminal No. 1 of Black holder EVAP frequency valve circuit breaker S75. See Fig 1.
  9. Operate starter briefly. Fuel pump relay must be activated, LED tester must light up. If LED tester does NOT light up: Connect LED tester to, terminal No. 2 of circuit breaker holder, and repeat test.
  10. If LED tester still does NOT light up, check continuity (according to wiring diagram) between circuit breaker and terminal No. 31 (of central electric panel relay position 6). See Figure. Repair open circuit as necessary. See WIRING DIAGRAMS .
  11. Connect LED tester between ground and terminal No. 1 of Brown fuse holder for injector valve circuit breaker S72. See Fig 1.
  12. Operate starter briefly. Fuel pump relay must be activated, LED tester must light up. If LED tester does NOT light up, connect LED tester to terminal No. 2 of circuit breaker and repeat test.
  13. If LED tester still does NOT light up, check continuity (according to wiring diagram) between circuit breaker and terminal No. 31 (of central electric panel relay position 6). See Figure. Repair open circuit as necessary. See WIRING DIAGRAMS .
  14. Connect LED tester between ground and terminal No. 1 of Yellow holder for Heated Oxygen Sensor (HO2S) circuit breaker -S73-. Located in auxiliary relay holder 2, on A-pillar, right side.
  15. Operate starter briefly. Fuel pump relay must be activated. LED tester must light up. If LED tester does NOT light up, connect LED tester to terminal No. 2, and repeat test.
  16. If LED tester still does NOT light up, check continuity (according to wiring diagram) between circuit breaker holder and terminal No. 30 (of central electric panel relay position 6). See Figure. Repair or replace wiring, as necessary. See WIRING DIAGRAMS .
Fig 1: Identifying Circuit Breaker Holder & terminal No. Positions
G00160044Courtesy of AUDI OF AMERICA, INC.