LEMON Manuals: Even more car manuals for everyone
Home >> Acura >> 2023 >> MDX Base >> Repair and Diagnosis >> Engine Performance >> Engine Control Systems >> Body Electrical System - Troubleshooting - System Description >> Description & Operation >> Keyless/Power Door Locks/Security System Description - System Diagram

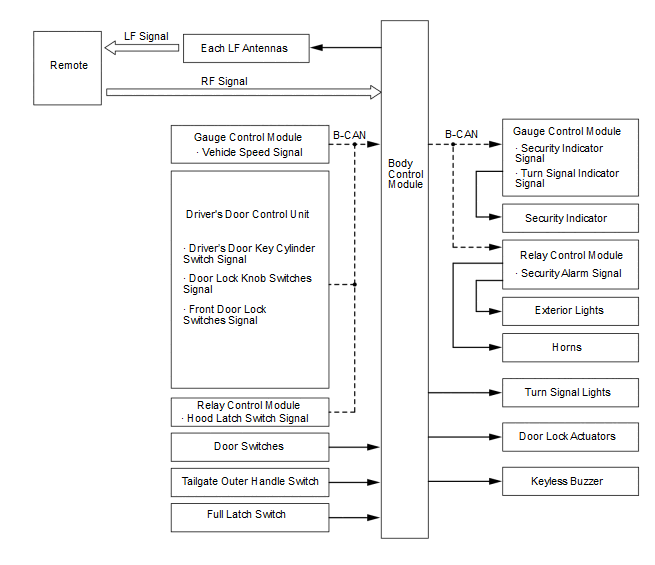
Keyless/Power Door Locks/Security System Description - System Diagram

For locations of each component on vehicle, refer to Component Location Index 

GHH659585Courtesy of HONDA, U.S.A., INC.