LEMON Manuals: Even more car manuals for everyone
Home >> Acura >> 2023 >> MDX Base >> Repair and Diagnosis >> Engine Performance >> Engine Control Systems >> Body Electrical System - Troubleshooting - System Description >> Description & Operation >> Interior Lights System Description - System Diagram

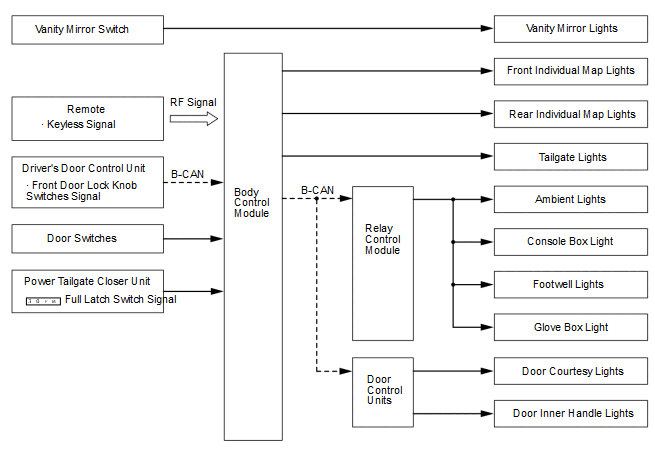
Interior Lights System Description - System Diagram

For locations of each component on the vehicle, refer to the Component Location Index

Without Master Lighting Control Unit 

GHH659556Courtesy of HONDA, U.S.A., INC.

With Master Lighting Control Unit 

GHH659557Courtesy of HONDA, U.S.A., INC.