LEMON Manuals: Even more car manuals for everyone
Home >> Acura >> 2023 >> Integra Base, Standard Trans >> Repair and Diagnosis >> External Pages >> Different variant/trim >> Section 1 (Electrical Component Locator And Service Information : Center Console Area(CVT)) >> Exploded View >> Center Console Area (CVT) >> Repair Procedure

Repair Procedure

WARNING: This page is about a different variant/trim than selected.

How to use this service information .

Center Console Assembly Removal 

GHH652165Courtesy of HONDA, U.S.A., INC.

: Torque, N.m (lbf.ft)

: Replace

: Warning/Caution

: Inspection/Adjustment

*: Learning

: SPL Tool

: Required Removal

GHH652166Courtesy of HONDA, U.S.A., INC.

: Torque, N.m (lbf.ft)

: Replace

: Warning/Caution

: Inspection/Adjustment

*: Learning

: SPL Tool

: Required Removal

*1: Without wireless charger

GHH652167Courtesy of HONDA, U.S.A., INC.

: Torque, N.m (lbf.ft)

: Replace

: Warning/Caution

: Inspection/Adjustment

*: Learning

: SPL Tool

: Required Removal

GHH652168Courtesy of HONDA, U.S.A., INC.

: Torque, N.m (lbf.ft)

: Replace

: Warning/Caution

: Inspection/Adjustment

*: Learning

: SPL Tool

: Required Removal

*1: Display audio type (9-inch screen)

*2: Color audio type (7-inch screen)

*3: With wireless charger

GHH652169Courtesy of HONDA, U.S.A., INC.

: Torque, N.m (lbf.ft)

: Replace

: Warning/Caution

: Inspection/Adjustment

*: Learning

: SPL Tool

: Required Removal

*1: Display audio type (9-inch screen)

  1. A.-
    GHH652170Courtesy of HONDA, U.S.A., INC.
  2. B.-

    Key Information 

    Do the following before starting your work.

    Remove: 

    Sub-Procedure 

    ■ Removal 

    • Refer to the figure.
    GHH652171Courtesy of HONDA, U.S.A., INC.
  3. C.-
    GHH652172Courtesy of HONDA, U.S.A., INC.
  4. D.-
    GHH652173Courtesy of HONDA, U.S.A., INC.
  5. E.-

    Sub-Procedure 

    ■ Removal 

    • Refer to the figure.
    GHH652174Courtesy of HONDA, U.S.A., INC.
  6. F.-
    GHH652175Courtesy of HONDA, U.S.A., INC.
  7. G.-

    Sub-Procedure 

    ■ Removal 

    NOTICE: 

    Do not wipe off the special grease.

    • Refer to the figure.
    GHH652176Courtesy of HONDA, U.S.A., INC.
  8. H.-

    Sub-Procedure 

    ■ Removal 

    • Refer to the figure.
    GHH652177Courtesy of HONDA, U.S.A., INC.
  9. I.-

    Sub-Procedure 

    GHH652178Courtesy of HONDA, U.S.A., INC.

    ■ Removal 

    • Refer to the figure.
  10. J.-

    Preconditions 

    • Transmission R position/mode

    Sub-Procedure 

    NOTICE: 

    • Do not bend the shift cable excessively.
    • Do not remove the shift cable by pulling the shift cable guide (a). (Figure 1)

    Figure 1 

    GHH652179Courtesy of HONDA, U.S.A., INC.

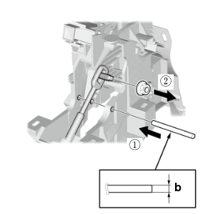
    ■ Removal 

    1. Refer to figure 2.

    Pin Specifications (Figure 2) 

    Specification
    b 6.0 mm (0.24 in)

    Figure 2 

    GHH652180Courtesy of HONDA, U.S.A., INC.

    2. Refer to figure 3.

    Figure 3 

    GHH652181Courtesy of HONDA, U.S.A., INC.

    ■ Installation 

    1. Adjust shift cable .

    2. Refer to figure 4.

    Figure 4 

    GHH652182Courtesy of HONDA, U.S.A., INC.

    3. Make sure that the shift cable end (a) is properly installed on the mounting stud (b). (Figure 5)

    Figure 5 

    GHH652183Courtesy of HONDA, U.S.A., INC.

    After Installation 

    • Shift cable after install check.
      • Turn the vehicle to the ON mode.
      • Move the shift lever to each position/mode, and check that the shift position indicator follows the shift lever operation.
      • Shift the transmission to P position/mode, and check that the shift lock works properly.
      • Push the shift lock release, and check that the shift lever releases. Also check that the shift lever locks when it is shifted back to P position/mode.
      • Start the engine.
        NOTE:

        Check that the engine starts in P or N position/mode, and does not start in any other positions/modes.

      • Make sure the vehicle is turned to the OFF (LOCK) mode with the shift lever in P position/mode. If it is not, adjust the shift cable again.
  11. K.-

    Sub-Procedure 

    ■ Removal 

    NOTICE: 

    Do not wipe off the special grease.

  12. L.-
    GHH652184Courtesy of HONDA, U.S.A., INC.
  13. M.-
    GHH652185Courtesy of HONDA, U.S.A., INC.
  14. N.-
    GHH652186Courtesy of HONDA, U.S.A., INC.
  15. O.-
    GHH652187Courtesy of HONDA, U.S.A., INC.
  16. P.-
    GHH652188Courtesy of HONDA, U.S.A., INC.
  17. Q.-
    GHH652189Courtesy of HONDA, U.S.A., INC.
  18. R.-
    GHH652190Courtesy of HONDA, U.S.A., INC.
  19. S.-
    GHH652191Courtesy of HONDA, U.S.A., INC.
  20. T.-

    Sub-Procedure 

    GHH652192Courtesy of HONDA, U.S.A., INC.

    ■ Removal 

    • Refer to the figure.
  21. U.-

    Sub-Procedure 

    GHH652193Courtesy of HONDA, U.S.A., INC.

    ■ Removal 

    • Refer to the figure.
  22. V.-

    Sub-Procedure 

    ■ Removal 

    • Refer to the figure.
    GHH652194Courtesy of HONDA, U.S.A., INC.
  23. W.-

    Sub-Procedure 

    GHH652195Courtesy of HONDA, U.S.A., INC.

    ■ Removal 

    • Refer to the figure.
  24. X.-
    GHH652196Courtesy of HONDA, U.S.A., INC.
  25. Y.-
    GHH652197Courtesy of HONDA, U.S.A., INC.
  26. Z.-
    GHH652198Courtesy of HONDA, U.S.A., INC.
  27. AA.-

    Sub-Procedure 

    GHH652199Courtesy of HONDA, U.S.A., INC.

    ■ Removal 

    NOTICE: 

    Do not wipe off the special grease.

    • Refer to the figure.
  28. AB.-

    Sub-Procedure 

    GHH652200Courtesy of HONDA, U.S.A., INC.

    ■ Removal 

    • Refer to the figure.