LEMON Manuals: Even more car manuals for everyone
Home >> Acura >> 2023 >> Integra Base, Automatic CVT Trans >> Repair and Diagnosis >> Transmission >> Transmission Control Systems >> Electrical Component Locator And Service Information : Transmission Area(CVT) >> Exploded View >> Transmission Area (CVT) >> Repair Procedure

Repair Procedure

How to use this service information .

NOTICE: 

Keep all foreign particles out of the transmission.

GHH657025Courtesy of HONDA, U.S.A., INC.

: Torque, N.m (lbf.ft)

: Replace

: Warning/Caution

: Inspection/Adjustment

*: Learning

: SPL Tool

: Required Removal

GHH657026Courtesy of HONDA, U.S.A., INC.

: Torque, N.m (lbf.ft)

: Replace

: Warning/Caution

: Inspection/Adjustment

*: Learning

: SPL Tool

: Required Removal

*1: 2 types

GHH657027Courtesy of HONDA, U.S.A., INC.

: Torque, N.m (lbf.ft)

: Replace

: Warning/Caution

: Inspection/Adjustment

*: Learning

: SPL Tool

: Required Removal

GHH657028Courtesy of HONDA, U.S.A., INC.

: Torque, N.m (lbf.ft)

: Replace

: Warning/Caution

: Inspection/Adjustment

*: Learning

: SPL Tool

: Required Removal

GHH657029Courtesy of HONDA, U.S.A., INC.

: Torque, N.m (lbf.ft)

: Replace

: Warning/Caution

: Inspection/Adjustment

*: Learning

: SPL Tool

: Required Removal

  1. A.-

    Key Information 

    Do the following before starting your work.

    Remove: 

    Sub-Procedure 

    NOTICE: 

    Do not bend the shift cable excessively.

    Figure 1 

    GHH657030Courtesy of HONDA, U.S.A., INC.

    ■ Installation 

    1. Apply specified grease to inner surface of hole.

    Lubricant Specifications (Figure 1) 

    Position Type
    a Molybdenum Grease

    Figure 2 

    GHH657031Courtesy of HONDA, U.S.A., INC.

    2. Install the control pin (b). (Figure 2)

    NOTICE:  Make sure the control pin is inserted through the shift cable end (c) and fully seated on the control lever (d). (Figure 2)

    Figure 3 

    GHH657032Courtesy of HONDA, U.S.A., INC.

    3. Install the lock pin (e). (Figure 3)

    NOTICE:  Make sure the lock pin is inserted through the control pin hole (f) to the opening (g) of the control lever (h) so that the hook end (i) of the lock pin locks into the control pin hole. (Figure 3)

    After Installation 

    1. Shift Cable Adjustment

    2. Shift Cable After Install Check

    Turn the vehicle to the ON mode.

    -2. Move the shift lever to each position/mode, and check that the shift position indicator follows the shift lever operation.

    -3. Shift the transmission to P position/mode, and check that the shift lock works properly.

    -4. Push the shift lock release, and check that the shift lever releases. Also check that the shift lever locks when it is shifted back to P position/mode.

    -5. Start the engine.

    NOTE:

    Check that the engine starts in P or N position/mode, and does not start in any other positions/modes.

    -6. Make sure the vehicle is turned to the OFF (LOCK) mode with the shift lever in P position/mode. If it is not, adjust the shift cable again.

  2. B.-

    Preconditions 

    • Parking Brake Applied
    • Transmission N Position/Mode

    Key Information 

    Do the following before starting your work.

    Remove: 

    Figure 1 

    GHH657033Courtesy of HONDA, U.S.A., INC.

    Sub-Procedure 

    ■ Installation 

    1. Make sure the vehicle is in the N position. If it is not, shift the transmission to N position/mode.

    NOTICE:  Do not use the control shaft (b) to adjust the shift position. If the control shaft tips are squeezed together, it will cause a faulty signal or position due to play between the control shaft and the transmission range switch. (Figure 2)

    Figure 2 

    GHH657034Courtesy of HONDA, U.S.A., INC.

    2. Set the transmission range switch to the N position. Align the cutouts (c) on the rotary-frame with the N positioning cutouts (d) on the transmission range switch, then put a feeler gauge (e) in the cutouts to hold the transmission range switch in the N position. (Figure 2)

    Tool Details (Figure 2) 

    Name
    e Feeler Gauge

    NOTICE: 

    Be sure to use a 2.0 mm (0.079 in) feeler gauge blade or equivalent to hold the transmission range switch in the N position.

    3. Install the transmission range switch gently on the control shaft while holding it in the N position with a feeler gauge.

    NOTICE:  Do not move the transmission range switch when installing it.

    4. Remove the feeler gauge.

    After Installation 

    • Transmission Range Switch After Install Check
      • Turn the vehicle to the ON mode.
      • Move the shift lever to each position/mode, and check that the shift position indicator follows the shift lever operation.
      • Start the engine.
        NOTE:

        Check that the engine starts in P or N position/mode, and does not start in any other positions/modes.

      • Check that the back-up lights come on when the transmission is in R position/mode.
  3. C.-

    Sub-Procedure 

    GHH657035Courtesy of HONDA, U.S.A., INC.

    ■ Installation 

    Installation Directions 

    Position Direction
    a Front
  4. D.-

    Key Information 

    Do the following before starting your work.

    Remove: 

  5. E.-

    Preconditions 

    Key Information 

    Do the following before starting your work.

    Remove: 

    Sub-Procedure 

    ■ Removal 

    1. Turn the vehicle to the OFF (LOCK) mode.

    2. Jump the SCS line with the HDS, and wait more than 1 minute.

    NOTICE:  This step must be done to protect the TCM from damage.

    3. Remove the TCM.

    After Installation 

    Procedure After Replacing TCM 

    1. Electric Oil Pump Air Bleeding - Refer to: Electric Oil Pump Air Bleeding (CVT) or Electric Oil Pump Test (CVT) 2. Transmission Fluid Level Check 3. TCM Update - Refer to: TCM Update (CVT) or TCM Reset (CVT)

  6. F.-

    Preconditions 

    Key Information 

    Do the following before starting your work.

    Remove: 

    Sub-Procedure 

    ■ Installation 

    Lubricant Specifications 

    Object Type
    O-Ring Transmission Fluid

    After Installation 

    1. Electric Oil Pump Air Bleeding - Refer to: Electric Oil Pump Air Bleeding (CVT) or Electric Oil Pump Test (CVT) 2. Transmission Fluid Level Check

  7. G.-

    Sub-Procedure 

    GHH657036Courtesy of HONDA, U.S.A., INC.

    ■ Installation 

    Installation Directions 

    Position Direction
    a Transmission Side

    Lubricant Specifications 

    Object Type
    O-Ring Transmission Fluid
  8. H.-

    Sub-Procedure 

    GHH657037Courtesy of HONDA, U.S.A., INC.

    ■ Installation 

    Installation Directions 

    Position Direction
    a Transmission Side

    Lubricant Specifications 

    Object Type
    O-Ring Transmission Fluid
  9. I.-

    Key Information 

    Do the following before starting your work.

    Remove: 

    Sub-Procedure 

    ■ Installation 

    Lubricant Specifications 

    Object Type
    O-Ring Transmission Fluid
  10. J.-

    Preconditions 

    Key Information 

    Do the following before starting your work.

    Remove: 

    Sub-Procedure 

    NOTICE: 

    When disconnecting/connecting the hose, do not bend the pipe excessively or it will be damaged or deformed.

    Figure 1 

    GHH657038Courtesy of HONDA, U.S.A., INC.

    ■ Removal 

    • To prevent damage, cover the connector (a) located under the CVTF warmer using a shop towel. (Figure 1)

    Figure 2 

    GHH657039Courtesy of HONDA, U.S.A., INC.

    ■ Installation 

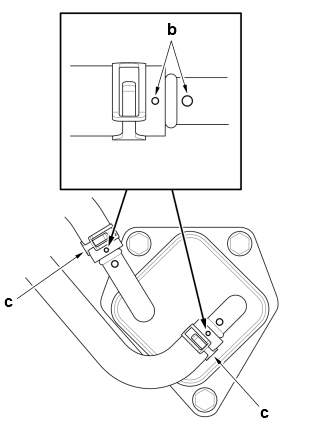
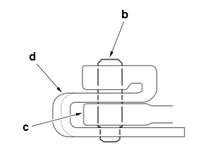
    • Connect the hoses while aligning the paint marks (b) as shown. (Figure 2)

    NOTICE: 

    When securing the clamps (c), make sure they do not interfere with the surrounding parts. (Figure 2)

    After Installation 

  11. K.-

    Sub-Procedure 

    NOTICE: 

    The CVTF warmer is an aluminum part. Be careful not to damage the CVTF warmer.

    GHH657040Courtesy of HONDA, U.S.A., INC.

    ■ Installation 

    Lubricant Specifications 

    Object Type
    O-Ring Transmission Fluid

    NOTICE: 

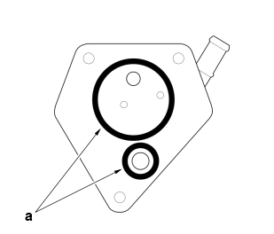
    Make sure the O-rings (a) are firmly installed in the grooves.

    After Installation 

  12. L.-

    Sub-Procedure 

    ■ Removal 

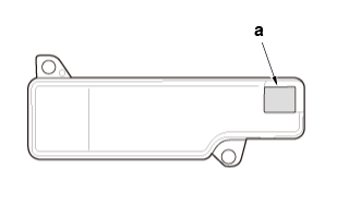
    • Clean the CVTF warmer strainer if necessary. Replace the CVTF warmer strainer, if it is clogged or damaged.
    GHH657041Courtesy of HONDA, U.S.A., INC.

    ■ Installation 

    Installation Directions 

    Position Direction
    a Transmission Side

    Lubricant Specifications 

    Object Type
    O-Ring Transmission Fluid
  13. M.-

    Key Information 

    Do the following before starting your work.

    Remove: 

    Sub-Procedure 

    ■ Installation 

    Lubricant Specifications 

    Object Type
    O-Ring Transmission Fluid

    After Installation 

  14. N.-

    Key Information 

    Do the following before starting your work.

    Remove: 

    Sub-Procedure 

    ■ Removal/Installation 

    NOTICE: 

    Be careful not to damage the plastic part.

    After Installation 

    1. Transmission Fluid Level Check

    2. CVT Learning Value Reset (Only for Replacing CVT Driven Pulley Pressure Sensor) - Refer to: CVT Learning Value Reset (CVT) or CVT Road Test (CVT) or Stall Speed Test (CVT)

    NOTE:

    This procedure is not required, if the CVT driven pulley pressure sensor and the TCM are replaced simultaneously.

  15. O.-

    Key Information 

    Do the following before starting your work.

    Remove: 

    Sub-Procedure 

    ■ Installation 

    Lubricant Specifications 

    Object Type
    O-Ring Transmission Fluid

    After Installation 

  16. P.-

    Preconditions 

    Key Information 

    Do the following before starting your work.

    Disconnect: 

    Sub-Procedure 

    GHH657042Courtesy of HONDA, U.S.A., INC.

    ■ Installation 

    Lubricant Specifications 

    Position Type
    a Transmission Fluid

    Specifications 

    Specification
    b Flush with Housing

    After Installation 

    1. Transmission Fluid Refill

    2. Electric Oil Pump Air Bleeding - Refer to: Electric Oil Pump Air Bleeding (CVT) or Electric Oil Pump Test (CVT) 3. Transmission Fluid Level Check

  17. Q.-

    Preconditions 

    Key Information 

    Do the following before starting your work.

    Remove: 

    Sub-Procedure 

    GHH657043Courtesy of HONDA, U.S.A., INC.

    ■ Installation 

    Lubricant Specifications 

    Position Type
    a Transmission Fluid

    Specifications 

    Specification
    b Flush with Housing

    After Installation 

    1. Transmission Fluid Refill

    2. Electric Oil Pump Air Bleeding - Refer to: Electric Oil Pump Air Bleeding (CVT) or Electric Oil Pump Test (CVT) 3. Transmission Fluid Level Check

  18. R.-

    Preconditions 

    Key Information 

    Do the following before starting your work.

    Remove: 

    Sub-Procedure 

    ■ Installation 

    • Remove metal particles from the magnetic surface of the drain plug.

    After Installation 

    1. Transmission Fluid Refill

    2. Electric Oil Pump Air Bleeding - Refer to: Electric Oil Pump Air Bleeding (CVT) or Electric Oil Pump Test (CVT) 3. Transmission Fluid Level Check

  19. S.-
    NOTE:

    The actual transmission fluid (HCF-2) capacity will vary from the specified capacity based on the length of time the transmission fluid pan is off the transmission. Avoid leaving the transmission fluid pan off for extend periods of time.

    Preconditions 

    Key Information 

    Do the following before starting your work.

    Remove: 

    Sub-Procedure 

    ■ Installation 

    NOTICE: 

    • Be careful not to pinch solenoid wire harness A and B.
    • Tighten the bolts in a crisscross pattern in at least two steps.

    After Installation 

    1. Transmission Fluid Refill

    2. Electric Oil Pump Air Bleeding - Refer to: Electric Oil Pump Air Bleeding (CVT) or Electric Oil Pump Test (CVT) 3. Transmission Fluid Level Check

  20. T.-

    Sub-Procedure 

    GHH657044Courtesy of HONDA, U.S.A., INC.

    ■ Removal 

    1. Clean the inlet opening (a) of the transmission fluid strainer thoroughly with compressed air, then check that it is in good condition and that the inlet opening is not clogged.

    2. Check the transmission fluid strainer for clogs, debris, or damage. If the strainer is clogged or damaged, replace it.

    ■ Installation 

    • Install the transmission fluid strainer straightly to avoid damaging the O-ring.

    Lubricant Specifications 

    Object Type
    O-Ring Transmission Fluid

    NOTICE: 

    Be careful not to pinch solenoid wire harness A and B.

  21. U.-

    Sub-Procedure 

    ■ Installation 

    Lubricant Specifications 

    Object Type
    O-Ring Transmission Fluid
  22. V.-
    NOTE:

    The valve body assembly and the following parts are not available separately. Replace them as a set.

    • CVT drive pulley pressure control solenoid valve
    • CVT driven pulley pressure control solenoid valve
    • CVT clutch pressure control solenoid valve
    • CVT lock-up clutch control solenoid valve
    • Shift solenoid valve B
    • Solenoid wire harness B

    Key Information 

    Do the following before starting your work.

    Remove: 

    Sub-Procedure 

    Figure 1 

    GHH657045Courtesy of HONDA, U.S.A., INC.

    ■ Removal 

    • Remove the appropriate bolts (a) as shown. (Figure 1)

    NOTICE: 

    • Check that the valve body assembly is free of solenoid wire harness A.
    • Be careful not to damage solenoid wire harness A.

    Figure 2 

    GHH657046Courtesy of HONDA, U.S.A., INC.

    ■ Installation 

    Installation Information (Figure 2) 

    Size
    b 90 mm (3.54 in)
    c 80 mm (3.15 in)
    d 65 mm (2.56 in)
    e 55 mm (2.17 in)
    Size
    f 40 mm (1.57 in)

    NOTICE: 

    Be careful not to pinch solenoid wire harness A and B.

    After Installation 

  23. W.-

    Sub-Procedure 

    Figure 1 

    GHH657047Courtesy of HONDA, U.S.A., INC.

    Figure 2 (Joint Pipe) 

    GHH657048Courtesy of HONDA, U.S.A., INC.

    ■ Installation 

    • Install the pipes at the appropriate points as shown.

    Lubricant Specifications 

    Object Type
    O-Ring Transmission Fluid

    Installation Information (Figure 1) 

    Name
    a 8 x 133.5 mm Pipe
    b 10.9 x 18.5 mm Pipe
    c 10.9 x 26 mm Pipe
    d 12 x 56.7 mm Pipe
    e 14.3 x 36.2 mm Pipe
    f 18 x 18 mm Pipe
    g Joint Pipe

    Installation Directions (Figure 2) 

    Object Position Direction
    Joint Pipe h Transmission Side

    NOTICE: 

    • Be careful not to drop the filter (i) of the joint pipe. (Figure 2)
    • You can install the 12 x 56.7 mm pipe and the 14.3 x 36.2 mm pipe regardless of there direction.
  24. X.-
    NOTE:

    Solenoid wire harness A and the transmission fluid temperature sensor are not available separately. Replace them as a set.

    Sub-Procedure 

    Figure 1 

    GHH657049Courtesy of HONDA, U.S.A., INC.

    ■ Removal 

    1. Disconnect the connectors (a). (Figure 1)

    2. Remove the transmission fluid temperature sensor (b). (Figure 1)

    Figure 2 

    GHH657050Courtesy of HONDA, U.S.A., INC.

    ■ Installation 

    • Install the solenoid wire harness A connector straightly to avoid damaging the O-ring.

    Lubricant Specifications 

    Object Type
    O-Ring Transmission Fluid

    NOTICE: 

    Make sure each branch of solenoid wire harness A goes through the appropriate location, especially as shown, one (c) must be located to the inside from the other (d). (Figure 2)

  25. Y.-

    Sub-Procedure 

    GHH657051Courtesy of HONDA, U.S.A., INC.

    ■ Installation 

    • Install the transmission fluid pump by aligning the guide pin (a) with the guide hole (b).

    Lubricant Specifications 

    Position Type
    c Transmission Fluid

    After Installation 

  26. Z.-

    Key Information 

    Do the following before starting your work.

    Remove: 

    Move: 

    Sub-Procedure 

    GHH657052Courtesy of HONDA, U.S.A., INC.

    ■ Removal 

    • Lift and support the transmission with a floor jack (a) and a wood block (b).

    Tool Details 

    Name
    a Floor Jack (Commercially Available)

    ■ Installation 

  27. AA.-

    Preconditions 

    Key Information 

    Do the following before starting your work.

    Remove: 

  28. AB.-

    Preconditions 

    Key Information 

    NOTE:

    For the removal and installation procedure, refer to Transmission Removal and Installation and the sub-procedure below.

    Sub-Procedure 

    NOTICE: 

    Use fender covers to avoid damaging painted surfaces.

    Figure 1 

    GHH657053Courtesy of HONDA, U.S.A., INC.

    ■ Removal 

    1. Remove eight bolts (a) while rotating the crankshaft pulley. (Figure 1)

    Figure 2 

    GHH657054Courtesy of HONDA, U.S.A., INC.

    2. Check that the transmission is free of hoses and electrical wiring.

    3. Hold the transmission as shown. (Figure 2)

    Tool Details (Figure 2) 

    Name
    b Transmission Jack (Commercially Available)

    4. Remove the transmission carefully.

    NOTICE:  Be careful not to drop the torque converter.

    After Installation 

    1. Shift Cable Adjustment

    2. Transmission Fluid Refill

    3. Electric Oil Pump Air Bleeding

    4. Transmission Fluid Level Check

    5. Transmission After Install Check

    Make sure all four wheels to rotate freely.

    -2. Turn the vehicle to the ON mode.

    -3. Move the shift lever to each position, and check that the shift position indicator follows the shift lever operation.

    -4. Start the engine.

    NOTE:

    Check that the engine starts in P or N position/mode, and does not start in any other positions/modes.

    -5. Check the shift lever operation.

    -6. Make sure the vehicle is turned to the OFF (LOCK) mode with the shift lever in P position/mode. If it is not, adjust the shift cable again.

    6. CVT Learning Value Reset (Only for Replacing Transmission) - Refer to: CVT Learning Value Reset (CVT) or CVT Road Test (CVT) or Stall Speed Test (CVT)

    NOTE:

    This procedure is not required, if the transmission and the TCM are replaced simultaneously.

    7. Front Wheel Alignment Check

    8. VSA Sensor Neutral Position Memorization - Refer to: VSA Modulator-Control Unit Update or VSA Sensor Neutral Position Memorization 9. Vehicle Road Test - Refer to: CVT Learning Value Reset (CVT) or CVT Road Test (CVT) or Stall Speed Test (CVT)

  29. AC.-

    Sub-Procedure 

    ■ Removal 

    • Inspect the drive plate, and replace it if it is damaged.

    ■ Installation 

    NOTICE: 

    Tighten the bolts in a crisscross pattern in at least two steps.

  30. AD.-

    Sub-Procedure 

    ■ Installation 

    • Make sure the torque converter is fully engaged on the transmission. Failure to do so will result in severe transmission or engine damage.