Repair Procedure
How to use this service information .
: Torque, N.m (lbf.ft)
: Replace
: Warning/Caution
: Inspection/Adjustment
*: Learning
: SPL Tool
: Required Removal
: Torque, N.m (lbf.ft)
: Replace
: Warning/Caution
: Inspection/Adjustment
*: Learning
: SPL Tool
: Required Removal
: Torque, N.m (lbf.ft)
: Replace
: Warning/Caution
: Inspection/Adjustment
*: Learning
: SPL Tool
: Required Removal
: Torque, N.m (lbf.ft)
: Replace
: Warning/Caution
: Inspection/Adjustment
*: Learning
: SPL Tool
: Required Removal
- A.-
WARNING:
Do not insert your fingers into the installed throttle body when you turn the vehicle to the ON mode, or while the vehicle is in ON mode. If you do, you will seriously injure your fingers if the throttle valve is activated.
Preconditions
Key Information
Do the following before starting your work.
Remove:
- Air Flow Tube - Refer to: Air Cleaner Area (3.0L Engine) or Air Cleaner Area (3.5L Engine)
Sub-Procedure
Removal
NOTE:
- If you are replacing the throttle body, do all of the procedures.
- If you are removing the throttle body, start from step 5.
1. Clear the throttle position (TP) learned value.
- Select the following menu buttons on the HDS screen in sequence.
-
- PGM-FI (System Selection Menu)
- Function Test
- ETCS (TAC) TEST
- TP POSITION CHECK
2. Turn the vehicle to the OFF (LOCK) mode.
3. Turn the vehicle to the ON mode, and wait 2 seconds without pressing the accelerator pedal.
4. Turn the vehicle to the OFF (LOCK) mode.
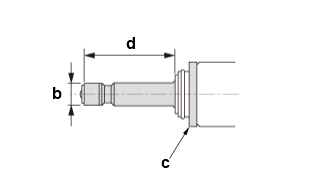
5. Remove the throttle body.
NOTE: Plug the water bypass hoses.
Installation
- Refer to the figure.
Tightening Procedure
Step Operation Object Detail 1 Temporarily Tighten All Bolts and Nuts Until they sit on the throttle body 2 Temporarily Tighten All Bolts and Nuts Until the gasket is compressed 3 Tighten All Bolts and Nuts ->
->
->
After Installation
- Engine Coolant Refill - Refer to: Coolant Check (3.5L Engine) or Coolant Replacement (3.5L Engine) or Coolant Replacement (3.0L Engine) or Coolant Check (3.0L Engine)
- PCM Reset - Refer to: PCM Reset or PCM Update
- PCM Idle Learn
- B.-
WARNING:
Flammable - Keep Fire Away
NOTICE:
Refer to the Fuel and Emissions Systems Service Precautions before doing the procedure.
- C.-
Key Information
Do the following before starting your work.
Remove:
- Air Cleaner Housing - Refer to: Air Cleaner Area (3.0L Engine) or Air Cleaner Area (3.5L Engine)
- D.-
WARNING:
Flammable - Keep Fire Away
NOTICE:
- Refer to the Fuel and Emissions Systems Service Precautions before doing the procedure.
- Refer to the Fuel Line/ Quick-Connect Fitting Precautions before doing the procedure.
Preconditions
- Fuel Pressure Relieved - Refer to: Fuel Pressure Test (3.5L Engine) or Fuel Pressure Test (3.0L Engine) or Fuel Pressure Relieving
- 12 Volt Battery Negative Terminal Disconnected - Refer to: 12 Volt Battery Terminal Disconnection and Reconnection (3.5L Engine) or 12 Volt Battery Terminal Disconnection and Reconnection (3.0L Engine)
Key Information
Do the following before starting your work.
Remove:
- Air Cleaner Housing - Refer to: Air Cleaner Area (3.0L Engine) or Air Cleaner Area (3.5L Engine)
After Installation
- 12 Volt Battery Negative Terminal Reconnect - Refer to: 12 Volt Battery Terminal Disconnection and Reconnection (3.5L Engine) or 12 Volt Battery Terminal Disconnection and Reconnection (3.0L Engine)
- Fuel Leak Check (Low Pressure Side)
- E.-
NOTICE:
Refer to the Fuel Line/ Quick-Connect Fitting Precautions before doing the procedure.
- F.-
Key Information
Do the following before starting your work.
Remove:
- Air Cleaner Housing - Refer to: Air Cleaner Area (3.0L Engine) or Air Cleaner Area (3.5L Engine)
- G.-
Key Information
Do the following before starting your work.
Remove:
- Air Cleaner Housing - Refer to: Air Cleaner Area (3.0L Engine) or Air Cleaner Area (3.5L Engine)
Sub-Procedure
Installation
- Refer to the Figure.
Tightening Procedure
Step Operation Object Detail 1 Temporary Tighten All Bolts and Nuts Until they sit on the intake manifold upper cover 2 Temporary Tighten All Bolts and Nuts Until the gasket is compressed 3 Tighten All Bolts and Nuts ->
->
->
->
->
->
->
->
->
->
- H.-
Sub-Procedure
Installation
- Refer to the Figure.
Tightening Procedure
Step Operation Object Detail 1 Temporary Tighten All Bolts Until they sit on the PCV cover 2 Temporary Tighten All Bolts Until the gasket is compressed 3 Tighten All Bolts ->
->
->
->
- I.-
NOTE: When removing the throttle body, it is not necessary to disconnect the water bypass hoses from the throttle body.
Key Information
NOTE: For the removal and installation procedure, refer to Intake Manifold Removal and Installation - Refer to: Intake Manifold Removal and Installation (3.0L Engine) or Intake Manifold Removal and Installation (3.5L Engine) and the sub-procedure below.
Sub-Procedure
Installation
- Refer to the Figure.
Tightening Procedure
Step Operation Object Detail 1 Temporary Tighten All Bolts and Nuts Until they sit on the intake manifold 2 Temporary Tighten All Bolts and Nuts Until the gasket is compressed 3 Tighten All Bolts and Nuts ->
->
->
->
->
->
->
- J.-
Sub-Procedure
Installation
- Refer to the Figure.
Tightening Procedure
Step Operation Object Detail 1 Temporary Tighten All Bolts and Nuts Until they sit on the intake manifold base 2 Temporary Tighten All Bolts and Nuts Until the gasket is compressed 3 Tighten All Bolts and Nuts ->
->
->
->
->
->
->
->
- K.-
WARNING:
Flammable - Keep Fire Away
NOTICE:
- Refer to the Fuel and Emissions Systems Service Precautions before doing the procedure.
- The fuel joint pipe cannot be reused once it has been removed or loosened. Failure to install a new fuel joint pipe will cause fuel leaks.
Preconditions
- Fuel Pressure Relieved - Refer to: Fuel Pressure Test (3.5L Engine) or Fuel Pressure Test (3.0L Engine) or Fuel Pressure Relieving
- 12 Volt Battery Terminal Disconnected - Refer to: 12 Volt Battery Terminal Disconnection and Reconnection (3.5L Engine) or 12 Volt Battery Terminal Disconnection and Reconnection (3.0L Engine)
Sub-Procedure
Installation
Lubricant Specifications (Figure 1)
Position Type a Polyethylene Glycol (include in new fuel joint pipe kit) b Figure 1
1. If it is not done yet, loosen the bolts (c), then tighten them in an alternating pattern until the high pressure fuel pump is in contact with the rear cylinder head. (Figure 2).
2. Tighten the nuts and the bolts, in sequence. (Figure 2)
NOTE: A crowfoot-type special tool increases the torque applied by the torque wrench. Refer to Service Precautions for details on how to recalculate the torque wrench setting
Tightening Procedure (Figure 2)
Step Operation Object Detail 1 Hand Tighten ,
,
The end of the joint pipe is seated on the fuel rails or the high pressure fuel pump. 2 Loosely Install ,
Set the brackets (d) to the rear cylinder head, and loosely install it. 3 Tighten All Bolts and Nuts ->
->
->
->
->
Figure 2
After Installation
- 12 Volt Battery Terminal Reconnect - Refer to: 12 Volt Battery Terminal Disconnection and Reconnection (3.5L Engine) or 12 Volt Battery Terminal Disconnection and Reconnection (3.0L Engine)
- Fuel Leak Check (High Pressure Side)
- L.-
WARNING:
Flammable - Keep Fire Away
NOTICE:
- Refer to the Fuel and Emissions Systems Service Precautions before doing the procedure.
- Refer to the Fuel Line/ Quick-Connect Fitting Precautions before doing the procedure.
Preconditions
- Fuel Pressure Relieved - Refer to: Fuel Pressure Test (3.5L Engine) or Fuel Pressure Test (3.0L Engine) or Fuel Pressure Relieving
- 12 Volt Battery Terminal Disconnected - Refer to: 12 Volt Battery Terminal Disconnection and Reconnection (3.5L Engine) or 12 Volt Battery Terminal Disconnection and Reconnection (3.0L Engine)
Sub-Procedure
Removal
- Loosen the bolts alternately.
Installation
Lubricant Specifications
Object Type O-Ring Engine Oil - Temporarily tighten the bolts in an alternating pattern until the high pressure fuel pump is in contact with the rear cylinder head.
NOTE:
-
- To prevent damage to the O-ring, do not use any power tools (pneumatic or electric).
- During the fuel joint pipe installation procedure, the bolts are tightened to the specified torque.
After Installation
- 12 Volt Battery Terminal Reconnect - Refer to: 12 Volt Battery Terminal Disconnection and Reconnection (3.5L Engine) or 12 Volt Battery Terminal Disconnection and Reconnection (3.0L Engine)
- Fuel Leak Check (High Pressure Side)
- M.-
Sub-Procedure
Installation
1. Check the high pressure fuel pump cam - Refer to: High Pressure Fuel Pump Cam Inspection (3.0L Engine) or High Pressure Fuel Pump Cam Inspection (3.5L Engine) .
2. Check the position of the high pressure fuel pump cam (a). If needed, rotate the crankshaft to set it to the flat position as shown.
Lubricant Specifications
Position Type a Engine Oil b c - N.-
WARNING:
Flammable - Keep Fire Away
NOTICE:
Refer to the Fuel and Emissions Systems Service Precautions before doing the procedure.
Preconditions
- Fuel Pressure Relieved - Refer to: Fuel Pressure Test (3.5L Engine) or Fuel Pressure Test (3.0L Engine) or Fuel Pressure Relieving
- 12 Volt Battery Negative Terminal Disconnected - Refer to: 12 Volt Battery Terminal Disconnection and Reconnection (3.5L Engine) or 12 Volt Battery Terminal Disconnection and Reconnection (3.0L Engine)
Key Information
NOTE: For the removal and installation procedure, refer to Injector Removal and Installation - Refer to: Injector Removal and Installation (3.5L Engine) or Injector Removal and Installation (3.0L Engine) and the sub-procedure below.
Sub-Procedure
NOTICE:
- When replacing the fuel injector, always replace all three injectors on the same bank as a set.
- If you reuse the injector after removal, note the cylinder number and install it to the same cylinder.
Removal
1. Carefully remove the fuel rail with the injectors straight from the cylinder head.
NOTICE:
If the injector remains on the cylinder head, carefully remove the injector straight from the cylinder head.
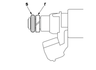
2. Carefully remove the seal (a) from the injector. (Figure 1)
Figure 1
Installation
NOTICE:
- Do not wipe off the tip area (b) of the injector as it may be damaged. (Figure 2)
- If the tip of the injector is dirty or clogged, it must be replaced. The tip of the injector cannot be cleaned.
- Be sure to protect the injector from dust or debris.
1. Use compressed air to insure that there are no dust or debris around the ring (c). (Figure 2)
Figure 2
2. With a paper towel, carefully wipe off any carbon from the area (d) shown. (Figure 2)
3. Install the sizing tool (e) to the injector (f) as shown. (Figure 3)
NOTICE:
Do not allow the tool to come in contact with the tip of the injector.
Figure 3
4. Install the seal guide (g) over the tip of the injector (h) as shown. (Figure 4)
Figure 4
5. Slide the seal (i) on the seal guide as shown. (Figure 5)
Figure 5
6. Slide the seal installer (k) onto the seal guide, then quickly push the seal down to the groove (m) of the injector. (Figure 6)
Figure 6
7. Remove the seal guide and the seal installer from the injector.
8. Move the sizing tool and align the top of the injector surface (n) and the tools inner surface (o) as shown, and hold the tool to reform the seal for 30 seconds or more. (Figure 7)
NOTICE:
Make sure the seal (p) is not deformed when moving the tool. (Figure 7)
Figure 7
9. Remove the sizing tool, and check that the seal (q) is installed correctly. (Figure 8)
NOTICE:
When cleaning the sizing tool and the seal guide, be careful not to scratch the sizing tool bore or the surface of the seal guide.
Figure 8
10. Make sure that the back-up ring (r) is not deformed. (Figure 9)
Lubricant Specifications (Figure 9)
Position Type s Engine Oil Figure 9
11. Carefully install the fuel rail(s) (t) with the injectors into the cylinder head(s) straight and equal. (Figure 10)
NOTICE:
Protect the tip of the injector from dust or debris.
Lubricant Specifications (Figure 10)
Position Type u Engine Oil Figure 10
Tightening Procedure
Step Operation Object Detail 1 Temporary Tighten All Nuts Alternately, until the fuel rail(s) sits on the cylinder head(s) 2 Tighten All Bolts and Nuts Specified Torque After Installation
- 12 Volt Battery Negative Terminal Reconnect - Refer to: 12 Volt Battery Terminal Disconnection and Reconnection (3.5L Engine) or 12 Volt Battery Terminal Disconnection and Reconnection (3.0L Engine)
- Fuel Leak Check (High Pressure Side)