LEMON Manuals: Even more car manuals for everyone
Home >> Acura >> 2019 >> RDX Technology, AWD >> Repair and Diagnosis >> Accessories & Equipment >> Anti-Theft Systems >> Security System / Keyless Entry System - Testing & Troubleshooting >> Description & Operation >> Keyless/Power Door Locks/Security System Description - System Diagram

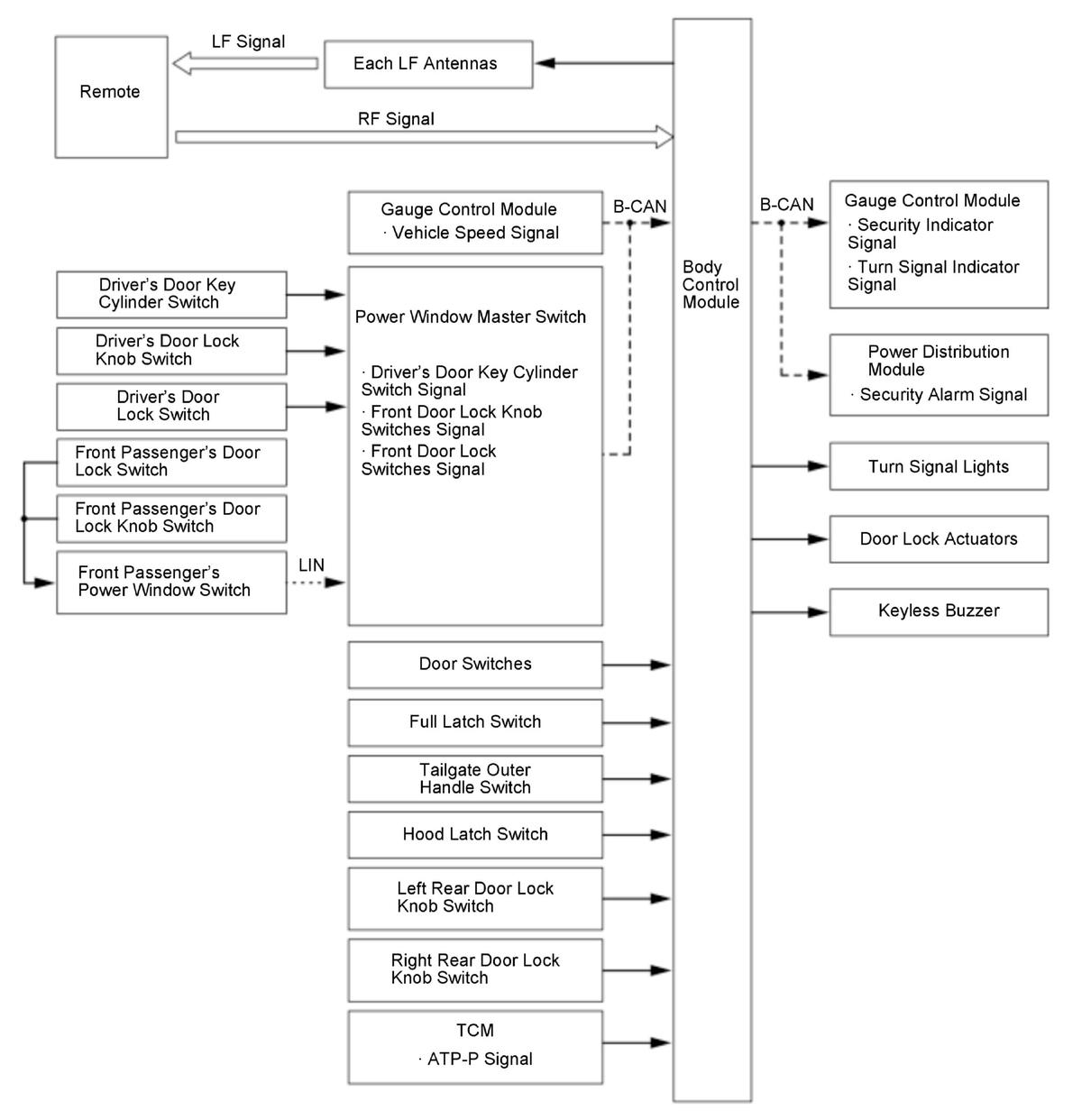
Keyless/Power Door Locks/Security System Description - System Diagram

For locations of each component on vehicle, refer to Component Location Index 

GHH336746Courtesy of HONDA, U.S.A., INC.