LEMON Manuals: Even more car manuals for everyone
Home >> Acura >> 2017 >> RLX Base >> Repair and Diagnosis (Single Page) >> Accessories & Equipment >> Anti-Theft Systems >> Security System Keyless Entry System - Testing & Troubleshooting (Except Hybrid) >> Description & Operation >> Keyless/Power Door Locks/Security System Description - Control/Function (2018 2019 2020)

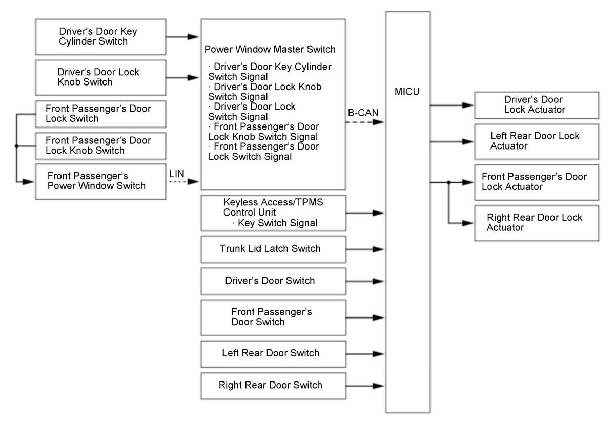
Keyless/Power Door Locks/Security System Description - Control/Function (2018 2019 2020)

Door Lock Control 

The door lock control function allows the MICU to detect the status of various switch signals and control each actuator in order to lock and unlock doors.

GHH351068Courtesy of HONDA, U.S.A., INC.

Trunk Lid Control 

The trunk lid control function allows the MICU to detect the status of various switch signals and control trunk lid release actuator in order to lock and unlock trunk. The trunk can be locked by switching to valet mode.

GHH351069Courtesy of HONDA, U.S.A., INC.

Glove Box Control 

When there is input from the glove box opener switch to the MICU, the MICU operates the glove box opener solenoid. The glove box can be locked by switching to valet mode.

GHH351070Courtesy of HONDA, U.S.A., INC.

Keyless Door Lock Control 

The remote can transmit a lock or unlock signal to the keyless access/TPMS control unit, which sends the keyless request to the MICU using the B-CAN. The MICU then controls the door lock actuator by B-CAN signal and various switch signal.

GHH351071Courtesy of HONDA, U.S.A., INC.

Keyless Door Lock Control (Trunk Lid) 

The remote can transmit a lock or unlock signal to the keyless access/TPMS control unit, which sends the keyless request to the MICU using the B-CAN. The MICU then controls the trunk lid opener solenoid by B-CAN signal and various switch signal.

GHH351072Courtesy of HONDA, U.S.A., INC.

Key Lockout Prevent Function 

The lockout function observes the key switch signal input. If the input is ON (remote in the vehicle), the system will not lock the doors. If the driver manually locks and closes the doors with a remote in the vehicle (input ON), the MICU energizes the driver's door actuator and unlocks the driver's door.

When the trunk is closed with the remote left in the trunk, the RF unit detects the location of the remote and does not lock the trunk.

GHH351073Courtesy of HONDA, U.S.A., INC.

Automatic Door Lock/Unlock Control 

The automatic door lock/unlock control function allows the MICU to detect the status of B-CAN signals and various switch signals and control each actuator in order to automatically lock/unlock all the doors.

Automatic Door Lock Function: 

Automatic Door Unlock Function: 

Customizing Function: 

The locking method can be set as non-link, link to vehicle speed, link to shift position/mode, or link to engine start/stop switch by customizing function. For more information about customize options, refer to the Owner's manual.

GHH351074Courtesy of HONDA, U.S.A., INC.

Security Control 

When the security alarm is set, the MICU sends the security set signal using the B-CAN. You can select the use of security control through the customize function.

GHH351075Courtesy of HONDA, U.S.A., INC.

Security system operating term 

Start setting
  • Lock the door by using a mechanical key
  • Lock the door by using the remote
  • Lock the door by pressing the door outer handle lock switch while having the remote
  • Operate a keyless relock
Cancellation
  • Unlock the door by using a mechanical key
  • Unlock the door by using the remote
  • Unlock the door by smart entry function
  • Press the engine start/stop switch button while having the remote
Setting conditions (related systems are normally operated)
  • Door switch OFF (Door close)
  • Door unlock knob switch OFF (Lock)
  • Trunk lid latch switch OFF (Trunk close)
  • Driver's door key cylinder switch OFF
  • Security hood switch ON (Hood close)
  • Vehicle OFF (LOCK) mode
Start the alarm When any of the monitoring switch signal inputs are received without the signal for cancelling setting
Cancel the alarm Compliant with the conditions for cancelling setting

Security Setting 

When the security alarm is set, the MICU sends the security set signal using B-CAN. When the gauge control module receives the security set signal from the MICU, the security indicator flashes to indicate the system is arming.

GHH351076Courtesy of HONDA, U.S.A., INC.

Security Alarm 

With the security system armed, manually opening the hood or the trunk, or moving an interior lock knob to the unlock position activates the security alarm. The security alarm sounds the horn, the headlights low beam, the parking lights, the taillights, the license plate lights, and the side marker lights blink, repeating this alarm (one cycle is 120 seconds). Even if you remove the battery, the alarming state cannot be changed. The alarm starts again when reinstalling the battery.

GHH351077Courtesy of HONDA, U.S.A., INC.

Security Answer Back Control 

When using the remote, the MICU provides an answer back function to alert the client that the MICU received a lock or unlock command from the remote. When the MICU receives a lock signal, it sends signals once to the turn signal lights and the keyless buzzer. When the MICU receives an unlock signal, the MICU sends signals two times to the turn signal lights.

GHH351078Courtesy of HONDA, U.S.A., INC.

When the MICU receives a lock signal, the MICU sends signals once to the turn signal lights and the keyless buzzer will sound once when you press the lock button again within 5 seconds.

GHH351079Courtesy of HONDA, U.S.A., INC.

When the MICU receives an unlock signal, the MICU sends signals two times to the turn signal lights.

GHH351080Courtesy of HONDA, U.S.A., INC.