LEMON Manuals: Even more car manuals for everyone
Home >> Acura >> 2017 >> ILX >> Repair and Diagnosis >> Engine Performance >> Engine Control Systems >> Engine Control System / Engine Mechanical - Service, Testing And Troubleshooting (Except Hybrid) >> System Description >> VTEC/VTC - Control(K24Z7/K24V7)

VTEC/VTC - Control(K24Z7/K24V7)

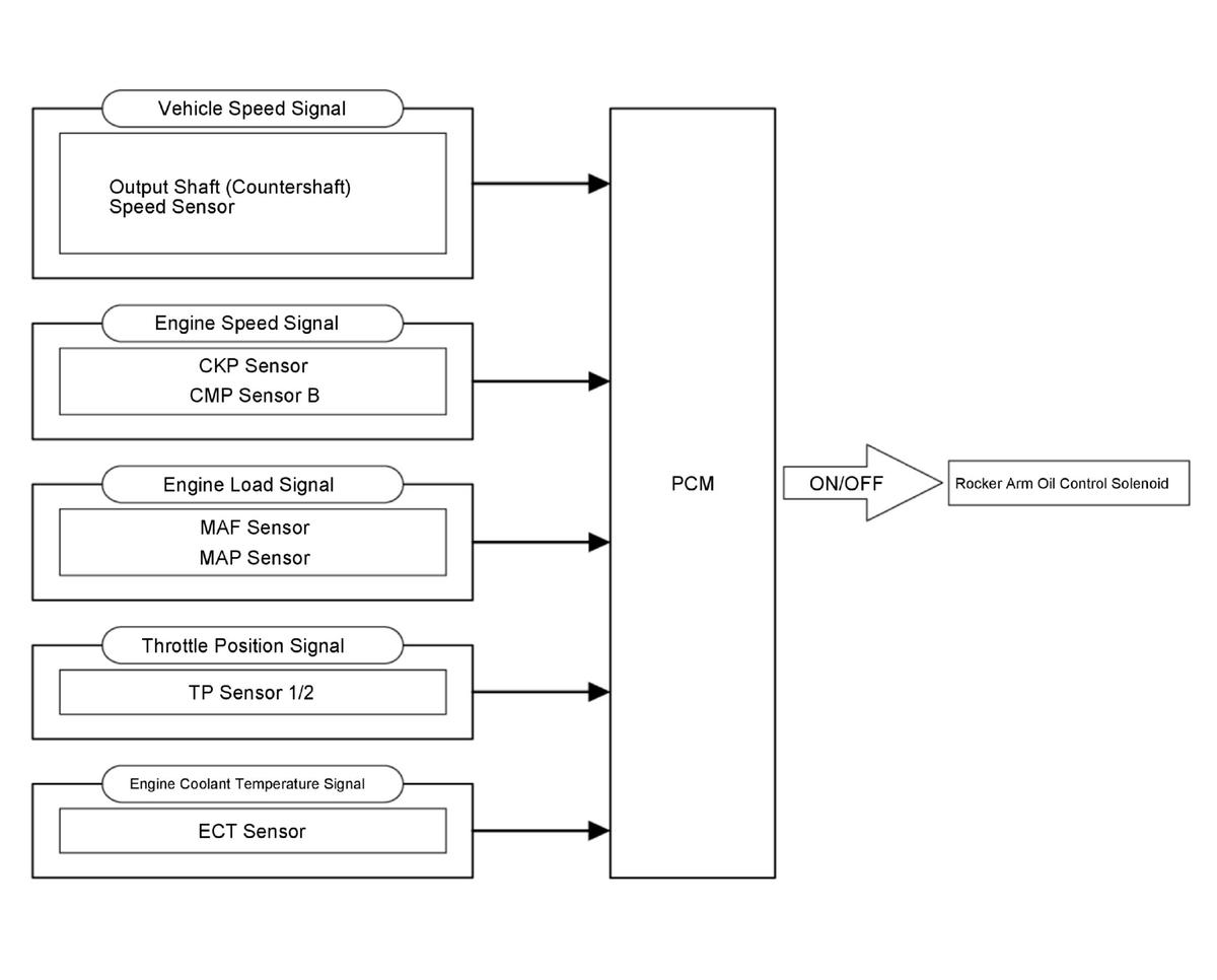
VTEC 

Based on the vehicle speed signal, engine speed signal, engine load signal, throttle aperture signal, and engine coolant signal sent from various sensors, the PCM determines what the lift amount should be and controls the ON/OFF of the rocker arm oil control solenoid.The PCM generates and determines the control amount based on signals from various sensors to subject the rocker arm oil control solenoid to a feedback control.

GHH468844Courtesy of HONDA, U.S.A., INC.

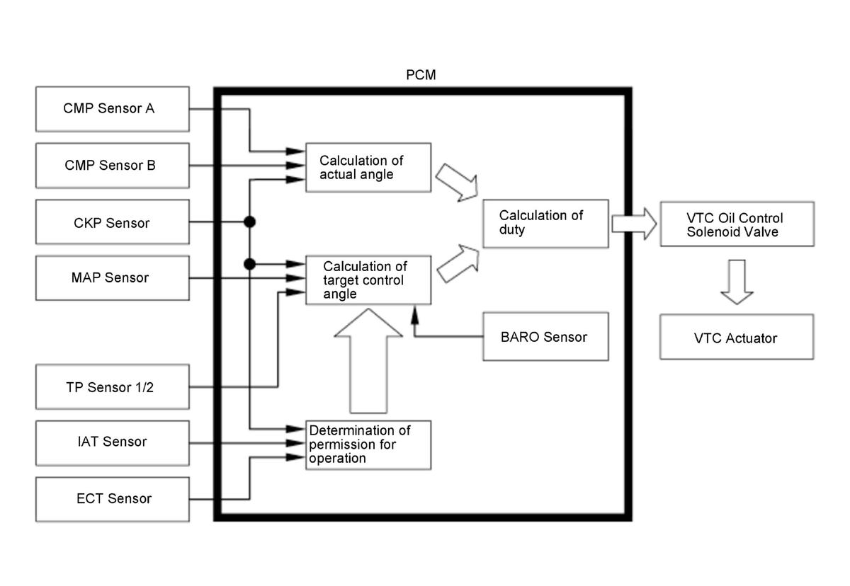
VTC 

The PCM generates and determines the control amount based on signals from various sensors to subject the VTC oil control solenoid valve to a feedback control.

GHH468845Courtesy of HONDA, U.S.A., INC.