LEMON Manuals: Even more car manuals for everyone
Home >> Acura >> 2012 >> TL Base >> Repair and Diagnosis >> Engine Performance >> Ignition System >> Spark Plug Inspection

Spark Plug Inspection

  1. Remove the ignition coils and the spark plugs .
  2. Inspect the electrodes and the ceramic insulator.
    • Burned or worn electrodes may be caused by these conditions:
      • Advanced ignition timing
      • Loose spark plug
      • Plug heat range too hot
      • Insufficient cooling
    • Fouled plugs may be caused by these conditions:
      • Retarded ignition timing
      • Oil in combustion chamber
      • Incorrect spark plug gap
      • Plug heat range too cold
      • Excessive idling/low speed running
      • Clogged air cleaner element
      • Deteriorated ignition coils
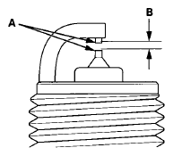
    Fig 1: Identifying Spark Plug
    G08068580Courtesy of AMERICAN HONDA MOTOR CO., INC.
  3. Replace the plug at the specified interval, or if the center electrode (A) is rounded, or if the spark plug gap (B) is out of specification, or if the spark plug electrode is dirty or contaminated. Use only the spark plugs listed.
    NOTE:
    • Do not adjust the gap of iridium tip plugs.
    • Do not use a plug cleaner.

    J35Z6 engine 

    Spark Plugs 

    NGK: DILZKR7A11G 

    Electrode Gap 

    Standard (New): 1.0- 1.1 mm (0.039- 0.043 in) 

    J37A4 engine 

    Spark Plugs 

    NGK: ILZKR7B-11S 

    DENSO: SXU22HCR11S 

    Electrode Gap 

    Standard (New): 1.0- 1.1 mm (0.039- 0.043 in) 

    J35Z6 engine 

    Fig 2: Identifying Electrode Gap In J35Z6 Engine
    G08068581Courtesy of AMERICAN HONDA MOTOR CO., INC.

    J37A4 engine 

    Fig 3: Identifying Electrode Gap In J37A4 Engine
    G08068582Courtesy of AMERICAN HONDA MOTOR CO., INC.
  4. Install the spark plugs  and the ignition coils.