LEMON Manuals: Even more car manuals for everyone
Home >> Acura >> 2012 >> RL >> Repair and Diagnosis >> Engine Performance >> System >> Radiator Fan Control System >> DTC Troubleshooting >> DTC P0480: RFC System Malfunction

DTC P0480: RFC System Malfunction

NOTE: Before you troubleshoot, record all freeze data and any on-board snapshot, and review the general troubleshooting information (see GENERAL TROUBLESHOOTING INFORMATION ).
  1. Turn the ignition switch to ON (II).
  2. Clear the DTC with the HDS, and wait 3 minutes or more.
  3. Check for Pending or Confirmed DTCs with the HDS.

    Is DTC P0480 indicated? 

    YES  -Go to step 6 6.

    NO  -Go to step 4.

  4. Select RADIATOR FAN in the INSPECTION MENU with the HDS.
  5. Check for Pending or Confirmed DTCs with the HDS.

    Is DTC P0480 indicated? 

    YES  -Go to step 6.

    NO  -Intermittent failure, the system is OK at this time. Check for poor connections or loose terminals at the RFC unit, the RFC unit relay, the radiator fan motor, the condenser fan motor, and the PCM.

  6. Check for these conditions at the radiator fan and the condenser fan:
    • Interference with fan shroud
    • Debris in the fan
    • Ice on the fan blades

    Are both fans OK? 

    YES  -Go to step 7.

    NO  -Repair or replace the damaged parts, then go to step 56 56.

  7. Select RADIATOR FAN in the INSPECTION MENU with the HDS.
  8. Check the radiator fan and the condenser fan operation.

    Do both fans operate? 

    YES  -Go to step 9.

    NO  -Replace the motor that is not operating, then go to step 56  56.

  9. Turn the ignition switch to LOCK (0).
  10. Let the engine cool until the coolant temperature is low.
  11. Turn the ignition switch to ON (II), and wait 3 minutes or more.
  12. Confirm that the A/C is not switched on.
  13. Check the radiator fan and the condenser fan operation.

    Do both fans keep running? 

    YES  -Go to step 26 26.

    NO  -Go to step 14.

  14. Turn the ignition switch to LOCK (0).
  15. Check the No. 23 IGP (7.5 A) fuse in the driver's under-dash fuse/relay box.

    Is the fuse OK? 

    YES  -Go to step 16.

    NO  -Repair a short in the wire between the RFC unit relay and the No. 23 IGP (7.5 A) fuse. Also replace the No. 23 IGP (7.5 A) fuse, then go to step 56 56.

  16. Check the No. 34 + B RAD FAN (50 A) fuse in the battery terminal fuse box.

    Is the fuse OK? 

    YES  -Go to step 17.

    NO  -Go to step 35 35.

  17. Disconnect the RFC unit 1P connector.
  18. Turn the ignition switch to ON (II), and wait 3 minutes or more.
  19. Measure the voltage between the RFC unit 1P connector terminal and body ground.
    Fig 1: Measuring Voltage Between RFC Unit 1P Connector Terminal And Body Ground
    G07353862Courtesy of AMERICAN HONDA MOTOR CO., INC.

    Is there battery voltage? 

    YES  -Go to step 20.

    NO  -Go to step 43 43.

  20. Turn the ignition switch to LOCK (0).
  21. Jump the SCS line with the HDS.
  22. Disconnect PCM connector A (49P).
  23. Check for continuity between PCM connector terminal A4 and body ground.
    Fig 2: Checking Continuity Between PCM Connector Terminal A4 And Body Ground
    G07353863Courtesy of AMERICAN HONDA MOTOR CO., INC.

    Is there continuity? 

    YES  -Go to step 24.

    NO  -Substitute a known-good RFC unit (see RFC UNIT REPLACEMENT ), then go to step 57 57 and recheck. If DTC P0480 is not indicated, replace the original RFC unit (see RFC UNIT REPLACEMENT ), then go to step 57 57.

  24. Disconnect the RFC unit 3P connector.
  25. Check for continuity between PCM connector terminal A4 and body ground.
    Fig 3: Checking Continuity Between PCM Connector Terminal A4 And Body Ground
    G07353864Courtesy of AMERICAN HONDA MOTOR CO., INC.

    Is there continuity? 

    YES  -Repair a short in the wire between the PCM (A4) and the RFC unit, then go to step 56 56.

    NO  -Go to step 62 62.

  26. Turn the ignition switch to LOCK (0).
  27. Jump the SCS line with the HDS.
  28. Disconnect PCM connector A (49P).
  29. Turn the ignition switch to ON (II).
  30. Measure the voltage between PCM connector terminal A4 and body ground.
    Fig 4: Measuring Voltage Between PCM Connector Terminal A4 And Body Ground
    G07353865Courtesy of AMERICAN HONDA MOTOR CO., INC.

    Is there about 5 V? 

    YES  -Go to step 62 62.

    NO  -Go to step 31.

  31. Turn the ignition switch to LOCK (0).
  32. Disconnect the RFC unit 3P connector.
  33. Connect RFC unit 3P connector terminal No. 1 to body ground with a jumper wire.
    Fig 5: Connecting RFC Unit 3P Connector Terminal No. 1 To Body Ground With Jumper Wire
    G07353866Courtesy of AMERICAN HONDA MOTOR CO., INC.
  34. Check for continuity between PCM connector terminal A4 and body ground.
    Fig 6: Checking Continuity Between PCM Connector Terminal A4 And Body Ground
    G07353867Courtesy of AMERICAN HONDA MOTOR CO., INC.

    Is there continuity? 

    YES  -Substitute a known-good RFC unit (see RFC UNIT REPLACEMENT ), then go to step 57 57 and recheck. If DTC P0480 is not indicated, replace the original RFC unit (see RFC UNIT REPLACEMENT ), then go to step 57 57.

    NO  -Repair an open in the wire between the PCM (A4) and the RFC unit, then go to step 56 56.

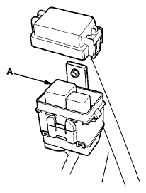
  35. Remove the air cleaner, and remove the RFC unit relay (A) from the auxiliary under-hood relay box.
    Fig 7: Removing RFC Unit Relay From Auxiliary Under-Hood Relay Box
    G07353868Courtesy of AMERICAN HONDA MOTOR CO., INC.
  36. Check for continuity between RFC unit relay 4P connector terminal No. 1 and body ground.
    Fig 8: Checking Continuity Between RFC Unit Relay 4P Connector Terminal No. 1 And Body Ground
    G07353869Courtesy of AMERICAN HONDA MOTOR CO., INC.

    Is there continuity? 

    YES  -Repair a short in the wire between the RFC unit relay and the No. 34 +B RAD FAN (50 A) fuse. Also replace the No. 34 + B RAD FAN (50 A) fuse, then go to step 56 56.

    NO  -Go to step 37.

  37. Disconnect the RFC unit 1P connector.
  38. Check for continuity between the RFC unit 1P connector terminal and body ground.
    Fig 9: Checking Continuity Between RFC Unit 1P Connector Terminal And Body Ground
    G07353870Courtesy of AMERICAN HONDA MOTOR CO., INC.

    Is there continuity? 

    YES  -Repair a short in the wire between the RFC unit relay (+B line) and the RFC unit. Also replace the No. 34 +B RAD FAN (50 A) fuse, then go to step 56 56.

    NO  -Go to step 39.

  39. Disconnect the RFC unit 2P connector (connected to radiator fan motor).
  40. Check for continuity between RFC unit 2P connector terminal No. 1 and body ground.
    Fig 10: Checking Continuity Between RFC Unit 2P Connector Terminal No. 1 And Body Ground
    G07353871Courtesy of AMERICAN HONDA MOTOR CO., INC.

    Is there continuity? 

    YES  -Repair a short in the wire between the RFC unit and the radiator fan motor. Also replace the No. 34 + B RAD FAN (50 A) fuse, then go to step 56 56.

    NO  -Go to step 41.

  41. Disconnect the RFC unit 2P connector (connected to the A/C condenser fan motor).
  42. Check for continuity between RFC unit 2P connector terminal No. 1 and body ground.
    Fig 11: Checking Continuity Between RFC Unit 2P Connector Terminal No. 1 And Body Ground
    G07353872Courtesy of AMERICAN HONDA MOTOR CO., INC.

    Is there continuity? 

    YES  -Repair a short in the wire between the RFC unit and the condenser fan motor. Also replace the No. 34 + B RAD FAN (50 A) fuse, then go to step 56 56.

    NO  -Substitute a known-good RFC unit (see RFC UNIT REPLACEMENT ), then go to step 57 57 and recheck. If DTC P0480 is not indicated, replace the original RFC unit (see RFC UNIT REPLACEMENT ), then go to step 57 57.

  43. Turn the ignition switch to LOCK (0).
  44. Remove the air cleaner, and remove the RFC unit relay (A).
    Fig 12: Removing RFC Unit Relay
    G07353873Courtesy of AMERICAN HONDA MOTOR CO., INC.
  45. Test the RFC unit relay (see POWER RELAY TEST ).

    Is the RFC unit relay OK? 

    YES  -Go to step 46.

    NO  -Replace the RFC unit relay, then go to step 56 56.

  46. Turn the ignition switch to ON (II).
  47. Measure the voltage between RFC unit relay 4P connector terminal No. 1 and body ground.
    Fig 13: Measuring Voltage Between RFC Unit Relay 4P Connector Terminal No. 1 And Body Ground
    G07353874Courtesy of AMERICAN HONDA MOTOR CO., INC.

    Is there battery voltage? 

    YES  -Go to step 48.

    NO  -Repair an open in the wire between the RFC unit relay and the No. 34 +B RAD FAN (50 A) fuse, then go to step 56 56.

  48. Measure the voltage between RFC unit relay 4P connector terminal No. 4 and body ground.
    Fig 14: Measuring Voltage Between RFC Unit Relay 4P Connector Terminal No. 4 And Body Ground
    G07353875Courtesy of AMERICAN HONDA MOTOR CO., INC.

    Is there battery voltage? 

    YES  -Go to step 49.

    NO  -Repair an open in the wire between the RFC unit relay and the No. 23 IGP (7.5 A) fuse, then go to step 56 56.

  49. Connect RFC unit relay 4P connector terminal No. 2 to body ground with a jumper wire.
    Fig 15: Connecting RFC Unit Relay 4P Connector Terminal No. 2 To Body Ground With Jumper Wire
    G07353876Courtesy of AMERICAN HONDA MOTOR CO., INC.
  50. Check for continuity between the RFC unit 1P connector terminal and body ground.
    Fig 16: Checking Continuity Between RFC Unit 1P Connector Terminal And Body Ground
    G07353877Courtesy of AMERICAN HONDA MOTOR CO., INC.

    Is there continuity? 

    YES  -Go to step 51.

    NO  -Repair an open in the wire between the RFC unit relay (+B line) and the RFC unit, then go to step 56 56.

  51. Remove the jumper wire from the RFC unit relay 4P connector.
  52. Jump the SCS line with the HDS.
  53. Disconnect PCM connector A (49P).
  54. Connect RFC unit relay 4P connector terminal No. 3 to body ground with a jumper wire.
    Fig 17: Connecting RFC Unit Relay 4P Connector Terminal No. 3 To Body Ground With Jumper Wire
    G07353878Courtesy of AMERICAN HONDA MOTOR CO., INC.
  55. Check for continuity between PCM connector terminal A5 and body ground.
    Fig 18: Checking Continuity Between PCM Connector Terminal A5 And Body Ground
    G07353879Courtesy of AMERICAN HONDA MOTOR CO., INC.

    Is there continuity? 

    YES  -Go to step 62 62.

    NO  -Repair an open in the wire between the PCM (A5) and the RFC unit relay, then go to step 56.

  56. Turn the ignition switch to LOCK (0).
  57. Reconnect all connectors.
  58. Turn the ignition switch to ON (II).
  59. Reset the PCM with the HDS.
  60. Do the PCM idle learn procedure (see PCM IDLE LEARN PROCEDURE ).
  61. Check for Pending or Confirmed DTCs with the HDS.

    Is DTC P0480 indicated? 

    YES  -Check for poor connections or loose terminals at the RFC unit, the RFC unit relay, the radiator fan motor, the condenser fan motor, and the PCM.

    NO  -Troubleshooting is complete. If any other Pending or Confirmed DTCs are indicated, go to the indicated DTC's troubleshooting.

  62. Reconnect all connectors.
  63. Update the PCM if it does not have the latest software (see PCM UPDATE ), or substitute a known-good PCM (see SUBSTITUTING THE PCM ).
  64. Check for Pending or Confirmed DTCs with the HDS.

    Is DTC P0480 indicated? 

    YES  -Check for poor connections or loose terminals at the RFC unit, the RFC unit relay, the radiator fan motor, the condenser fan motor, and the PCM. If the PCM was updated, substitute a known-good PCM (see SUBSTITUTING THE PCM ), then recheck. If the PCM was substituted, go to step 1 1.

    NO  -If the PCM was updated, troubleshooting is complete. If the PCM was substituted, replace the original PCM (see PCM REPLACEMENT ). If any other Pending or Confirmed DTCs are indicated, go to the indicated DTC's troubleshooting.