LEMON Manuals: Even more car manuals for everyone
Home >> Acura >> 2012 >> RL >> Repair and Diagnosis >> Engine Performance >> Engine Control Systems >> Engine Mount Control System >> Troubleshooting

Engine Mount Control System: Troubleshooting

Special Tools Required 

Vacuum Pump/Gauge, 0-30 inHg Snap-on YA4000A or equivalent, commercially available

NOTE:
  • Check the vacuum hoses and lines for damage and proper connections before troubleshooting.
  • Check the liquid filled engine mount for damage. The rubber mount should have dimples in it. This is normal. If the internal bladder ruptures, the rubber mount will look like it is bulging. Replace it (see FRONT ENGINE MOUNT REMOVAL AND INSTALLATION ).

Follow this procedure if the engine vibrates excessively when idling.

  1. Start the engine, and let it idle.
  2. Raise the engine speed from idling to 2, 000 RPM.
  3. Check the MOUNT CTRL SOL in the PGM-FI DATA LIST with the HDS.

    Is ON indicated at idling and OFF indicated at 2, 000 RPM? 

    YES  -Go to step 4.

    NO  -Update the PCM if it does not have the latest software (see KNOCK SENSOR REPLACEMENT ), or substitute a known-good PCM (see SUBSTITUTING THE PCM ), then recheck. If the engine mount control system works properly, and the PCM was updated, the troubleshooting is complete. If the PCM was substituted, replace the original PCM (see PCM REPLACEMENT ).

  4. Turn the ignition switch to LOCK (0).
  5. Disconnect the engine mount control solenoid valve 2P connector from the engine mount control solenoid valve.
  6. Turn the ignition switch to ON (II).
  7. Measure the voltage between engine mount control solenoid valve 2P connector terminal No. 2 and body ground.
    Fig 1: Measuring Voltage Between Engine Mount Control Solenoid Valve 2P Connector Terminal No. 2 And Body Ground
    G07353524Courtesy of AMERICAN HONDA MOTOR CO., INC.

    Is there battery voltage? 

    YES  -Go to step 8.

    NO  -Repair an open in the wire between engine mount control solenoid valve 2P connector terminal No. 2 and No. 18(15 A) fuse in the driver's under-dash fuse/relay box.

  8. Start the engine, and let it idle.
  9. Measure the voltage between engine mount control solenoid valve 2P connector terminals No. 1 and No. 2, with the engine at idle.
    Fig 2: Measuring Voltage Between Engine Mount Control Solenoid Valve 2P Connector Terminals No. 1 And No. 2
    G07353525Courtesy of AMERICAN HONDA MOTOR CO., INC.

    Is there battery voltage? 

    YES  -Go to step 10.

    NO  -Repair an open in the wire between PCM terminal A12 and engine mount control solenoid valve 2P connector terminal No. 1. If the wire is OK, update the PCM if it does not have the latest software (see PCM UPDATE ), or substitute a known-good PCM (see SUBSTITUTING THE PCM ), and recheck. If the engine mount control system works properly, and the PCM was updated, the troubleshooting is complete. If the PCM was substituted, replace the original PCM (see PCM REPLACEMENT ).

  10. Raise the engine speed above 2, 000 RPM.
  11. Measure the voltage between engine mount control solenoid valve 2P connector terminals No. 1 and No. 2.
    Fig 3: Measuring Voltage Between Engine Mount Control Solenoid Valve 2P Connector Terminals No. 1 And No. 2
    G07353526Courtesy of AMERICAN HONDA MOTOR CO., INC.

    Is there battery voltage? 

    YES  -Repair a short to body ground in the wire between PCM terminal A12 and the engine mount control solenoid valve. If the wire is OK, update the PCM if it does not have the latest software (see PCM UPDATE ), or substitute a known-good PCM (see SUBSTITUTING THE PCM ), and recheck. If the engine mount control system works properly, and the PCM was updated, the troubleshooting is complete. If the PCM was substituted, replace the original PCM (see PCM REPLACEMENT ).

    NO  -Reconnect the engine mount control solenoid valve 2P connector, then go to step 12.

  12. Turn the ignition switch to LOCK (0).
  13. Disconnect the vacuum hose (A) from the engine mount control solenoid valve (B), and connect a vacuum pump/gauge, 0-30 in Hg, to the hose. Apply about 20 in Hg of vacuum, and wait for 20 seconds.
    Fig 4: Identifying Vacuum Hose And Engine Mount Control Solenoid Valve
    G07353527Courtesy of AMERICAN HONDA MOTOR CO., INC.

    Does the engine mount hold vacuum? 

    YES  -Go to step 14.

    NO  -Either the vacuum hose or the engine mounts has a vacuum leak. Repair as needed.

  14. Start the engine and let it idle.
  15. Release the vacuum, then apply vacuum again.

    Is there a noticeable change in idle smoothness with and without vacuum applied? 

    YES  -Go to step 16.

    NO  -Replace the front engine mount (see FRONT ENGINE MOUNT REMOVAL AND INSTALLATION ).

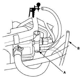
  16. Connect a vacuum pump/gauge, 0-30 in Hg, to the engine mount control solenoid valve (A).
    Fig 5: Connecting Vacuum Pump/Gauge To Engine Mount Control Solenoid Valve
    G07353528Courtesy of AMERICAN HONDA MOTOR CO., INC.

    Is there manifold vacuum at idle, and a decrease in manifold vacuum when you raise the engine speed above 2, 000 RPM? 

    YES  -The system is OK.

    NO  -Repair the vacuum hose (B) between the intake manifold and the engine mount control solenoid valve. If the vacuum hose is OK, replace the engine mount control solenoid valve.