LEMON Manuals: Even more car manuals for everyone
Home >> Acura >> 2012 >> RL >> Repair and Diagnosis >> Body & Frame >> Seats >> Driver Position Memory System (DPMS) >> Power Seat Adjustment Switch Test/Replacement

Power Seat Adjustment Switch Test/Replacement

NOTE: SRS components are located in this area. Review the SRS component locations (see COMPONENT LOCATION INDEX ), and the precautions and procedures (see PRECAUTIONS AND PROCEDURES ) before doing repairs or servicing.
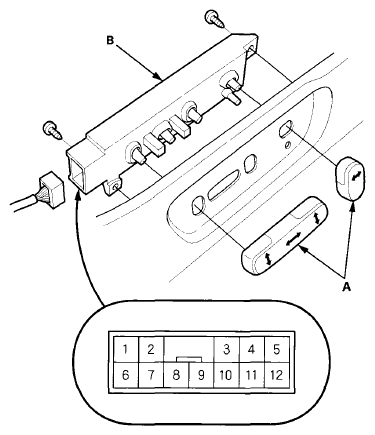
  1. Remove the power seat adjustment switch knobs (A) and recline cover from the driver's power seat (see FRONT SEAT CUSHION COVER REPLACEMENT ), then remove the two screws and the power seat adjustment switch (B).
    Fig 1: Removing Screws And Power Seat Adjustment Switch
    G07363721Courtesy of AMERICAN HONDA MOTOR CO., INC.
  2. Disconnect the 12P connector from the power seat adjustment switch.
  3. Reinstall the adjustment switch knobs to the switch.
  4. Check for continuity between the terminals in each switch position according to the table.
    Fig 2: Terminals Position Reference Table
    G07363722Courtesy of AMERICAN HONDA MOTOR CO., INC.
  5. If the continuity is not as specified, replace the switch.