LEMON Manuals: Even more car manuals for everyone
Home >> Acura >> 2012 >> RL >> Repair and Diagnosis (Single Page) >> Accessories & Equipment >> Headlights >> Headlight Leveling System >> Headlight Leveling Control Unit Input Test

Headlight Leveling Control Unit Input Test

  1. Turn the ignition switch to LOCK (0).
  2. Remove the driver's dashboard undercover (see DRIVER'S DASHBOARD UNDERCOVER REMOVAL/INSTALLATION ), and the driver's dashboard lower cover (see DRIVER'S DASHBOARD LOWER COVER REMOVAL/INSTALLATION ).
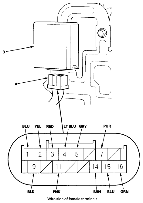
  3. Disconnect the 16P connector (A) from the headlight leveling control unit (B).
    Fig 1: Disconnecting 16P Connector From Headlight Leveling Control Unit
    G07355042Courtesy of AMERICAN HONDA MOTOR CO., INC.
  4. Inspect the connector and socket terminals to be sure they are all making good contact.
    • If the terminals are bent, loose or corroded, repair them as necessary, and recheck the system.
    • If the terminals are OK, go to step 5.
  5. With the connector still disconnected, do the following input tests.
    • If any test indicates a problem, find and correct the cause, then recheck the system.
    • If all the input tests prove OK, go to step 6.
    TEST CONDITION AND WIRE REFERENCE CHART

    Cavity Wire Test condition Test: Desired result Possible cause if desired result is not obtained
    15 BLU Ignition switch ON (II), raise the vehicle, make sure it is securely supported, and rotate one of the front wheels slowly with the other wheel blocked. Measure the voltage between terminals No. 15 (+) and No. 9 (-).
    There should be a pulse of at least 0-5 V showing repeatedly.
    • Faulty PCM
    • An open or high resistance in the wire
    • A short to ground in the wire
    16 GRN Under all conditions Check for continuity between terminal No. 16 and combination switch control unit 8P connector terminal No. 2:
    There should be continuity.
    An open or high resistance in the wire
  6. Reconnect the connector to the control unit, and do the following input tests.
    • If any tests indicates a problem, find and correct the cause, then recheck the system.
    • If all the input tests prove OK, replace the headlight leveling control unit.
    TEST CONDITION AND WIRE REFERENCE CHART

    Cavity Wire Test condition Test: Desired result Possible cause if desired result is not obtained
    1 BLU Ignition switch ON (II) Measure the voltage to ground:
    There should be battery voltage.
    • Blown No. 29 (7.5 A) fuse in the driver's under-dash fuse/relay box
    • An open or high resistance in the wire
    9 BLK In all ignition switch positions Measure the voltage to ground:
    There should be less than 0.2 V.
    • Poor ground (G401)
    • An open or high resistance in the ground wire
    2 YEL Ignition switch ON (II), headlight ON Measure the voltage between terminals No. 2 and No. 3:
    There should be battery voltage.
    • Faulty headlight leveling motor
    • An open or high resistance in the wire
    3 RED
    11 PNK Ignition switch ON (II), headlight ON Measure the voltage between terminals No. 11 and No. 3:
    There should be at least 2 V to 12 V.
    • Faulty headlight leveling motor
    • An open or high resistance in the wire
    3 RED
    5 GRY Ignition switch ON (II)
    • Measure the voltage between the terminals No. 5 (+) and No. 4 (-). There should be at least 5 V.
    • Measure the voltage between the terminals No. 7 (+) and No. 4 (-). There should be at least 0.5 V to 4.5 V.
    • Faulty suspension stroke sensor
    • An open or high resistance in the wire
    7 PUR
    4 LT BLU
  7. After replacing the control unit, do the headlight initial position learning procedure (see HEADLIGHT INITIAL POSITION LEARNING PROCEDURE ).