LEMON Manuals: Even more car manuals for everyone
Home >> Acura >> 2010 >> RL >> Repair and Diagnosis >> Accessories & Equipment >> Memory Modules >> Driver Position Memory System (DPMS) >> Power Seat Adjustment Switch Test/Replacement

Power Seat Adjustment Switch Test/Replacement

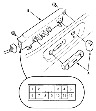
  1. Remove the power seat adjustment switch knobs (A) and recline cover from the driver's power seat (see FRONT SEAT CUSHION COVER REPLACEMENT ), then remove the two screws and the power seat adjustment switch (B).
    Fig 1: Identifying Power Seat Adjustment Switch Connector Terminal
    G06160973Courtesy of AMERICAN HONDA MOTOR CO., INC.
  2. Disconnect the 12P connector from the power seat adjustment switch.
  3. Reinstall the adjustment switch knobs to the switch.
  4. Check for continuity between the terminals in each switch position according to the table.
    Fig 2: Continuity Terminals Position Chart
    G00491176Courtesy of AMERICAN HONDA MOTOR CO., INC.
  5. If the continuity is not as specified, replace the switch.