LEMON Manuals: Even more car manuals for everyone
Home >> Acura >> 2009 >> CSX Base, Automatic >> Repair and Diagnosis >> External Pages >> Different car >> Section 48 (Multiplex Integrated Control System) >> System Description >> Gateway Function

Gateway Function

WARNING: This page is about a different car, the 2011 Acura TL, 2010 Acura TL, and 2009 Acura TL. However, it is still accessible from the selected car via links, so may be relevant.

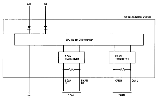
The gauge control module acts as a gateway to allow both systems to share information The gauge control module translates and relays the information from B-CAN to F-CAN and from F-CAN to B-CAN

Fig 1: Gauge Control Module - Circuit Diagram
G05988847Courtesy of AMERICAN HONDA MOTOR CO., INC.