LEMON Manuals: Even more car manuals for everyone
Home >> Acura >> 2009 >> CSX Base, Automatic >> Repair and Diagnosis >> External Pages >> Different car >> Section 17 (Climate Control System) >> Climate Control >> Climate Control Unit Removal/Installation

Climate Control Unit Removal/Installation

WARNING: This page is about a different car, the 2011 Acura TL, 2010 Acura TL, and 2009 Acura TL. However, it is still accessible from the selected car via links, so may be relevant.
  1. Remove the passenger's dashboard undercover (see PASSENGER'S DASHBOARD UNDERCOVER REMOVAL/INSTALLATION )
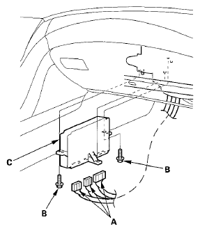
  2. Disconnect the connectors (A) Remove the bolts (B) and the climate control unit (C)
    Fig 1: Identifying Climate Control Unit Connectors And Bolts
    G05988709Courtesy of AMERICAN HONDA MOTOR CO., INC.
  3. Install the climate control unit in the reverse order of removal After installation, operate the various functions to make sure they work properly
  4. Run the self-diagnostic function to confirm that there are no problems in the system (see HOW TO USE THE SELF-DIAGNOSTIC FUNCTION WITH THE HDS )