LEMON Manuals: Even more car manuals for everyone
Home >> Acura >> 2007 >> TL Base >> Repair and Diagnosis >> Steering >> Power Steering >> Power Steering System >> Steering Gearbox Overhaul >> Exploded View >> Removal

Exploded View: Removal

  1. Remove the steering gearbox (see STEERING GEARBOX REMOVAL  ).

    Disassembly 

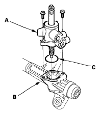
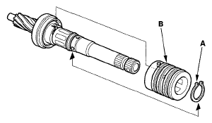
  2. Remove the boot bands (A) and tie-rod clips (B). Pull the boot away from the ends of the steering gearbox.
    Fig 1: Identifying Boot Bands And Tie-Rod Clips
    G05461555Courtesy of AMERICAN HONDA MOTOR CO., INC.
  3. Unbend the lock washer (A).
    Fig 2: Identifying Lock Washer
    G05461556Courtesy of AMERICAN HONDA MOTOR CO., INC.
  4. Hold the flat surface sections (A) of the steering rack (B) with one wrench, and unscrew both rack ends (C) with another wrench. Be careful not to damage the rack surface with the wrench.
    Fig 3: Holding Flat Surface Sections Of Steering Rack
    G05461557Courtesy of AMERICAN HONDA MOTOR CO., INC.
  5. Remove the lock washer (D) and rubber stop (E).
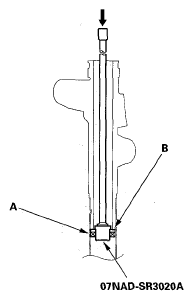
  6. Loosen the locknut (A), then remove the rack guide screw (B).
    Fig 4: Identifying Rack Guide Screw
    G05461558Courtesy of AMERICAN HONDA MOTOR CO., INC.
  7. Remove the spring (C) and the rack guide (D) from the gearbox housing.
  8. Remove the cylinder lines from the gearbox.
    Fig 5: Removing Cylinder Lines From Gearbox
    G05461559Courtesy of AMERICAN HONDA MOTOR CO., INC.
  9. Drain the fluid from the cylinder fittings by slowly moving the steering rack back and forth.
  10. Remove the two flange bolts, then remove the valve body unit (A) from the gearbox housing (B). Remove the O-ring (C).
    Fig 6: Removing Valve Body Unit From Gearbox Housing
    G05461560Courtesy of AMERICAN HONDA MOTOR CO., INC.
  11. Drill a 3 mm (0.12 in.) diameter hole about 2.5-3.0 mm (0.10-0.12 in.) in depth in the staked point (A) on the cylinder. Do not allow metal shavings to enter the cylinder housing. After removing the cylinder end (B), remove any burrs at the staked point.
    Fig 7: Drilling Hole
    G05461561Courtesy of AMERICAN HONDA MOTOR CO., INC.
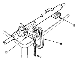
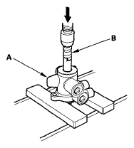
  12. Hold the gearbox housing using a C-clamp (commercially available) (A) and the wooden blocks (B) as shown. Do not clamp the cylinder part of the gearbox housing in the vise. Then remove the cylinder end (C).
    Fig 8: Holding Gearbox Housing
    G05461562Courtesy of AMERICAN HONDA MOTOR CO., INC.
  13. Install a commercially available bearing separator (A) on the gearbox housing as shown.
    Fig 9: Identifying Commercially Available Bearing Separator On Gearbox Housing
    G05461563Courtesy of AMERICAN HONDA MOTOR CO., INC.
  14. Place an appropriate size deep socket wrench (B) on the steering rack (C).
  15. Set the steering gearbox in a press so the gearbox housing side points upward, then press the cylinder end seal (D) and steering rack out of the gearbox. Hold the steering rack to keep it from falling when pressed clear. Be careful not to damage the inner surface of the cylinder housing with the tool.
  16. Install the cylinder end seal remover attachment so it will fit through the rack guide hole of the gearbox housing. Insert a 24" long, 3/8" drive extension (A), and install it on the attachment. Make sure the seal remover is securely positioned on the backup ring edges. Be careful not to damage the inner surface of the cylinder with the attachment.
    Fig 10: Installing Cylinder Seal
    G05461564Courtesy of AMERICAN HONDA MOTOR CO., INC.
  17. Place the steering gearbox in a press, then remove the cylinder end seal (A) and backup ring (B) from the gearbox housing by pressing on the 24" long, 3/8" drive extension.

    Note these items when pressing the cylinder end seal:

    • Keep the tool straight to avoid damaging the cylinder wall. Check the tool angle, and correct it if necessary, when removing the cylinder end seal.
    • Use a press to remove the cylinder end seal. Do not try to remove the seal by striking the tool; striking the tool would break the backup ring, and the cylinder end seal would remain in the gearbox housing.
      Fig 11: Pressing Steering Gearbox
      G05461565Courtesy of AMERICAN HONDA MOTOR CO., INC.
  18. Carefully pry the piston seal ring (A) and O-ring (B) off the rack piston. Be careful not to damage the inside of the seal ring groove and piston edges when removing the seal ring.
    Fig 12: Identifying Piston Seal Ring
    G05461566Courtesy of AMERICAN HONDA MOTOR CO., INC.
  19. Before removing the valve housing (A), apply vinyl tape (B) to the splines on the pinion shaft.
    Fig 13: Applying Vinyl Tape To Splines On Pinion Shaft
    G05461567Courtesy of AMERICAN HONDA MOTOR CO., INC.
  20. Separate the valve housing from the pinion shaft/ valve using a press.
  21. With your finger, check the inner wall of the valve housing where the seal ring slides. If there is a step in the wall, the housing is worn. Replace it.
    NOTE: There may be sliding marks from the seal ring on the wall of the valve housing. Replace the valve housing only if the wall is stepped.
    Fig 14: Checking Inner Wall Of Valve Housing
    G05461568Courtesy of AMERICAN HONDA MOTOR CO., INC.
  22. Check for wear, burrs, and other damage to the edges of the grooves in the sleeve.
    NOTE: The pinion shaft and sleeve are a precision matched set. If either the pinion shaft or sleeve must be replaced, replace both parts as a set.
    Fig 15: Identifying Wear, Burrs, And Other Damage To Grooves In Sleeve
    G05461569Courtesy of AMERICAN HONDA MOTOR CO., INC.
  23. Remove the snap ring (A) and sleeve (B) from the pinion shaft.
    Fig 16: Identifying Snap Ring And Sleeve From Pinion Shaft
    G05461570Courtesy of AMERICAN HONDA MOTOR CO., INC.
  24. Using a cutter or an equivalent tool, cut and remove the four seal rings from the sleeve. Be careful not to damage the edges of the sleeve grooves and outer surface when removing the seal rings.
    Fig 17: Identifying Seal Rings
    G05461571Courtesy of AMERICAN HONDA MOTOR CO., INC.
  25. Using a cutter or an equivalent tool, cut the valve seal ring (A) and O-ring (B) at the cutting groove position (C) in the pinion shaft. Remove the valve seal ring and O-ring. Be careful not to damage the edges of the pinion shaft groove and outer surface when removing the valve seal ring and O-ring.
    Fig 18: Identifying Valve Seal Ring And O-Ring
    G05461572Courtesy of AMERICAN HONDA MOTOR CO., INC.
  26. Remove the valve oil seal (A) and wave washer (B) from the pinion shaft.

    Note these items during disassembly:

    • Inspect the ball bearing (C) by rotating the outer race slowly. If there is any excessive play or wear, replace the pinion shaft and sleeve as an assembly.
    • The pinion shaft and sleeve are a precise fit; do not intermix old and new pinion shafts and sleeves.
      Fig 19: Identifying Valve Oil Seal And Wave Washer From Pinion Shaft
      G05461573Courtesy of AMERICAN HONDA MOTOR CO., INC.
  27. Remove the valve oil seal (A) and roller bearing (B) out of the valve housing using a hydraulic press and pilot collar.
    Fig 20: Removing Valve Oil Seal And Roller Bearing
    G05461574Courtesy of AMERICAN HONDA MOTOR CO., INC.
  28. Clean the disassembled parts with solvent, and dry them with compressed air. Do not dip rubber parts in the solvent.

    Reassembly 

  29. Apply vinyl tape (A) to the stepped portion of the pinion shaft, and coat the surface of the vinyl tape with power steering fluid.
    Fig 21: Applying Vinyl Tape To Stepped Portion Of Pinion Shaft
    G05461575Courtesy of AMERICAN HONDA MOTOR CO., INC.
  30. Install the wave washer (B).
  31. Coat the inside surface of the new valve oil seal (C) with power steering fluid, and install the seal with its grooved side facing opposite the bearing, then slide it over the pinion shaft, being careful not to damage its sealing lip (D). Remove vinyl tape.
  32. Apply vinyl tape (A) to the splines and stepped portion of the shaft, and coat the surface of the vinyl tape with power steering fluid.
    Fig 22: Applying Vinyl Tape To Splines And Stepped Portion Of Shaft
    G05461576Courtesy of AMERICAN HONDA MOTOR CO., INC.
  33. Fit the new O-ring (B) in the groove of the pinion shaft. Then slide the new valve seal ring (C) over the shaft and in the groove on the pinion shaft.
  34. Remove the tape, and apply power steering fluid to the surface of the valve seal ring (A).
    Fig 23: Applying Power Steering Fluid To Surface Of Valve Seal Ring
    G05461577Courtesy of AMERICAN HONDA MOTOR CO., INC.
  35. Apply power steering fluid to the inside of the valve seal ring sizing tool. Set the larger diameter end of the sizing tool over the valve seal ring, and move the sizing tool up and down several times to make the valve seal ring fit in the pinion shaft groove.
  36. Remove the sizing tool, turn it over, slide the smaller diameter end over the valve seal ring. Move it up and down several times to make sure the valve seal ring fits snugly in the pinion shaft groove.
  37. Apply power steering fluid to the surface of the sleeve seal ring guide. Slip two new seal rings (A) over the ring guide from the smaller diameter end, and expand them. Install only two rings at a time from each end of the pinion shaft sleeve (B).

    Note these items when installing the seal ring:

    • Do not over-expand the seal ring. Install the resin seal rings with care so as not to damage them. After installation, make sure you contract the seal rings using the sizing tool.
    • There are two types of sleeve seal rings: black and brown. Do not mix the different types of seal rings as they are not compatible.
      Fig 24: Identifying Seal Rings And Pinion Shaft Sleeve
      G05461578Courtesy of AMERICAN HONDA MOTOR CO., INC.
  38. Align the ring guide with each groove in the sleeve, and slide a sleeve seal ring into each groove. After installation, compress the seal rings with your fingers temporarily.
  39. Apply power steering fluid to the seal rings on the sleeve, and to the entire inside surface of the sleeve seal ring sizing tool, then slowly insert the sleeve into the sizing tool.
    Fig 25: Applying Power Steering Fluid To Seal Rings On Sleeve
    G05461579Courtesy of AMERICAN HONDA MOTOR CO., INC.
  40. Move the sleeve back and forth several times to make the seal rings snugly fit in the sleeve. Make sure the seal rings are not twisted.
  41. Apply power steering fluid to the surface of the pinion shaft (A). Slide the sleeve (B) onto the pinion shaft by aligning the locating pin (C) on the inside of the sleeve with the cutout (D) in the shaft. Then install the new snap ring (E) securely in the pinion shaft groove. Be careful not to damage the valve seal ring when inserting the sleeve.
    Fig 26: Applying Power Steering Fluid To Surface Of Pinion Shaft
    G05461580Courtesy of AMERICAN HONDA MOTOR CO., INC.
  42. Apply power steering fluid to the seal ring lip of the new valve oil seal (A), then install the seal in the valve housing (B) using a hydraulic press, the driver, and the attachment. Install the seal with its grooved side facing the tool.
    Fig 27: Applying Power Steering Fluid To Seal Ring Lip Of Valve Oil Seal
    G05461581Courtesy of AMERICAN HONDA MOTOR CO., INC.
  43. Press the roller bearing (C) into the valve housing with a hydraulic press, the driver, and the attachment.
  44. Apply vinyl tape (A) to the pinion shaft/then coat the vinyl tape with power steering fluid.
    Fig 28: Applying Vinyl Tape To Pinion Shaft
    G05461582Courtesy of AMERICAN HONDA MOTOR CO., INC.
  45. Insert the pinion shaft into the valve housing (B). Be careful not to damage the valve seal rings (C) and valve oil seal sealing lip (D).
  46. Remove the vinyl tape from the pinion shaft, then remove any residue of the tape adhesive.
  47. Press the pinion shaft/sleeve into the valve housing with a hydraulic press. Check that the pinion shaft/ sleeve turns smoothly by hand after installing it.
    Fig 29: Pressing Pinion Shaft/Sleeve Into Valve Housing
    G05461583Courtesy of AMERICAN HONDA MOTOR CO., INC.
  48. Coat the piston seal ring guide with power steering fluid, then slide it onto the rack, big end first.
  49. Position the new O-ring (A) and new piston seal ring (B) on the piston seal ring guide, then slide them down toward the big end of the tool.

    Note these items during reassembly:

    • Do not over expand the resin seal rings. Install the resin seal rings with care so as not to damage them. After installation, make sure you contract the seal ring using the sizing tool.
    • Replace the piston's O-ring and seal ring as a set.
      Fig 30: Identifying Piston's O-Ring And Seal Ring
      G05461584Courtesy of AMERICAN HONDA MOTOR CO., INC.
  50. Pull the O-ring off into the piston groove, then pull the piston seal ring off into the piston groove on top of the O-ring.
  51. Coat the piston seal ring (A) and the inside of the piston seal ring sizing tool with power steering fluid, then carefully slide the tool onto the rack and over the piston seal ring.
    Fig 31: Identifying Piston Seal Ring
    G05461585Courtesy of AMERICAN HONDA MOTOR CO., INC.
  52. Move the sizing tool back and forth several times to make sure the piston seal ring fits snugly in the piston.
  53. Coat the sliding surface of the cylinder end seal slider (A) and new cylinder end seal (B) with power steering fluid. Place the seal on the seal slider with its grooved side (C) facing opposite the seal slider.
    Fig 32: Placing Seal On Seal Slider With Grooved Side
    G05461586Courtesy of AMERICAN HONDA MOTOR CO., INC.
  54. Coat the surface of the steering rack (A) with power steering fluid.
    Fig 33: Identifying Cylinder Seal Onto Steering Rack With Grooved Side
    G05461587Courtesy of AMERICAN HONDA MOTOR CO., INC.
  55. Install the cylinder end seal (B) onto the steering rack with its grooved side (C) toward the piston (D).
  56. Separate the cylinder end seal from the cylinder end seal slider, then remove the seal slider.
  57. Install the new backup ring (A) on the steering rack, then place the backup ring and cylinder end seal (B) against the piston (C).
    Fig 34: Identifying Backup Ring On Steering Rack
    G05461588Courtesy of AMERICAN HONDA MOTOR CO., INC.
  58. Apply multipurpose grease to the steering rack teeth, then insert the steering rack into the gearbox housing. Be careful not to damage the inner surface of the cylinder wall with the rack edges.
    Fig 35: Applying Multipurpose Grease To Steering Rack Teeth
    G05461589Courtesy of AMERICAN HONDA MOTOR CO., INC.
  59. Insert an appropriate size deep socket wrench (A) onto the steering rack as shown.
    Fig 36: Inserting Deep Socket Wrench Onto Steering Rack
    G05461590Courtesy of AMERICAN HONDA MOTOR CO., INC.
  60. Install the cylinder end seal (B) into the bottom of the cylinder by pressing on the tool with a press. Do not push on the tool with excessive force as it may damage the cylinder end seal.
  61. Remove the tool, and center the steering rack.
  62. Coat the sliding surface of the cylinder end seal slider (A) and new cylinder end seal (B) with power steering fluid. Place the seal on the seal slider with its grooved side (C) facing opposite the seal slider.
    Fig 37: Placing Seal On Seal Slider With Grooved Side
    G05461591Courtesy of AMERICAN HONDA MOTOR CO., INC.
  63. Coat the inside surface of the cylinder end seal slider and steering rack with power steering fluid, then install the cylinder end seal (A) onto the steering rack with its grooved side toward the cylinder.
    Fig 38: Identifying Cylinder Seal Onto Steering Rack With Grooved Side
    G05461592Courtesy of AMERICAN HONDA MOTOR CO., INC.
  64. Separate the cylinder end seal from the seal slider, then remove the seal slider.
  65. Push in the cylinder end seal with your finger. Be careful not to damage the face of the seal with the threads and burrs at the staked position of the cylinder housing.
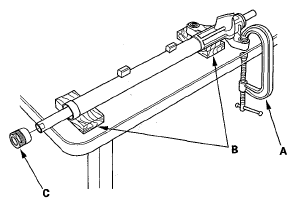
  66. Hold the gearbox housing using a C-clamp (commercially available) (A) and the wooden blocks (B). Do not clamp the cylinder part of the gearbox housing in the vise.
    Fig 39: Holding Gearbox Housing Using C-Clamp
    G05461593Courtesy of AMERICAN HONDA MOTOR CO., INC.
  67. Coat the inside surface of the cylinder end (A) with power steering fluid, then install the cylinder end by screwing it into the cylinder (B). Tighten the cylinder end to the specified torque.
    Fig 40: Tightening Cylinder Nut - Specified Torque
    G05461594Courtesy of AMERICAN HONDA MOTOR CO., INC.
  68. Stake the point of the cylinder shown (opposite from where the stake was removed during disassembly).
  69. Coat the new O-ring (A) with multipurpose grease, and carefully fit it on the valve housing.
    Fig 41: Multipurpose Grease Applying Area With Torque Specifications
    G05461595Courtesy of AMERICAN HONDA MOTOR CO., INC.
  70. Apply multipurpose grease to the needle bearing (B) in the gearbox housing, then install the valve body unit (C) by engaging the gears. Note the valve body unit installation position (direction of the line connections).
  71. Tighten the flange bolts (D) to the specified torque.
  72. Install the cylinder lines.

    Note these items during reassembly:

    • Thoroughly clean the joints of the cylinder lines. The joints must be free of foreign material.
    • Install the cylinder lines by tightening the flare nuts by hand first, then tighten the flare nuts to the specified torque.
      Fig 42: Flange Nuts With Torque Specifications
      G05461596Courtesy of AMERICAN HONDA MOTOR CO., INC.
  73. Apply multipurpose grease to the sliding surface and circumference of the rack guide (A), and install it onto the gearbox housing. Wipe the grease off the threaded section of the housing.
    Fig 43: Applying Multipurpose Grease To Sliding Surface And Circumference Of Rack Guide
    G05461597Courtesy of AMERICAN HONDA MOTOR CO., INC.
  74. Remove the old sealant from the rack guide screw (B), then apply new sealant (Three Bond 1215 or Loctite 5699) to the middle of the threads. Install the rack guide, the spring (C), rack guide screw, and locknut (D).
    NOTE: If more than 5 minutes has passed after applying the sealant, remove the old sealant and residue, and reapply new sealant.
  75. Adjust the rack guide screw (see RACK GUIDE ADJUSTMENT  ). After adjusting, check that the rack moves smoothly by sliding it right and left.
  76. Install a new rubber stop (A) and a new lock washer (B). Align the lock washer tabs (C) with the slots (D) on the rack end (E) while holding the lock washer in place. Repeat this step for the other side of the rack.
    Fig 44: Holding Lock Washer With Torque Specifications
    G05461598Courtesy of AMERICAN HONDA MOTOR CO., INC.
  77. Hold the flat surface sections of the steering rack with one wrench, and tighten both rack ends with another wrench. Be careful not to damage the rack surface with the wrench.
  78. Bend the lock washer (A) back against the flat spots on the rack end joint housing.
    Fig 45: Bending Lock Washer
    G05461599Courtesy of AMERICAN HONDA MOTOR CO., INC.
  79. Apply multipurpose grease to the circumference of the rack end joint housing (A).
    Fig 46: Applying Multipurpose Grease To Circumference Of Rack Joint Housing (A)
    G05461600Courtesy of AMERICAN HONDA MOTOR CO., INC.
  80. Apply a light coat of silicone grease to the boot grooves (B) on the rack ends.
  81. Center the steering rack within its stroke.
  82. Clean off any grease or contamination from the boot installation grooves (A) and around the gearbox housing. Install the boots (B) on the rack ends with the tie-rod clips (C), and fit the boot end in the installation grooves in the housing properly.
    Fig 47: Identifying Boots Installation Rack End
    G05461601Courtesy of AMERICAN HONDA MOTOR CO., INC.
  83. After installing the boots, wipe any grease off the threaded section (D) of the rack end.
  84. Install the new boot bands by aligning the tabs (A) with the holes (B) of the band.
    Fig 48: Aligning Tabs With Holes Of Band
    G05461602Courtesy of AMERICAN HONDA MOTOR CO., INC.
  85. Close the ear portion (A) of the band with a commercially available Oetiker 1098 pincers or equivalent (B).
    Fig 49: Closing Ear Portion Of Band
    G05461603Courtesy of AMERICAN HONDA MOTOR CO., INC.
  86. Slide the rack right and left to be certain that the boots are not deformed or twisted.
  87. Reinstall the steering gearbox (see STEERING GEARBOX INSTALLATION  ).