LEMON Manuals: Even more car manuals for everyone
Home >> Acura >> 2007 >> RL >> Repair and Diagnosis >> Body & Frame >> Windows >> Power Windows >> Front Passenger's MPCS Unit Input Test

Front Passenger's MPCS Unit Input Test

  1. Turn the ignition switch OFF.
  2. Remove the front passenger's door panel (see FRONT DOOR PANEL REMOVAL/INSTALLATION ).
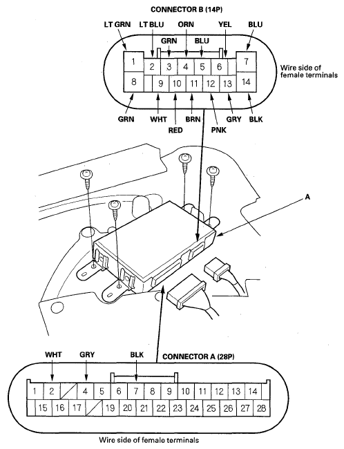
  3. Disconnect front passenger's MPCS unit (A) connectors A (28P) and B (14P).
    Fig 1: Identifying Front Passenger's MPCS Unit Connectors (28P) And (14P)
    G05497075Courtesy of AMERICAN HONDA MOTOR CO., INC.
  4. Inspect the connector and socket terminals to be sure they are all making good contact.
    • If the terminals are bent, loose or corroded, repair them as necessary and recheck the system.
    • If the terminals look OK, go to step 5.
  5. With the connectors still disconnected, make these input tests at the connectors.
    • If any test indicates a problem, find and correct the cause, then recheck the system.
    • If all the input tests prove OK, go to step 6.
    TEST CONDITION AND POSSIBLE CAUSE REFERENCE CHART

    Cavity Wire Test condition Test: Desired result Possible cause if desired result is not obtained
    A4 GRY Driver's under-dash fuse/relay box connector X (39P) and right rear power window switch 14P connector disconnected Check for continuity between the A4 terminal and driver's under-dash fuse/relay box connector X (39P) No. 15 terminal, and A4 terminal and right rear power window switch 14P connector No. 2 terminal:
    There should be continuity.
    • Faulty passenger's under-dash fuse/relay box
    • An open in the wire
    Check for continuity to ground:
    There should be no continuity.
    • Faulty passenger's under-dash fuse/relay box
    • A short to ground in the wire
    B2 LT BLU Front passenger's power window switch in AUTO position Check for continuity between the terminals:
    There should be continuity.
    • Faulty front passenger's power window switch
    • An open in the wire
    A24 BLU
    B2 LT BLU Front passenger's power window switch released Check for continuity between the terminals:
    There should be no continuity.
    • Faulty front passenger's power window switch
    • A short to ground in the wire
    A24 BLU
    B13 GRY Front passenger's power window switch in UP position Check for continuity between the terminals:
    There should be continuity.
    • Faulty front passenger's power window switch
    • An open in the wire
    A24 BLU
    B13 GRY Front passenger's power window switch released Check for continuity between the terminals:
    There should be no continuity.
    • Faulty front passenger's power window switch
    • A short to ground in the wire
    A24 BLU
    B11 BRN Front passenger's power window switch in DOWN position Check for continuity between the terminals:
    There should be continuity.
    • Faulty front passenger's power window switch
    • An open in the wire
    A24 BLU
    B11 BRN Front passenger's power window switch released Check for continuity between the terminals:
    There should no continuity.
    • Faulty front passenger's power window switch
    • A short to ground in the wire
    A24 BLU
    B9 WHT Under all conditions Connect battery power to the A24 terminal and ground the B9 terminal. The LED should come on.
    • Faulty front passenger's power window switch
    • Faulty LED
    • An open in the wire
    A24 BLU
    B10 RED Front passenger's power window switch DOWN Check for continuity between the terminals:
    There should be continuity between the B10 and A22 terminals, and no continuity between the B10 and B12 terminals.
    • Faulty front passenger's power window switch
    • An open in the wire
    • A short to ground in the wire
    B12 PNK
    A22 PUR
    B10 RED Front passenger's power window switch in released Check for continuity between the terminals:
    There should be continuity between the B10 and B12 terminals, and no continuity between the B10 and A22 terminals.
    • Faulty front passenger's power window switch
    • An open in the wire
    • A short to ground in the wire
    B12 PNK
    A22 PUR
    B1 LTGRN Connect B8 and B1 terminals with a jumper wire, and connect the B7 terminal to body ground. Check the front passenger's power window motor operation:
    The motor should run (the window should go down).
    • Blown No. 3 (30A) fuse in the passenger's under-dash fuse/relay box
    • Faulty front passenger's power window motor
    • An open in the wire
    B7 BLU Connect B8 and B7 terminals with a jumper wire, and connect the B1 terminal to body ground. Check the front passenger's power window motor operation:
    The motor should run (the window should go up).
    • Blown No. 3 (30A) fuse in the passenger's under-dash fuse/relay box
    • Faulty front passenger's power window motor
    • An open in the motor
  6. Reconnect the connectors to the front passenger's MPCS unit, and make these input tests at the connectors.
    • If any test indicates a problem, find and correct the cause, then recheck the system.
    • If all the input tests prove OK, the control unit must be faulty; replace the front passenger's MPCS unit and go to step 7.
    TEST CONDITION AND POSSIBLE CAUSE REFERENCE CHART

    Cavity Wire Test condition Test: Desired result Possible cause if desired result is not obtained
    A7 BLK Under all conditions Measure the voltage to ground:
    There should be less than 0.5 V.
    • Poor ground (G506)
    • An open in the wire
    B14 BLK Under all conditions Measure the voltage to ground:
    There should be less than 0.5 V.
    • Poor ground (G506)
    • An open in the wire
    A2 WHT Under all conditions Measure the voltage to ground:
    There should be battery voltage.
    • Blown No. 15 (40A) fuse in the under-hood fuse/relay box
    • Blown No. 7 (10A) fuse in the driver's under-dash fuse/relay box
    • Faulty passenger's under-dash fuse/relay box
    • An open in the wire
    B8 GRN Under all conditions Measure the voltage to ground:
    There should be battery voltage.
    • Blown No. 22 (70A) fuse in the under-hood fuse/relay box
    • Blown No. 3 (30A) fuse in the passenger's under-dash fuse/relay box
    • Faulty passenger's under-dash fuse/relay box
    • An open in the wire
    B3 GRN Ignition switch ON (II) Measure the voltage to ground:
    There should be battery voltage.
    • Faulty front passenger's MPCS unit
    • An open in the wire
    B6 YEL Under all conditions Measure the continuity to ground:
    There should be continuity.
    • Poor ground (G506)
    • Faulty front passenger's MPCS unit
    • An open in the wire
    B5 BLU Ignition switch ON (II) and front passenger's power window motor runs by connecting the B8 and B1 terminals with a jumper wire, and connect the B7 terminal to body ground. Measure the voltage between the B5 and B6 terminals:
    There should be 0-about 5 V-0- about 5 V repeatedly (a digital voltmeter reads about 2.5 V while the window moves).
    • Blown No. 3 (30A) fuse in the passenger's under-dash fuse/relay box
    • Faulty front passenger's MPCS unit
    • Faulty front passenger's power window motor
    • An open in the wire
    B4 ORN Ignition switch ON (II) and front passenger's power window motor runs by connecting the B8 and B1 terminals with a jumper wire, and connect the B7 terminal to body ground. Measure the voltage between the B4 and B6 terminals:
    There should be 0-about 5 V-0- about 5 V repeatedly (a digital voltmeter reads about 2.5 V while the window moves).
    • Blown No. 3 (30A) fuse in the passenger's under-dash fuse/relay box
    • Faulty front passenger's MPCS unit
    • Faulty front passenger's power window motor
    • An open in the wire
  7. Reset the power window control unit (see RESETTING THE POWER WINDOW CONTROL UNIT  ).